norelem 使用 Cookies 以优化设计和持续改进网页。您通过继续使用网页,同意使用 Cookies。在我们的数据保护声明中可以找到有关 Cookies 主题的详细信息。同意

商品描述/产品说明

产品说明材料:高强度的热塑性塑料 / 铝制材料组合。规格:黑色 / 亮色。提示:我们为工业用监视器和触摸屏提供三种不同基架: 

紧凑型:
节省空间,允许旋转范围为 60°。载荷达 10 kg(静态)。带通用安装板。基架适用于固定 Ø30 mm 的圆管或 30 x 30 mm 的方管。通过选配的变径轴套 29040 还可连接其他截面的管材(Ø20、25 mm 的圆管或 20 x 20、25 x 25 mm 的方管)。

带旋转法兰:
防振、可锁定的监视器支架,在 90° 内以 15° 的分度步距进行倾斜度调节。最高承纳 25 kg(静态)重的监视器/操作设备。带通用安装板。基架适用于固定 Ø30 mm 的圆管。通过选配的变径轴套 29042 还可连接其他截面的管材(Ø20、25 mm 的圆管或 20 x 20 mm 的方管)。

带球窝关节:
允许 60° 的转动范围。载荷达 10 kg(静态)。带通用安装板。基架适用于固定 Ø30 mm 的圆管。通过选配的变径轴套 29042 还可连接其他截面的管材(Ø20、25 mm 的圆管或 20 x 20 mm 的方管)。

可选择墙壁支架、型材支架、单杆/双杆悬臂、平板电脑支架、键盘托或 VESA 50/75 或 75/100 的连接板用于各种连接。

特点:
 RoHS
下载此处为收集信息的 PDF:

查找 CAD 数据?请直接在产品列表中查找。
 Datasheet 29180 伸缩悬臂 288 kB

图纸

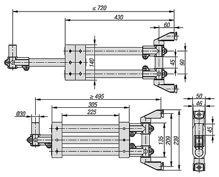
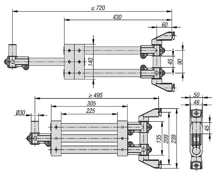
伸缩悬臂

商品选择/筛选

订货号类型 1CAD配件价格订购
29180-3016伸缩悬臂 根据要求
我的 norelemE-Mail密码
购物车
商品数量: 0
总数: 0.00  
点击购物车
欢迎扫描二维码
咨询诺瑞朗官方客服微信
中国
苏ICP备20011289号-1  苏公网安备32058502011222 网页地图 打印 推荐 Top
Copyright © 2025 norelem. 保留所有权利。 电话 +49 71 45/206-44 至 45 · 传真 +49 71 45/206-83