|
|
|
34024-06钢制尖端 用于尾座,尖端高度 75 mm |
返回 |
|
|
产品说明材料:钢制。规格:氮碳共渗。订购须知:成对。提示:适用于尾座 34024-05 的尖端。
通过 C 型和 D 型中的槽,可以测量工件的长度。
D 最小值和 D 最大值指待测工件。附件:尾座 34024-05。特点: 下载此处为收集信息的 PDF:
查找 CAD 数据?请直接在产品列表中查找。
|
用于尾座的钢制尖端,尖端高度 75 mm,B 型,平头 |
更多信息 |
| 订货号 | 类型 | 形状类型 | D min. | D max. | D1 | D2 | H | H1 | H2 | CAD | 配件 | 价格 | 订购 |
|---|
| 34024-06-230 | B | 平头 | 15 | 30 | 12/14 | 30 | 59 | 35 | 14 |  | | 根据要求 | |
|
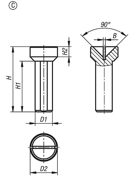
用于尾座的钢制尖端,尖端高度 75 mm,C 型,空心尖端 |
更多信息 |
| 订货号 | 类型 | 形状类型 | B | D min. | D max. | D1 | D2 | H | H1 | H2 | CAD | 配件 | 价格 | 订购 |
|---|
| 34024-06-315 | C | 空心尖端 | 1,5 | 9 | 15 | 12/14 | 19 | 45 | 35 | 7 |  | | 根据要求 | |
|
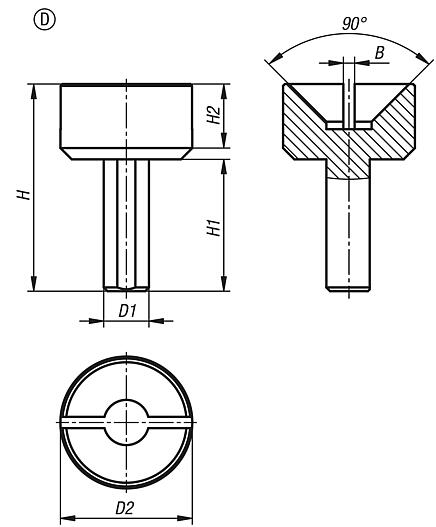
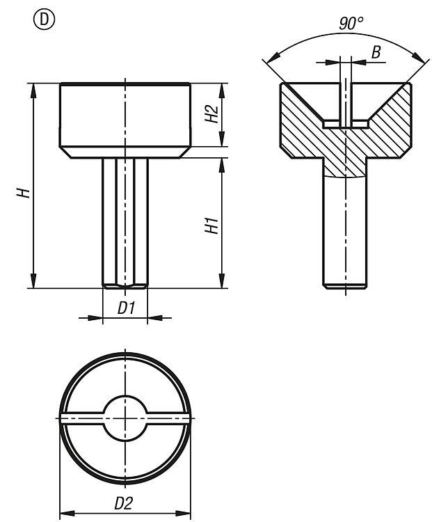
用于尾座的钢制尖端,尖端高度 75 mm,D 型,扁平空心尖端 |
更多信息 |
| 订货号 | 类型 | 形状类型 | B | D min. | D max. | D1 | D2 | H | H1 | H2 | CAD | 配件 | 价格 | 订购 |
|---|
| 34024-06-430 | D | 平头空心尖端 | 3 | 16 | 30 | 12/14 | 35 | 55 | 35 | 17 |  | | 根据要求 | |
|
|
|