norelem 使用 Cookies 以优化设计和持续改进网页。您通过继续使用网页,同意使用 Cookies。在我们的数据保护声明中可以找到有关 Cookies 主题的详细信息。同意
钢制或不锈钢锁紧柱塞,带塑料蘑菇头把手和加长锁紧销 - inch
03089 inch

钢制或不锈钢锁紧柱塞,带塑料蘑菇头把手和加长锁紧销 - inch

返回

商品描述/产品说明

查看/筛选所有商品
产品说明产品描述:分度销用于固定工件防止侧向位置移动。只有将顶销拔出后才能移动到新位置。材料:

钢制规格:
易切削钢螺纹套筒和柱塞顶销。

不锈钢规格:
螺纹套筒 1.4305(符合 AISI 303 标准).
柱塞顶销经硬化处理 .
柱塞顶销未经硬化处理 1.4305(符合 AISI 303 标准).

热塑性塑料蘑菇头把手。

规格:钢制规格:
螺纹套筒经氧化处理。
锁销经过硬化、研磨和氧化处理。

不锈钢规格:
亮色螺纹套筒。
柱塞顶销经硬化并打磨处理,亮色。
柱塞顶销未经硬化并打磨处理,亮色。

黑灰色 RAL7021 热塑性塑料蘑菇头把手。
根据要求:特殊类型。附件:间隔环 03089。
连接嵌入件
用于薄壁部件 03094-10。
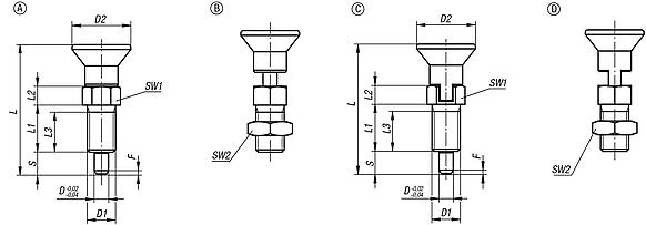
图纸提示:
A型: 不带拔出锁槽, 不带锁紧螺母
B型: 不带拔出锁槽, 带锁紧螺母
下载此处为收集信息的 PDF:

查找 CAD 数据?请直接在产品列表中查找。
 Datasheet 03089 inch 钢制或不锈钢锁紧柱塞,带塑料蘑菇头把手和加长锁紧销 - inch 209 kB

图片(总概述)

钢制或不锈钢锁紧柱塞,带塑料蘑菇头把手和加长锁紧销 - inch

钢制或不锈钢锁紧柱栓,带塑料蘑菇头把手和加长柱塞顶销,无拔出锁槽,无锁紧螺母 - inch

更多信息

图纸

钢制或不锈钢锁紧柱栓,带塑料蘑菇头把手和加长柱塞顶销,无拔出锁槽,无锁紧螺母 - inch

商品概述(精简)

商品选择/筛选
订货号
钢制
硬化处理
订货号
不锈钢
硬化处理
订货号
不锈钢
未硬化处理
类型D

D1D2LL1L2L3行程
S
SW1Fx30°初始位置
弹簧弹力
F1 约 N
终点位置
弹簧弹力
F2 约 N
筛选
03089-21903AJ03089-201903AJ03089-211903AJA31/4-28143312510580,84,512
03089-21004AK03089-201004AK03089-211004AKA45/16-241840,5156136101615
03089-21105AL03089-201105AL03089-211105ALA53/8-242146,5177158131,3516
03089-21206A503089-201206A503089-211206A5A61/2-132555208179141,8618
03089-21308A603089-201308A603089-211308A6A85/8-11337226102312192,31545
03089-21410A703089-201410A703089-211410A7A103/4-10337928122515222,81543
03089-21412AO03089-201412AO03089-211412AOA123/4-16338428142518222,81551
03089-21516A803089-201516A803089-211516A8A161-84010432182824273,22050

钢制或不锈钢锁紧柱塞,带塑料蘑菇头把手、加长锁紧销和锁紧螺母 - inch

更多信息

图纸

钢制或不锈钢锁紧柱塞,带塑料蘑菇头把手、加长锁紧销和锁紧螺母 - inch

商品概述(精简)

商品选择/筛选
订货号
钢制
硬化处理
订货号
不锈钢
硬化处理
订货号
不锈钢
未硬化处理
类型D

D1D2LL1L2L3行程
S
SW1SW2Fx30°初始位置
弹簧弹力
F1 约 N
终点位置
弹簧弹力
F2 约 N
筛选
03089-22903AJ03089-202903AJ03089-212903AJB31/4-28143312510587/160,84,512
03089-22004AK03089-202004AK03089-212004AKB45/16-241840,5156136101/21615
03089-22105AL03089-202105AL03089-212105ALB53/8-242146,5177158139/161,3516
03089-22206A503089-202206A503089-212206A5B61/2-132555208179143/41,8618
03089-22308A603089-202308A603089-212308A6B85/8-113372261023121915/162,31545
03089-22410A703089-202410A703089-212410A7B103/4-10337928122515221-1/82,81543
03089-22412AO03089-202412AO03089-212412AOB123/4-16338428142518221-1/82,81551
03089-22516A803089-202516A803089-212516A8B161-84010432182824271-1/23,22050
我的 norelemE-Mail密码
购物车
商品数量: 0
总数: 0.00  
点击购物车
欢迎扫描二维码
咨询诺瑞朗官方客服微信
中国
苏ICP备20011289号-1  苏公网安备32058502011222 网页地图 打印 推荐 Top
Copyright © 2025 norelem. 保留所有权利。 电话 +49 71 45/206-44 至 45 · 传真 +49 71 45/206-83