|
|
|
03089 inch钢制或不锈钢锁紧柱塞,带塑料蘑菇头把手 - inch |
返回 |
|
|
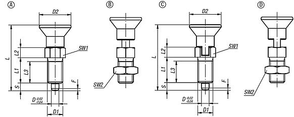
产品说明产品描述:锁紧柱塞用于固定工件防止侧向位置移动。只有将顶销拔出后才能移动到新位置。如果柱塞需要维持在拔出状态较长时间,为避免顶销弹回,可选用C型或D型。材料:规格:钢制规格: 螺纹套筒经氧化处理。 锁销经过硬化、研磨和氧化处理。
不锈钢规格: 亮色螺纹套筒。 柱塞顶销经硬化并打磨处理,亮色。 柱塞顶销未经硬化并打磨处理,亮色。
RAL7021 黑灰色或 RAL3020 交通红色蘑菇头把手。提示:所使用的材料可广泛应用。 对于耐腐蚀性要求极高的情况,建议使用 A4 不锈钢制分度销。 根据要求:特殊类型。图纸提示:A型: 不带拔出锁槽, 不带锁紧螺母 B型: 不带拔出锁槽, 带锁紧螺母 C型: 带拔出锁槽, 不带锁紧螺母 D型: 带拔出锁槽, 带锁紧螺母 下载此处为收集信息的 PDF:
查找 CAD 数据?请直接在产品列表中查找。
|
钢制或不锈钢锁紧柱塞,带塑料蘑菇头把手 - inch |
更多信息 |
| 订货号 | 类型 | 主体 材料 | 金属键 | 主体 表面 | 组件 颜色 | D
| D1 | D2 | L | L1 | L2 | L3 | 行程 S | SW1 | Fx30° | 初始位置 弹簧弹力 F1 约 N | 终点位置 弹簧弹力 F2 约 N | CAD | 配件 | 价格 | 订购 |
|---|
| 03089-1903AJ | A | 钢制 | - | 硬化处理 | 黑灰色 RAL 7021 | 3 | 1/4-28 | 14 | 31,5 | 12 | 5 | 10 | 3,5 | 8 | 0,8 | 4,5 | 10 |  | | 根据要求 | | | 03089-1004AK | A | 钢制 | - | 硬化处理 | 黑灰色 RAL 7021 | 4 | 5/16-24 | 18 | 38,5 | 15 | 6 | 13 | 4 | 10 | 1 | 6 | 12 |  | | 根据要求 | | | 03089-1105AL | A | 钢制 | - | 硬化处理 | 黑灰色 RAL 7021 | 5 | 3/8-24 | 21 | 43,5 | 17 | 7 | 15 | 5 | 13 | 1,3 | 5 | 12 |  | | 根据要求 | | | 03089-1206A5 | A | 钢制 | - | 硬化处理 | 黑灰色 RAL 7021 | 6 | 1/2-13 | 25 | 51,7 | 20 | 8 | 16 | 6 | 14 | 1,8 | 6 | 14 |  | | 根据要求 | | | 03089-1308A6 | A | 钢制 | - | 硬化处理 | 黑灰色 RAL 7021 | 8 | 5/8-11 | 33 | 68 | 26 | 10 | 21 | 8 | 19 | 2,3 | 15 | 35 |  | | 根据要求 | | | 03089-1410A7 | A | 钢制 | - | 硬化处理 | 黑灰色 RAL 7021 | 10 | 3/4-10 | 33 | 74 | 28 | 12 | 23 | 10 | 22 | 2,8 | 15 | 40 |  | | 根据要求 | | | 03089-1412AO | A | 钢制 | - | 硬化处理 | 黑灰色 RAL 7021 | 12 | 3/4-16 | 33 | 78 | 28 | 14 | 25 | 12 | 22 | 2,8 | 15 | 39 |  | | 根据要求 | | | 03089-1516A8 | A | 钢制 | - | 硬化处理 | 黑灰色 RAL 7021 | 16 | 1-8 | 40 | 96 | 32 | 18 | 28 | 16 | 27 | 3,2 | 20 | 46 |  | | 根据要求 | | | 03089-1903AJ84 | A | 钢制 | - | 硬化处理 | 红色 RAL 3020 | 3 | 1/4-28 | 14 | 31,5 | 12 | 5 | 10 | 3,5 | 8 | 0,8 | 4,5 | 10 |  | | 根据要求 | | | 03089-1004AK84 | A | 钢制 | - | 硬化处理 | 红色 RAL 3020 | 4 | 5/16-24 | 18 | 38,5 | 15 | 6 | 13 | 4 | 10 | 1 | 6 | 12 |  | | 根据要求 | | | 03089-1105AL84 | A | 钢制 | - | 硬化处理 | 红色 RAL 3020 | 5 | 3/8-24 | 21 | 43,5 | 17 | 7 | 15 | 5 | 13 | 1,3 | 5 | 12 |  | | 根据要求 | | | 03089-1206A584 | A | 钢制 | - | 硬化处理 | 红色 RAL 3020 | 6 | 1/2-13 | 25 | 51,7 | 20 | 8 | 16 | 6 | 14 | 1,8 | 6 | 14 |  | | 根据要求 | | | 03089-1308A684 | A | 钢制 | - | 硬化处理 | 红色 RAL 3020 | 8 | 5/8-11 | 33 | 68 | 26 | 10 | 21 | 8 | 19 | 2,3 | 15 | 35 |  | | 根据要求 | | | 03089-1410A784 | A | 钢制 | - | 硬化处理 | 红色 RAL 3020 | 10 | 3/4-10 | 33 | 74 | 28 | 12 | 23 | 10 | 22 | 2,8 | 15 | 40 |  | | 根据要求 | | | 03089-1412AO84 | A | 钢制 | - | 硬化处理 | 红色 RAL 3020 | 12 | 3/4-16 | 33 | 78 | 28 | 14 | 25 | 12 | 22 | 2,8 | 15 | 39 |  | | 根据要求 | | | 03089-1516A884 | A | 钢制 | - | 硬化处理 | 红色 RAL 3020 | 16 | 1-8 | 40 | 96 | 32 | 18 | 28 | 16 | 27 | 3,2 | 20 | 46 |  | | 根据要求 | | | 03089-01903AJ | A | 不锈钢 | 1.4034 | 硬化处理 | 黑灰色 RAL 7021 | 3 | 1/4-28 | 14 | 31,5 | 12 | 5 | 10 | 3,5 | 8 | 0,8 | 4,5 | 10 |  | | 根据要求 | | | 03089-01004AK | A | 不锈钢 | 1.4034 | 硬化处理 | 黑灰色 RAL 7021 | 4 | 5/16-24 | 18 | 38,5 | 15 | 6 | 13 | 4 | 10 | 1 | 6 | 12 |  | | 根据要求 | | | 03089-01105AL | A | 不锈钢 | 1.4034 | 硬化处理 | 黑灰色 RAL 7021 | 5 | 3/8-24 | 21 | 43,5 | 17 | 7 | 15 | 5 | 13 | 1,3 | 5 | 12 |  | | 根据要求 | | | 03089-01206A5 | A | 不锈钢 | 1.4034 | 硬化处理 | 黑灰色 RAL 7021 | 6 | 1/2-13 | 25 | 51,7 | 20 | 8 | 16 | 6 | 14 | 1,8 | 6 | 14 |  | | 根据要求 | | | 03089-01308A6 | A | 不锈钢 | 1.4034 | 硬化处理 | 黑灰色 RAL 7021 | 8 | 5/8-11 | 33 | 68 | 26 | 10 | 21 | 8 | 19 | 2,3 | 15 | 35 |  | | 根据要求 | | | 03089-01410A7 | A | 不锈钢 | 1.4034 | 硬化处理 | 黑灰色 RAL 7021 | 10 | 3/4-10 | 33 | 74 | 28 | 12 | 23 | 10 | 22 | 2,8 | 15 | 40 |  | | 根据要求 | | | 03089-01412AO | A | 不锈钢 | 1.4034 | 硬化处理 | 黑灰色 RAL 7021 | 12 | 3/4-16 | 33 | 78 | 28 | 14 | 25 | 12 | 22 | 2,8 | 15 | 39 |  | | 根据要求 | | | 03089-01516A8 | A | 不锈钢 | 1.4034 | 硬化处理 | 黑灰色 RAL 7021 | 16 | 1-8 | 40 | 96 | 32 | 18 | 28 | 16 | 27 | 3,2 | 20 | 46 |  | | 根据要求 | | | 03089-01903AJ84 | A | 不锈钢 | 1.4034 | 硬化处理 | 红色 RAL 3020 | 3 | 1/4-28 | 14 | 31,5 | 12 | 5 | 10 | 3,5 | 8 | 0,8 | 4,5 | 10 |  | | 根据要求 | | | 03089-01004AK84 | A | 不锈钢 | 1.4034 | 硬化处理 | 红色 RAL 3020 | 4 | 5/16-24 | 18 | 38,5 | 15 | 6 | 13 | 4 | 10 | 1 | 6 | 12 |  | | 根据要求 | | | 03089-01105AL84 | A | 不锈钢 | 1.4034 | 硬化处理 | 红色 RAL 3020 | 5 | 3/8-24 | 21 | 43,5 | 17 | 7 | 15 | 5 | 13 | 1,3 | 5 | 12 |  | | 根据要求 | | | 03089-01206A584 | A | 不锈钢 | 1.4034 | 硬化处理 | 红色 RAL 3020 | 6 | 1/2-13 | 25 | 51,7 | 20 | 8 | 16 | 6 | 14 | 1,8 | 6 | 14 |  | | 根据要求 | | | 03089-01308A684 | A | 不锈钢 | 1.4034 | 硬化处理 | 红色 RAL 3020 | 8 | 5/8-11 | 33 | 68 | 26 | 10 | 21 | 8 | 19 | 2,3 | 15 | 35 |  | | 根据要求 | | | 03089-01410A784 | A | 不锈钢 | 1.4034 | 硬化处理 | 红色 RAL 3020 | 10 | 3/4-10 | 33 | 74 | 28 | 12 | 23 | 10 | 22 | 2,8 | 15 | 40 |  | | 根据要求 | | | 03089-01412AO84 | A | 不锈钢 | 1.4034 | 硬化处理 | 红色 RAL 3020 | 12 | 3/4-16 | 33 | 78 | 28 | 14 | 25 | 12 | 22 | 2,8 | 15 | 39 |  | | 根据要求 | | | 03089-01516A884 | A | 不锈钢 | 1.4034 | 硬化处理 | 红色 RAL 3020 | 16 | 1-8 | 40 | 96 | 32 | 18 | 28 | 16 | 27 | 3,2 | 20 | 46 |  | | 根据要求 | | | 03089-11903AJ | A | 不锈钢 | 1.4305 | 未硬化处理 | 黑灰色 RAL 7021 | 3 | 1/4-28 | 14 | 31,5 | 12 | 5 | 10 | 3,5 | 8 | 0,8 | 4,5 | 10 |  | | 根据要求 | | | 03089-11004AK | A | 不锈钢 | 1.4305 | 未硬化处理 | 黑灰色 RAL 7021 | 4 | 5/16-24 | 18 | 38,5 | 15 | 6 | 13 | 4 | 10 | 1 | 6 | 12 |  | | 根据要求 | | | 03089-11105AL | A | 不锈钢 | 1.4305 | 未硬化处理 | 黑灰色 RAL 7021 | 5 | 3/8-24 | 21 | 43,5 | 17 | 7 | 15 | 5 | 13 | 1,3 | 5 | 12 |  | | 根据要求 | | | 03089-11206A5 | A | 不锈钢 | 1.4305 | 未硬化处理 | 黑灰色 RAL 7021 | 6 | 1/2-13 | 25 | 51,7 | 20 | 8 | 16 | 6 | 14 | 1,8 | 6 | 14 |  | | 根据要求 | | | 03089-11308A6 | A | 不锈钢 | 1.4305 | 未硬化处理 | 黑灰色 RAL 7021 | 8 | 5/8-11 | 33 | 68 | 26 | 10 | 21 | 8 | 19 | 2,3 | 15 | 35 |  | | 根据要求 | | | 03089-11410A7 | A | 不锈钢 | 1.4305 | 未硬化处理 | 黑灰色 RAL 7021 | 10 | 3/4-10 | 33 | 74 | 28 | 12 | 23 | 10 | 22 | 2,8 | 15 | 40 |  | | 根据要求 | | | 03089-11412AO | A | 不锈钢 | 1.4305 | 未硬化处理 | 黑灰色 RAL 7021 | 12 | 3/4-16 | 33 | 78 | 28 | 14 | 25 | 12 | 22 | 2,8 | 15 | 39 |  | | 根据要求 | | | 03089-11516A8 | A | 不锈钢 | 1.4305 | 未硬化处理 | 黑灰色 RAL 7021 | 16 | 1-8 | 40 | 96 | 32 | 18 | 28 | 16 | 27 | 3,2 | 20 | 46 |  | | 根据要求 | | | 03089-11903AJ84 | A | 不锈钢 | 1.4305 | 未硬化处理 | 红色 RAL 3020 | 3 | 1/4-28 | 14 | 31,5 | 12 | 5 | 10 | 3,5 | 8 | 0,8 | 4,5 | 10 |  | | 根据要求 | | | 03089-11004AK84 | A | 不锈钢 | 1.4305 | 未硬化处理 | 红色 RAL 3020 | 4 | 5/16-24 | 18 | 38,5 | 15 | 6 | 13 | 4 | 10 | 1 | 6 | 12 |  | | 根据要求 | | | 03089-11105AL84 | A | 不锈钢 | 1.4305 | 未硬化处理 | 红色 RAL 3020 | 5 | 3/8-24 | 21 | 43,5 | 17 | 7 | 15 | 5 | 13 | 1,3 | 5 | 12 |  | | 根据要求 | | | 03089-11206A584 | A | 不锈钢 | 1.4305 | 未硬化处理 | 红色 RAL 3020 | 6 | 1/2-13 | 25 | 51,7 | 20 | 8 | 16 | 6 | 14 | 1,8 | 6 | 14 |  | | 根据要求 | | | 03089-11308A684 | A | 不锈钢 | 1.4305 | 未硬化处理 | 红色 RAL 3020 | 8 | 5/8-11 | 33 | 68 | 26 | 10 | 21 | 8 | 19 | 2,3 | 15 | 35 |  | | 根据要求 | | | 03089-11410A784 | A | 不锈钢 | 1.4305 | 未硬化处理 | 红色 RAL 3020 | 10 | 3/4-10 | 33 | 74 | 28 | 12 | 23 | 10 | 22 | 2,8 | 15 | 40 |  | | 根据要求 | | | 03089-11412AO84 | A | 不锈钢 | 1.4305 | 未硬化处理 | 红色 RAL 3020 | 12 | 3/4-16 | 33 | 78 | 28 | 14 | 25 | 12 | 22 | 2,8 | 15 | 39 |  | | 根据要求 | | | 03089-11516A884 | A | 不锈钢 | 1.4305 | 未硬化处理 | 红色 RAL 3020 | 16 | 1-8 | 40 | 96 | 32 | 18 | 28 | 16 | 27 | 3,2 | 20 | 46 |  | | 根据要求 | |
|
钢制或不锈钢锁紧柱塞,带塑料蘑菇头把手和锁紧螺母 - inch |
更多信息 |
| 订货号 | 类型 | 主体 材料 | 金属键 | 主体 表面 | 组件 颜色 | D
| D1 | D2 | L | L1 | L2 | L3 | 行程 S | SW1 | SW2 | Fx30° | 初始位置 弹簧弹力 F1 约 N | 终点位置 弹簧弹力 F2 约 N | CAD | 配件 | 价格 | 订购 |
|---|
| 03089-2903AJ | B | 钢制 | - | 硬化处理 | 黑灰色 RAL 7021 | 3 | 1/4-28 | 14 | 31,5 | 12 | 5 | 10 | 3,5 | 8 | 7/16 | 0,8 | 4,5 | 10 |  | | 根据要求 | | | 03089-2004AK | B | 钢制 | - | 硬化处理 | 黑灰色 RAL 7021 | 4 | 5/16-24 | 18 | 38,5 | 15 | 6 | 13 | 4 | 10 | 1/2 | 1 | 6 | 12 |  | | 根据要求 | | | 03089-2105AL | B | 钢制 | - | 硬化处理 | 黑灰色 RAL 7021 | 5 | 3/8-24 | 21 | 43,5 | 17 | 7 | 15 | 5 | 13 | 9/16 | 1,3 | 5 | 12 |  | | 根据要求 | | | 03089-2206A5 | B | 钢制 | - | 硬化处理 | 黑灰色 RAL 7021 | 6 | 1/2-13 | 25 | 51,7 | 20 | 8 | 16 | 6 | 14 | 3/4 | 1,8 | 6 | 14 |  | | 根据要求 | | | 03089-2308A6 | B | 钢制 | - | 硬化处理 | 黑灰色 RAL 7021 | 8 | 5/8-11 | 33 | 68 | 26 | 10 | 21 | 8 | 19 | 15/16 | 2,3 | 15 | 35 |  | | 根据要求 | | | 03089-2410A7 | B | 钢制 | - | 硬化处理 | 黑灰色 RAL 7021 | 10 | 3/4-10 | 33 | 74 | 28 | 12 | 23 | 10 | 22 | 1-1/8 | 2,8 | 15 | 40 |  | | 根据要求 | | | 03089-2412AO | B | 钢制 | - | 硬化处理 | 黑灰色 RAL 7021 | 12 | 3/4-16 | 33 | 78 | 28 | 14 | 25 | 12 | 22 | 1-1/8 | 2,8 | 15 | 39 |  | | 根据要求 | | | 03089-2516A8 | B | 钢制 | - | 硬化处理 | 黑灰色 RAL 7021 | 16 | 1-8 | 40 | 96 | 32 | 18 | 28 | 16 | 27 | 1-1/2 | 3,2 | 20 | 46 |  | | 根据要求 | | | 03089-2903AJ84 | B | 钢制 | - | 硬化处理 | 红色 RAL 3020 | 3 | 1/4-28 | 14 | 31,5 | 12 | 5 | 10 | 3,5 | 8 | 7/16 | 0,8 | 4,5 | 10 |  | | 根据要求 | | | 03089-2004AK84 | B | 钢制 | - | 硬化处理 | 红色 RAL 3020 | 4 | 5/16-24 | 18 | 38,5 | 15 | 6 | 13 | 4 | 10 | 1/2 | 1 | 6 | 12 |  | | 根据要求 | | | 03089-2105AL84 | B | 钢制 | - | 硬化处理 | 红色 RAL 3020 | 5 | 3/8-24 | 21 | 43,5 | 17 | 7 | 15 | 5 | 13 | 9/16 | 1,3 | 5 | 12 |  | | 根据要求 | | | 03089-2206A584 | B | 钢制 | - | 硬化处理 | 红色 RAL 3020 | 6 | 1/2-13 | 25 | 51,7 | 20 | 8 | 16 | 6 | 14 | 3/4 | 1,8 | 6 | 14 |  | | 根据要求 | | | 03089-2308A684 | B | 钢制 | - | 硬化处理 | 红色 RAL 3020 | 8 | 5/8-11 | 33 | 68 | 26 | 10 | 21 | 8 | 19 | 15/16 | 2,3 | 15 | 35 |  | | 根据要求 | | | 03089-2410A784 | B | 钢制 | - | 硬化处理 | 红色 RAL 3020 | 10 | 3/4-10 | 33 | 74 | 28 | 12 | 23 | 10 | 22 | 1-1/8 | 2,8 | 15 | 40 |  | | 根据要求 | | | 03089-2412AO84 | B | 钢制 | - | 硬化处理 | 红色 RAL 3020 | 12 | 3/4-16 | 33 | 78 | 28 | 14 | 25 | 12 | 22 | 1-1/8 | 2,8 | 15 | 39 |  | | 根据要求 | | | 03089-2516A884 | B | 钢制 | - | 硬化处理 | 红色 RAL 3020 | 16 | 1-8 | 40 | 96 | 32 | 18 | 28 | 16 | 27 | 1-1/2 | 3,2 | 20 | 46 |  | | 根据要求 | | | 03089-02903AJ | B | 不锈钢 | 1.4034 | 硬化处理 | 黑灰色 RAL 7021 | 3 | 1/4-28 | 14 | 31,5 | 12 | 5 | 10 | 3,5 | 8 | 7/16 | 0,8 | 4,5 | 10 |  | | 根据要求 | | | 03089-02004AK | B | 不锈钢 | 1.4034 | 硬化处理 | 黑灰色 RAL 7021 | 4 | 5/16-24 | 18 | 38,5 | 15 | 6 | 13 | 4 | 10 | 1/2 | 1 | 6 | 12 |  | | 根据要求 | | | 03089-02105AL | B | 不锈钢 | 1.4034 | 硬化处理 | 黑灰色 RAL 7021 | 5 | 3/8-24 | 21 | 43,5 | 17 | 7 | 15 | 5 | 13 | 9/16 | 1,3 | 5 | 12 |  | | 根据要求 | | | 03089-02206A5 | B | 不锈钢 | 1.4034 | 硬化处理 | 黑灰色 RAL 7021 | 6 | 1/2-13 | 25 | 51,7 | 20 | 8 | 16 | 6 | 14 | 3/4 | 1,8 | 6 | 14 |  | | 根据要求 | | | 03089-02308A6 | B | 不锈钢 | 1.4034 | 硬化处理 | 黑灰色 RAL 7021 | 8 | 5/8-11 | 33 | 68 | 26 | 10 | 21 | 8 | 19 | 15/16 | 2,3 | 15 | 35 |  | | 根据要求 | | | 03089-02410A7 | B | 不锈钢 | 1.4034 | 硬化处理 | 黑灰色 RAL 7021 | 10 | 3/4-10 | 33 | 74 | 28 | 12 | 23 | 10 | 22 | 1-1/8 | 2,8 | 15 | 40 |  | | 根据要求 | | | 03089-02412AO | B | 不锈钢 | 1.4034 | 硬化处理 | 黑灰色 RAL 7021 | 12 | 3/4-16 | 33 | 78 | 28 | 14 | 25 | 12 | 22 | 1-1/8 | 2,8 | 15 | 39 |  | | 根据要求 | | | 03089-02516A8 | B | 不锈钢 | 1.4034 | 硬化处理 | 黑灰色 RAL 7021 | 16 | 1-8 | 40 | 96 | 32 | 18 | 28 | 16 | 27 | 1-1/2 | 3,2 | 20 | 46 |  | | 根据要求 | | | 03089-02903AJ84 | B | 不锈钢 | 1.4034 | 硬化处理 | 红色 RAL 3020 | 3 | 1/4-28 | 14 | 31,5 | 12 | 5 | 10 | 3,5 | 8 | 7/16 | 0,8 | 4,5 | 10 |  | | 根据要求 | | | 03089-02004AK84 | B | 不锈钢 | 1.4034 | 硬化处理 | 红色 RAL 3020 | 4 | 5/16-24 | 18 | 38,5 | 15 | 6 | 13 | 4 | 10 | 1/2 | 1 | 6 | 12 |  | | 根据要求 | | | 03089-02105AL84 | B | 不锈钢 | 1.4034 | 硬化处理 | 红色 RAL 3020 | 5 | 3/8-24 | 21 | 43,5 | 17 | 7 | 15 | 5 | 13 | 9/16 | 1,3 | 5 | 12 |  | | 根据要求 | | | 03089-02206A584 | B | 不锈钢 | 1.4034 | 硬化处理 | 红色 RAL 3020 | 6 | 1/2-13 | 25 | 51,7 | 20 | 8 | 16 | 6 | 14 | 3/4 | 1,8 | 6 | 14 |  | | 根据要求 | | | 03089-02308A684 | B | 不锈钢 | 1.4034 | 硬化处理 | 红色 RAL 3020 | 8 | 5/8-11 | 33 | 68 | 26 | 10 | 21 | 8 | 19 | 15/16 | 2,3 | 15 | 35 |  | | 根据要求 | | | 03089-02410A784 | B | 不锈钢 | 1.4034 | 硬化处理 | 红色 RAL 3020 | 10 | 3/4-10 | 33 | 74 | 28 | 12 | 23 | 10 | 22 | 1-1/8 | 2,8 | 15 | 40 |  | | 根据要求 | | | 03089-02412AO84 | B | 不锈钢 | 1.4034 | 硬化处理 | 红色 RAL 3020 | 12 | 3/4-16 | 33 | 78 | 28 | 14 | 25 | 12 | 22 | 1-1/8 | 2,8 | 15 | 39 |  | | 根据要求 | | | 03089-02516A884 | B | 不锈钢 | 1.4034 | 硬化处理 | 红色 RAL 3020 | 16 | 1-8 | 40 | 96 | 32 | 18 | 28 | 16 | 27 | 1-1/2 | 3,2 | 20 | 46 |  | | 根据要求 | | | 03089-12903AJ | B | 不锈钢 | 1.4305 | 未硬化处理 | 黑灰色 RAL 7021 | 3 | 1/4-28 | 14 | 31,5 | 12 | 5 | 10 | 3,5 | 8 | 7/16 | 0,8 | 4,5 | 10 |  | | 根据要求 | | | 03089-12004AK | B | 不锈钢 | 1.4305 | 未硬化处理 | 黑灰色 RAL 7021 | 4 | 5/16-24 | 18 | 38,5 | 15 | 6 | 13 | 4 | 10 | 1/2 | 1 | 6 | 12 |  | | 根据要求 | | | 03089-12105AL | B | 不锈钢 | 1.4305 | 未硬化处理 | 黑灰色 RAL 7021 | 5 | 3/8-24 | 21 | 43,5 | 17 | 7 | 15 | 5 | 13 | 9/16 | 1,3 | 5 | 12 |  | | 根据要求 | | | 03089-12206A5 | B | 不锈钢 | 1.4305 | 未硬化处理 | 黑灰色 RAL 7021 | 6 | 1/2-13 | 25 | 51,7 | 20 | 8 | 16 | 6 | 14 | 3/4 | 1,8 | 6 | 14 |  | | 根据要求 | | | 03089-12308A6 | B | 不锈钢 | 1.4305 | 未硬化处理 | 黑灰色 RAL 7021 | 8 | 5/8-11 | 33 | 68 | 26 | 10 | 21 | 8 | 19 | 15/16 | 2,3 | 15 | 35 |  | | 根据要求 | | | 03089-12410A7 | B | 不锈钢 | 1.4305 | 未硬化处理 | 黑灰色 RAL 7021 | 10 | 3/4-10 | 33 | 74 | 28 | 12 | 23 | 10 | 22 | 1-1/8 | 2,8 | 15 | 40 |  | | 根据要求 | | | 03089-12412AO | B | 不锈钢 | 1.4305 | 未硬化处理 | 黑灰色 RAL 7021 | 12 | 3/4-16 | 33 | 78 | 28 | 14 | 25 | 12 | 22 | 1-1/8 | 2,8 | 15 | 39 |  | | 根据要求 | | | 03089-12516A8 | B | 不锈钢 | 1.4305 | 未硬化处理 | 黑灰色 RAL 7021 | 16 | 1-8 | 40 | 96 | 32 | 18 | 28 | 16 | 27 | 1-1/2 | 3,2 | 20 | 46 |  | | 根据要求 | | | 03089-12903AJ84 | B | 不锈钢 | 1.4305 | 未硬化处理 | 红色 RAL 3020 | 3 | 1/4-28 | 14 | 31,5 | 12 | 5 | 10 | 3,5 | 8 | 7/16 | 0,8 | 4,5 | 10 |  | | 根据要求 | | | 03089-12004AK84 | B | 不锈钢 | 1.4305 | 未硬化处理 | 红色 RAL 3020 | 4 | 5/16-24 | 18 | 38,5 | 15 | 6 | 13 | 4 | 10 | 1/2 | 1 | 6 | 12 |  | | 根据要求 | | | 03089-12105AL84 | B | 不锈钢 | 1.4305 | 未硬化处理 | 红色 RAL 3020 | 5 | 3/8-24 | 21 | 43,5 | 17 | 7 | 15 | 5 | 13 | 9/16 | 1,3 | 5 | 12 |  | | 根据要求 | | | 03089-12206A584 | B | 不锈钢 | 1.4305 | 未硬化处理 | 红色 RAL 3020 | 6 | 1/2-13 | 25 | 51,7 | 20 | 8 | 16 | 6 | 14 | 3/4 | 1,8 | 6 | 14 |  | | 根据要求 | | | 03089-12308A684 | B | 不锈钢 | 1.4305 | 未硬化处理 | 红色 RAL 3020 | 8 | 5/8-11 | 33 | 68 | 26 | 10 | 21 | 8 | 19 | 15/16 | 2,3 | 15 | 35 |  | | 根据要求 | | | 03089-12410A784 | B | 不锈钢 | 1.4305 | 未硬化处理 | 红色 RAL 3020 | 10 | 3/4-10 | 33 | 74 | 28 | 12 | 23 | 10 | 22 | 1-1/8 | 2,8 | 15 | 40 |  | | 根据要求 | | | 03089-12412AO84 | B | 不锈钢 | 1.4305 | 未硬化处理 | 红色 RAL 3020 | 12 | 3/4-16 | 33 | 78 | 28 | 14 | 25 | 12 | 22 | 1-1/8 | 2,8 | 15 | 39 |  | | 根据要求 | | | 03089-12516A884 | B | 不锈钢 | 1.4305 | 未硬化处理 | 红色 RAL 3020 | 16 | 1-8 | 40 | 96 | 32 | 18 | 28 | 16 | 27 | 1-1/2 | 3,2 | 20 | 46 |  | | 根据要求 | |
|
钢制或不锈钢锁紧柱塞,带塑料蘑菇头把手和拔出锁槽 - inch |
更多信息 |
| 订货号 | 类型 | 主体 材料 | 金属键 | 主体 表面 | 组件 颜色 | D
| D1 | D2 | L | L1 | L2 | L3 | 行程 S | SW1 | Fx30° | 初始位置 弹簧弹力 F1 约 N | 终点位置 弹簧弹力 F2 约 N | CAD | 配件 | 价格 | 订购 |
|---|
| 03089-3903AJ | C | 钢制 | - | 硬化处理 | 黑灰色 RAL 7021 | 3 | 1/4-28 | 14 | 31,5 | 12 | 5 | 10 | 3,5 | 8 | 0,8 | 4,5 | 10 |  | | 根据要求 | | | 03089-3004AK | C | 钢制 | - | 硬化处理 | 黑灰色 RAL 7021 | 4 | 5/16-24 | 18 | 38,5 | 15 | 6 | 13 | 4 | 10 | 1 | 6 | 12 |  | | 根据要求 | | | 03089-3105AL | C | 钢制 | - | 硬化处理 | 黑灰色 RAL 7021 | 5 | 3/8-24 | 21 | 43,5 | 17 | 7 | 15 | 5 | 13 | 1,3 | 5 | 12 |  | | 根据要求 | | | 03089-3206A5 | C | 钢制 | - | 硬化处理 | 黑灰色 RAL 7021 | 6 | 1/2-13 | 25 | 51,7 | 20 | 8 | 16 | 6 | 14 | 1,8 | 6 | 14 |  | | 根据要求 | | | 03089-3308A6 | C | 钢制 | - | 硬化处理 | 黑灰色 RAL 7021 | 8 | 5/8-11 | 33 | 68 | 26 | 10 | 21 | 8 | 19 | 2,3 | 15 | 35 |  | | 根据要求 | | | 03089-3410A7 | C | 钢制 | - | 硬化处理 | 黑灰色 RAL 7021 | 10 | 3/4-10 | 33 | 74 | 28 | 12 | 23 | 10 | 22 | 2,8 | 15 | 40 |  | | 根据要求 | | | 03089-3412AO | C | 钢制 | - | 硬化处理 | 黑灰色 RAL 7021 | 12 | 3/4-16 | 33 | 78 | 28 | 14 | 25 | 12 | 22 | 2,8 | 15 | 39 |  | | 根据要求 | | | 03089-3516A8 | C | 钢制 | - | 硬化处理 | 黑灰色 RAL 7021 | 16 | 1-8 | 40 | 96 | 32 | 18 | 28 | 16 | 27 | 3,2 | 20 | 46 |  | | 根据要求 | | | 03089-3903AJ84 | C | 钢制 | - | 硬化处理 | 红色 RAL 3020 | 3 | 1/4-28 | 14 | 31,5 | 12 | 5 | 10 | 3,5 | 8 | 0,8 | 4,5 | 10 |  | | 根据要求 | | | 03089-3004AK84 | C | 钢制 | - | 硬化处理 | 红色 RAL 3020 | 4 | 5/16-24 | 18 | 38,5 | 15 | 6 | 13 | 4 | 10 | 1 | 6 | 12 |  | | 根据要求 | | | 03089-3105AL84 | C | 钢制 | - | 硬化处理 | 红色 RAL 3020 | 5 | 3/8-24 | 21 | 43,5 | 17 | 7 | 15 | 5 | 13 | 1,3 | 5 | 12 |  | | 根据要求 | | | 03089-3206A584 | C | 钢制 | - | 硬化处理 | 红色 RAL 3020 | 6 | 1/2-13 | 25 | 51,7 | 20 | 8 | 16 | 6 | 14 | 1,8 | 6 | 14 |  | | 根据要求 | | | 03089-3308A684 | C | 钢制 | - | 硬化处理 | 红色 RAL 3020 | 8 | 5/8-11 | 33 | 68 | 26 | 10 | 21 | 8 | 19 | 2,3 | 15 | 35 |  | | 根据要求 | | | 03089-3410A784 | C | 钢制 | - | 硬化处理 | 红色 RAL 3020 | 10 | 3/4-10 | 33 | 74 | 28 | 12 | 23 | 10 | 22 | 2,8 | 15 | 40 |  | | 根据要求 | | | 03089-3412AO84 | C | 钢制 | - | 硬化处理 | 红色 RAL 3020 | 12 | 3/4-16 | 33 | 78 | 28 | 14 | 25 | 12 | 22 | 2,8 | 15 | 39 |  | | 根据要求 | | | 03089-3516A884 | C | 钢制 | - | 硬化处理 | 红色 RAL 3020 | 16 | 1-8 | 40 | 96 | 32 | 18 | 28 | 16 | 27 | 3,2 | 20 | 46 |  | | 根据要求 | | | 03089-03903AJ | C | 不锈钢 | 1.4034 | 硬化处理 | 黑灰色 RAL 7021 | 3 | 1/4-28 | 14 | 31,5 | 12 | 5 | 10 | 3,5 | 8 | 0,8 | 4,5 | 10 |  | | 根据要求 | | | 03089-03004AK | C | 不锈钢 | 1.4034 | 硬化处理 | 黑灰色 RAL 7021 | 4 | 5/16-24 | 18 | 38,5 | 15 | 6 | 13 | 4 | 10 | 1 | 6 | 12 |  | | 根据要求 | | | 03089-03105AL | C | 不锈钢 | 1.4034 | 硬化处理 | 黑灰色 RAL 7021 | 5 | 3/8-24 | 21 | 43,5 | 17 | 7 | 15 | 5 | 13 | 1,3 | 5 | 12 |  | | 根据要求 | | | 03089-03206A5 | C | 不锈钢 | 1.4034 | 硬化处理 | 黑灰色 RAL 7021 | 6 | 1/2-13 | 25 | 51,7 | 20 | 8 | 16 | 6 | 14 | 1,8 | 6 | 14 |  | | 根据要求 | | | 03089-03308A6 | C | 不锈钢 | 1.4034 | 硬化处理 | 黑灰色 RAL 7021 | 8 | 5/8-11 | 33 | 68 | 26 | 10 | 21 | 8 | 19 | 2,3 | 15 | 35 |  | | 根据要求 | | | 03089-03410A7 | C | 不锈钢 | 1.4034 | 硬化处理 | 黑灰色 RAL 7021 | 10 | 3/4-10 | 33 | 74 | 28 | 12 | 23 | 10 | 22 | 2,8 | 15 | 40 |  | | 根据要求 | | | 03089-03412AO | C | 不锈钢 | 1.4034 | 硬化处理 | 黑灰色 RAL 7021 | 12 | 3/4-16 | 33 | 78 | 28 | 14 | 25 | 12 | 22 | 2,8 | 15 | 39 |  | | 根据要求 | | | 03089-03516A8 | C | 不锈钢 | 1.4034 | 硬化处理 | 黑灰色 RAL 7021 | 16 | 1-8 | 40 | 96 | 32 | 18 | 28 | 16 | 27 | 3,2 | 20 | 46 |  | | 根据要求 | | | 03089-03903AJ84 | C | 不锈钢 | 1.4034 | 硬化处理 | 红色 RAL 3020 | 3 | 1/4-28 | 14 | 31,5 | 12 | 5 | 10 | 3,5 | 8 | 0,8 | 4,5 | 10 |  | | 根据要求 | | | 03089-03004AK84 | C | 不锈钢 | 1.4034 | 硬化处理 | 红色 RAL 3020 | 4 | 5/16-24 | 18 | 38,5 | 15 | 6 | 13 | 4 | 10 | 1 | 6 | 12 |  | | 根据要求 | | | 03089-03105AL84 | C | 不锈钢 | 1.4034 | 硬化处理 | 红色 RAL 3020 | 5 | 3/8-24 | 21 | 43,5 | 17 | 7 | 15 | 5 | 13 | 1,3 | 5 | 12 |  | | 根据要求 | | | 03089-03206A584 | C | 不锈钢 | 1.4034 | 硬化处理 | 红色 RAL 3020 | 6 | 1/2-13 | 25 | 51,7 | 20 | 8 | 16 | 6 | 14 | 1,8 | 6 | 14 |  | | 根据要求 | | | 03089-03308A684 | C | 不锈钢 | 1.4034 | 硬化处理 | 红色 RAL 3020 | 8 | 5/8-11 | 33 | 68 | 26 | 10 | 21 | 8 | 19 | 2,3 | 15 | 35 |  | | 根据要求 | | | 03089-03410A784 | C | 不锈钢 | 1.4034 | 硬化处理 | 红色 RAL 3020 | 10 | 3/4-10 | 33 | 74 | 28 | 12 | 23 | 10 | 22 | 2,8 | 15 | 40 |  | | 根据要求 | | | 03089-03412AO84 | C | 不锈钢 | 1.4034 | 硬化处理 | 红色 RAL 3020 | 12 | 3/4-16 | 33 | 78 | 28 | 14 | 25 | 12 | 22 | 2,8 | 15 | 39 |  | | 根据要求 | | | 03089-03516A884 | C | 不锈钢 | 1.4034 | 硬化处理 | 红色 RAL 3020 | 16 | 1-8 | 40 | 96 | 32 | 18 | 28 | 16 | 27 | 3,2 | 20 | 46 |  | | 根据要求 | | | 03089-13903AJ | C | 不锈钢 | 1.4305 | 未硬化处理 | 黑灰色 RAL 7021 | 3 | 1/4-28 | 14 | 31,5 | 12 | 5 | 10 | 3,5 | 8 | 0,8 | 4,5 | 10 |  | | 根据要求 | | | 03089-13004AK | C | 不锈钢 | 1.4305 | 未硬化处理 | 黑灰色 RAL 7021 | 4 | 5/16-24 | 18 | 38,5 | 15 | 6 | 13 | 4 | 10 | 1 | 6 | 12 |  | | 根据要求 | | | 03089-13105AL | C | 不锈钢 | 1.4305 | 未硬化处理 | 黑灰色 RAL 7021 | 5 | 3/8-24 | 21 | 43,5 | 17 | 7 | 15 | 5 | 13 | 1,3 | 5 | 12 |  | | 根据要求 | | | 03089-13206A5 | C | 不锈钢 | 1.4305 | 未硬化处理 | 黑灰色 RAL 7021 | 6 | 1/2-13 | 25 | 51,7 | 20 | 8 | 16 | 6 | 14 | 1,8 | 6 | 14 |  | | 根据要求 | | | 03089-13308A6 | C | 不锈钢 | 1.4305 | 未硬化处理 | 黑灰色 RAL 7021 | 8 | 5/8-11 | 33 | 68 | 26 | 10 | 21 | 8 | 19 | 2,3 | 15 | 35 |  | | 根据要求 | | | 03089-13410A7 | C | 不锈钢 | 1.4305 | 未硬化处理 | 黑灰色 RAL 7021 | 10 | 3/4-10 | 33 | 74 | 28 | 12 | 23 | 10 | 22 | 2,8 | 15 | 40 |  | | 根据要求 | | | 03089-13412AO | C | 不锈钢 | 1.4305 | 未硬化处理 | 黑灰色 RAL 7021 | 12 | 3/4-16 | 33 | 78 | 28 | 14 | 25 | 12 | 22 | 2,8 | 15 | 39 |  | | 根据要求 | | | 03089-13516A8 | C | 不锈钢 | 1.4305 | 未硬化处理 | 黑灰色 RAL 7021 | 16 | 1-8 | 40 | 96 | 32 | 18 | 28 | 16 | 27 | 3,2 | 20 | 46 |  | | 根据要求 | | | 03089-13903AJ84 | C | 不锈钢 | 1.4305 | 未硬化处理 | 红色 RAL 3020 | 3 | 1/4-28 | 14 | 31,5 | 12 | 5 | 10 | 3,5 | 8 | 0,8 | 4,5 | 10 |  | | 根据要求 | | | 03089-13004AK84 | C | 不锈钢 | 1.4305 | 未硬化处理 | 红色 RAL 3020 | 4 | 5/16-24 | 18 | 38,5 | 15 | 6 | 13 | 4 | 10 | 1 | 6 | 12 |  | | 根据要求 | | | 03089-13105AL84 | C | 不锈钢 | 1.4305 | 未硬化处理 | 红色 RAL 3020 | 5 | 3/8-24 | 21 | 43,5 | 17 | 7 | 15 | 5 | 13 | 1,3 | 5 | 12 |  | | 根据要求 | | | 03089-13206A584 | C | 不锈钢 | 1.4305 | 未硬化处理 | 红色 RAL 3020 | 6 | 1/2-13 | 25 | 51,7 | 20 | 8 | 16 | 6 | 14 | 1,8 | 6 | 14 |  | | 根据要求 | | | 03089-13308A684 | C | 不锈钢 | 1.4305 | 未硬化处理 | 红色 RAL 3020 | 8 | 5/8-11 | 33 | 68 | 26 | 10 | 21 | 8 | 19 | 2,3 | 15 | 35 |  | | 根据要求 | | | 03089-13410A784 | C | 不锈钢 | 1.4305 | 未硬化处理 | 红色 RAL 3020 | 10 | 3/4-10 | 33 | 74 | 28 | 12 | 23 | 10 | 22 | 2,8 | 15 | 40 |  | | 根据要求 | | | 03089-13412AO84 | C | 不锈钢 | 1.4305 | 未硬化处理 | 红色 RAL 3020 | 12 | 3/4-16 | 33 | 78 | 28 | 14 | 25 | 12 | 22 | 2,8 | 15 | 39 |  | | 根据要求 | | | 03089-13516A884 | C | 不锈钢 | 1.4305 | 未硬化处理 | 红色 RAL 3020 | 16 | 1-8 | 40 | 96 | 32 | 18 | 28 | 16 | 27 | 3,2 | 20 | 46 |  | | 根据要求 | |
|
钢制或不锈钢锁紧柱塞,带塑料蘑菇头把手、拔出锁槽和锁紧螺母 - inch |
更多信息 |
| 订货号 | 类型 | 主体 材料 | 金属键 | 主体 表面 | 组件 颜色 | D
| D1 | D2 | L | L1 | L2 | L3 | 行程 S | SW1 | SW2 | Fx30° | 初始位置 弹簧弹力 F1 约 N | 终点位置 弹簧弹力 F2 约 N | CAD | 配件 | 价格 | 订购 |
|---|
| 03089-4903AJ | D | 钢制 | - | 硬化处理 | 黑灰色 RAL 7021 | 3 | 1/4-28 | 14 | 31,5 | 12 | 5 | 10 | 3,5 | 8 | 7/16 | 0,8 | 4,5 | 10 |  | | 根据要求 | | | 03089-4004AK | D | 钢制 | - | 硬化处理 | 黑灰色 RAL 7021 | 4 | 5/16-24 | 18 | 38,5 | 15 | 6 | 13 | 4 | 10 | 1/2 | 1 | 6 | 12 |  | | 根据要求 | | | 03089-4105AL | D | 钢制 | - | 硬化处理 | 黑灰色 RAL 7021 | 5 | 3/8-24 | 21 | 43,5 | 17 | 7 | 15 | 5 | 13 | 9/16 | 1,3 | 5 | 12 |  | | 根据要求 | | | 03089-4206A5 | D | 钢制 | - | 硬化处理 | 黑灰色 RAL 7021 | 6 | 1/2-13 | 25 | 51,7 | 20 | 8 | 16 | 6 | 14 | 3/4 | 1,8 | 6 | 14 |  | | 根据要求 | | | 03089-4308A6 | D | 钢制 | - | 硬化处理 | 黑灰色 RAL 7021 | 8 | 5/8-11 | 33 | 68 | 26 | 10 | 21 | 8 | 19 | 15/16 | 2,3 | 15 | 35 |  | | 根据要求 | | | 03089-4410A7 | D | 钢制 | - | 硬化处理 | 黑灰色 RAL 7021 | 10 | 3/4-10 | 33 | 74 | 28 | 12 | 23 | 10 | 22 | 1-1/8 | 2,8 | 15 | 40 |  | | 根据要求 | | | 03089-4412AO | D | 钢制 | - | 硬化处理 | 黑灰色 RAL 7021 | 12 | 3/4-16 | 33 | 78 | 28 | 14 | 25 | 12 | 22 | 1-1/8 | 2,8 | 15 | 39 |  | | 根据要求 | | | 03089-4516A8 | D | 钢制 | - | 硬化处理 | 黑灰色 RAL 7021 | 16 | 1-8 | 40 | 96 | 32 | 18 | 28 | 16 | 27 | 1-1/2 | 3,2 | 20 | 46 |  | | 根据要求 | | | 03089-4903AJ84 | D | 钢制 | - | 硬化处理 | 红色 RAL 3020 | 3 | 1/4-28 | 14 | 31,5 | 12 | 5 | 10 | 3,5 | 8 | 7/16 | 0,8 | 4,5 | 10 |  | | 根据要求 | | | 03089-4004AK84 | D | 钢制 | - | 硬化处理 | 红色 RAL 3020 | 4 | 5/16-24 | 18 | 38,5 | 15 | 6 | 13 | 4 | 10 | 1/2 | 1 | 6 | 12 |  | | 根据要求 | | | 03089-4105AL84 | D | 钢制 | - | 硬化处理 | 红色 RAL 3020 | 5 | 3/8-24 | 21 | 43,5 | 17 | 7 | 15 | 5 | 13 | 9/16 | 1,3 | 5 | 12 |  | | 根据要求 | | | 03089-4206A584 | D | 钢制 | - | 硬化处理 | 红色 RAL 3020 | 6 | 1/2-13 | 25 | 51,7 | 20 | 8 | 16 | 6 | 14 | 3/4 | 1,8 | 6 | 14 |  | | 根据要求 | | | 03089-4308A684 | D | 钢制 | - | 硬化处理 | 红色 RAL 3020 | 8 | 5/8-11 | 33 | 68 | 26 | 10 | 21 | 8 | 19 | 15/16 | 2,3 | 15 | 35 |  | | 根据要求 | | | 03089-4410A784 | D | 钢制 | - | 硬化处理 | 红色 RAL 3020 | 10 | 3/4-10 | 33 | 74 | 28 | 12 | 23 | 10 | 22 | 1-1/8 | 2,8 | 15 | 40 |  | | 根据要求 | | | 03089-4412AO84 | D | 钢制 | - | 硬化处理 | 红色 RAL 3020 | 12 | 3/4-16 | 33 | 78 | 28 | 14 | 25 | 12 | 22 | 1-1/8 | 2,8 | 15 | 39 |  | | 根据要求 | | | 03089-4516A884 | D | 钢制 | - | 硬化处理 | 红色 RAL 3020 | 16 | 1-8 | 40 | 96 | 32 | 18 | 28 | 16 | 27 | 1-1/2 | 3,2 | 20 | 46 |  | | 根据要求 | | | 03089-04903AJ | D | 不锈钢 | 1.4034 | 硬化处理 | 黑灰色 RAL 7021 | 3 | 1/4-28 | 14 | 31,5 | 12 | 5 | 10 | 3,5 | 8 | 7/16 | 0,8 | 4,5 | 10 |  | | 根据要求 | | | 03089-04004AK | D | 不锈钢 | 1.4034 | 硬化处理 | 黑灰色 RAL 7021 | 4 | 5/16-24 | 18 | 38,5 | 15 | 6 | 13 | 4 | 10 | 1/2 | 1 | 6 | 12 |  | | 根据要求 | | | 03089-04105AL | D | 不锈钢 | 1.4034 | 硬化处理 | 黑灰色 RAL 7021 | 5 | 3/8-24 | 21 | 43,5 | 17 | 7 | 15 | 5 | 13 | 9/16 | 1,3 | 5 | 12 |  | | 根据要求 | | | 03089-04206A5 | D | 不锈钢 | 1.4034 | 硬化处理 | 黑灰色 RAL 7021 | 6 | 1/2-13 | 25 | 51,7 | 20 | 8 | 16 | 6 | 14 | 3/4 | 1,8 | 6 | 14 |  | | 根据要求 | | | 03089-04308A6 | D | 不锈钢 | 1.4034 | 硬化处理 | 黑灰色 RAL 7021 | 8 | 5/8-11 | 33 | 68 | 26 | 10 | 21 | 8 | 19 | 15/16 | 2,3 | 15 | 35 |  | | 根据要求 | | | 03089-04410A7 | D | 不锈钢 | 1.4034 | 硬化处理 | 黑灰色 RAL 7021 | 10 | 3/4-10 | 33 | 74 | 28 | 12 | 23 | 10 | 22 | 1-1/8 | 2,8 | 15 | 40 |  | | 根据要求 | | | 03089-04412AO | D | 不锈钢 | 1.4034 | 硬化处理 | 黑灰色 RAL 7021 | 12 | 3/4-16 | 33 | 78 | 28 | 14 | 25 | 12 | 22 | 1-1/8 | 2,8 | 15 | 39 |  | | 根据要求 | | | 03089-04516A8 | D | 不锈钢 | 1.4034 | 硬化处理 | 黑灰色 RAL 7021 | 16 | 1-8 | 40 | 96 | 32 | 18 | 28 | 16 | 27 | 1-1/2 | 3,2 | 20 | 46 |  | | 根据要求 | | | 03089-04903AJ84 | D | 不锈钢 | 1.4034 | 硬化处理 | 红色 RAL 3020 | 3 | 1/4-28 | 14 | 31,5 | 12 | 5 | 10 | 3,5 | 8 | 7/16 | 0,8 | 4,5 | 10 |  | | 根据要求 | | | 03089-04004AK84 | D | 不锈钢 | 1.4034 | 硬化处理 | 红色 RAL 3020 | 4 | 5/16-24 | 18 | 38,5 | 15 | 6 | 13 | 4 | 10 | 1/2 | 1 | 6 | 12 |  | | 根据要求 | | | 03089-04105AL84 | D | 不锈钢 | 1.4034 | 硬化处理 | 红色 RAL 3020 | 5 | 3/8-24 | 21 | 43,5 | 17 | 7 | 15 | 5 | 13 | 9/16 | 1,3 | 5 | 12 |  | | 根据要求 | | | 03089-04206A584 | D | 不锈钢 | 1.4034 | 硬化处理 | 红色 RAL 3020 | 6 | 1/2-13 | 25 | 51,7 | 20 | 8 | 16 | 6 | 14 | 3/4 | 1,8 | 6 | 14 |  | | 根据要求 | | | 03089-04308A684 | D | 不锈钢 | 1.4034 | 硬化处理 | 红色 RAL 3020 | 8 | 5/8-11 | 33 | 68 | 26 | 10 | 21 | 8 | 19 | 15/16 | 2,3 | 15 | 35 |  | | 根据要求 | | | 03089-04410A784 | D | 不锈钢 | 1.4034 | 硬化处理 | 红色 RAL 3020 | 10 | 3/4-10 | 33 | 74 | 28 | 12 | 23 | 10 | 22 | 1-1/8 | 2,8 | 15 | 40 |  | | 根据要求 | | | 03089-04412AO84 | D | 不锈钢 | 1.4034 | 硬化处理 | 红色 RAL 3020 | 12 | 3/4-16 | 33 | 78 | 28 | 14 | 25 | 12 | 22 | 1-1/8 | 2,8 | 15 | 39 |  | | 根据要求 | | | 03089-04516A884 | D | 不锈钢 | 1.4034 | 硬化处理 | 红色 RAL 3020 | 16 | 1-8 | 40 | 96 | 32 | 18 | 28 | 16 | 27 | 1-1/2 | 3,2 | 20 | 46 |  | | 根据要求 | | | 03089-14903AJ | D | 不锈钢 | 1.4305 | 未硬化处理 | 黑灰色 RAL 7021 | 3 | 1/4-28 | 14 | 31,5 | 12 | 5 | 10 | 3,5 | 8 | 7/16 | 0,8 | 4,5 | 10 |  | | 根据要求 | | | 03089-14004AK | D | 不锈钢 | 1.4305 | 未硬化处理 | 黑灰色 RAL 7021 | 4 | 5/16-24 | 18 | 38,5 | 15 | 6 | 13 | 4 | 10 | 1/2 | 1 | 6 | 12 |  | | 根据要求 | | | 03089-14105AL | D | 不锈钢 | 1.4305 | 未硬化处理 | 黑灰色 RAL 7021 | 5 | 3/8-24 | 21 | 43,5 | 17 | 7 | 15 | 5 | 13 | 9/16 | 1,3 | 5 | 12 |  | | 根据要求 | | | 03089-14206A5 | D | 不锈钢 | 1.4305 | 未硬化处理 | 黑灰色 RAL 7021 | 6 | 1/2-13 | 25 | 51,7 | 20 | 8 | 16 | 6 | 14 | 3/4 | 1,8 | 6 | 14 |  | | 根据要求 | | | 03089-14308A6 | D | 不锈钢 | 1.4305 | 未硬化处理 | 黑灰色 RAL 7021 | 8 | 5/8-11 | 33 | 68 | 26 | 10 | 21 | 8 | 19 | 15/16 | 2,3 | 15 | 35 |  | | 根据要求 | | | 03089-14410A7 | D | 不锈钢 | 1.4305 | 未硬化处理 | 黑灰色 RAL 7021 | 10 | 3/4-10 | 33 | 74 | 28 | 12 | 23 | 10 | 22 | 1-1/8 | 2,8 | 15 | 40 |  | | 根据要求 | | | 03089-14412AO | D | 不锈钢 | 1.4305 | 未硬化处理 | 黑灰色 RAL 7021 | 12 | 3/4-16 | 33 | 78 | 28 | 14 | 25 | 12 | 22 | 1-1/8 | 2,8 | 15 | 39 |  | | 根据要求 | | | 03089-14516A8 | D | 不锈钢 | 1.4305 | 未硬化处理 | 黑灰色 RAL 7021 | 16 | 1-8 | 40 | 96 | 32 | 18 | 28 | 16 | 27 | 1-1/2 | 3,2 | 20 | 46 |  | | 根据要求 | | | 03089-14903AJ84 | D | 不锈钢 | 1.4305 | 未硬化处理 | 红色 RAL 3020 | 3 | 1/4-28 | 14 | 31,5 | 12 | 5 | 10 | 3,5 | 8 | 7/16 | 0,8 | 4,5 | 10 |  | | 根据要求 | | | 03089-14004AK84 | D | 不锈钢 | 1.4305 | 未硬化处理 | 红色 RAL 3020 | 4 | 5/16-24 | 18 | 38,5 | 15 | 6 | 13 | 4 | 10 | 1/2 | 1 | 6 | 12 |  | | 根据要求 | | | 03089-14105AL84 | D | 不锈钢 | 1.4305 | 未硬化处理 | 红色 RAL 3020 | 5 | 3/8-24 | 21 | 43,5 | 17 | 7 | 15 | 5 | 13 | 9/16 | 1,3 | 5 | 12 |  | | 根据要求 | | | 03089-14206A584 | D | 不锈钢 | 1.4305 | 未硬化处理 | 红色 RAL 3020 | 6 | 1/2-13 | 25 | 51,7 | 20 | 8 | 16 | 6 | 14 | 3/4 | 1,8 | 6 | 14 |  | | 根据要求 | | | 03089-14308A684 | D | 不锈钢 | 1.4305 | 未硬化处理 | 红色 RAL 3020 | 8 | 5/8-11 | 33 | 68 | 26 | 10 | 21 | 8 | 19 | 15/16 | 2,3 | 15 | 35 |  | | 根据要求 | | | 03089-14410A784 | D | 不锈钢 | 1.4305 | 未硬化处理 | 红色 RAL 3020 | 10 | 3/4-10 | 33 | 74 | 28 | 12 | 23 | 10 | 22 | 1-1/8 | 2,8 | 15 | 40 |  | | 根据要求 | | | 03089-14412AO84 | D | 不锈钢 | 1.4305 | 未硬化处理 | 红色 RAL 3020 | 12 | 3/4-16 | 33 | 78 | 28 | 14 | 25 | 12 | 22 | 1-1/8 | 2,8 | 15 | 39 |  | | 根据要求 | | | 03089-14516A884 | D | 不锈钢 | 1.4305 | 未硬化处理 | 红色 RAL 3020 | 16 | 1-8 | 40 | 96 | 32 | 18 | 28 | 16 | 27 | 1-1/2 | 3,2 | 20 | 46 |  | | 根据要求 | |
|
|
|