norelem 使用 Cookies 以优化设计和持续改进网页。您通过继续使用网页,同意使用 Cookies。在我们的数据保护声明中可以找到有关 Cookies 主题的详细信息。同意

商品描述/产品说明

产品说明材料:

不锈钢脚杯和丝杠 1.4301.
橡胶衬层 (NBR) 85 邵氏硬度 +/-5,经 FDA 检测。
橡胶密封件,硅胶,经 FDA 检测。

规格:脚杯经高光泽抛光处理。
丝杠亮色。
黑色橡胶衬层。
蓝色橡胶密封件。
提示:认证符合 3-A 卫生标准。

螺距上高质量表面和双层密封涂层以及机床脚杯的主轴接头上的特制密封件,可防止污物的附着并将清洁时间减至最低。

机座交付时贴有 3-A 标志。
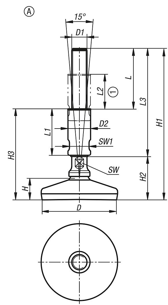
应用:此机座特别适用于食品工业、酿酒厂、乳制品制造业、饮料以及药品制造业中应用的机床、设备和装置。附件:螺纹盖 27791-10。图纸提示:
1) 调节范围
特点:
不锈钢
下载此处为收集信息的 PDF:

查找 CAD 数据?请直接在产品列表中查找。
 Datasheet 27791-05 inch Hygienic DESIGN 调节脚杯 - inch 298 kB

图纸

Hygienic DESIGN 调节脚杯 - inch

商品选择/筛选

订货号类型D

D1D2HH1H2H3LL1L2L3SW 英寸SW1 英寸负载能力
max. kN
(静态负载)
CAD配件价格订购
27791-05-1050A5X140A501/2-13242018848-7960451401/23/45 根据要求
27791-05-1050A5X190A501/2-1324202384813410485701901/23/45 根据要求
27791-05-1050A6X140A505/8-11242018848-7960451401/23/45 根据要求
27791-05-1050A6X190A505/8-1124202384813410485701901/23/45 根据要求
27791-05-1050A7X140A503/4-10302018848-7960451405/815 根据要求
27791-05-1050A7X190A503/4-1030202384813410485701905/815 根据要求
27791-05-1060A5X140A601/2-132423191511127960451401/23/410 根据要求
27791-05-1060A5X190A601/2-1324232415113710485701901/23/410 根据要求
27791-05-1060A6X140A605/8-112423191511127960451401/23/410 根据要求
27791-05-1060A6X190A605/8-1124232415113710485701901/23/410 根据要求
27791-05-1060A7X140A603/4-103023191511127960451405/8110 根据要求
27791-05-1060A7X190A603/4-1030232415113710485701905/8110 根据要求
27791-05-1080A6X140A805/8-112425193531147960451401/23/420 根据要求
27791-05-1080A6X190A805/8-1124252435313910485701901/23/420 根据要求
27791-05-1080A7X140A803/4-103025193531147960451405/8120 根据要求
27791-05-1080A7X190A803/4-1030252435313910485701905/8120 根据要求
27791-05-1080A8X140A801-83525193531147960451407/81 1/420 根据要求
27791-05-1080A8X190A801-835252435313910485701907/81 1/420 根据要求
27791-05-1100A6X140A1005/8-112428196561177960451401/23/425 根据要求
27791-05-1100A6X190A1005/8-1124282465614210485701901/23/425 根据要求
27791-05-1100A7X140A1003/4-103028196561177960451405/8125 根据要求
27791-05-1100A7X190A1003/4-1030282465614210485701905/8125 根据要求
27791-05-1100A8X140A1001-83528196561177960451407/81 1/425 根据要求
27791-05-1100A8X190A1001-835282465614210485701907/81 1/425 根据要求
27791-05-1100AFX135A1001 1/4-74228191561177460451351 1/81 1/225 根据要求
27791-05-1100AFX185A1001 1/4-74228241561429985701851 1/81 1/225 根据要求
27791-05-1120A5X140A1201/2-132432200601217960451401/23/410 根据要求
27791-05-1120A5X190A1201/2-1324322506014610485701901/23/410 根据要求
27791-05-1120A6X140A1205/8-112432200601217960451401/23/430 根据要求
27791-05-1120A6X190A1205/8-1124322506014610485701901/23/430 根据要求
27791-05-1120A7X140A1203/4-103032200601217960451405/8130 根据要求
27791-05-1120A7X190A1203/4-1030322506014610485701905/8130 根据要求
27791-05-1120A8X140A1201-83532200601217960451407/81 1/430 根据要求
27791-05-1120A8X190A1201-835322506014610485701907/81 1/430 根据要求
27791-05-1120AFX135A1201 1/4-74232195601217460451351 1/81 1/230 根据要求
27791-05-1120AFX185A1201 1/4-74232245601469985651851 1/81 1/230 根据要求
27791-05-1120AFX235A1201 1/4-7423229560-9985652351 1/81 1/230 根据要求
27791-05-1150A7X140A1503/4-10303520363-7960451405/8135 根据要求
27791-05-1150A7X190A1503/4-10303525363-10485701905/8135 根据要求
27791-05-1150A8X140A1501-8353520363-7960451407/81 1/435 根据要求
27791-05-1150A8X190A1501-8353525363-10485701907/81 1/435 根据要求
27791-05-1150AFX135A1501 1/4-7423519863-7460401351 1/81 1/235 根据要求
27791-05-1150AFX185A1501 1/4-7423524863-9985651851 1/81 1/235 根据要求
27791-05-1150AFX235A1501 1/4-7423529863-9985652351 1/81 1/235 根据要求
我的 norelemE-Mail密码
购物车
商品数量: 0
总数: 0.00  
点击购物车
欢迎扫描二维码
咨询诺瑞朗官方客服微信
中国
苏ICP备20011289号-1  苏公网安备32058502011222 网页地图 打印 推荐 Top
Copyright © 2025 norelem. 保留所有权利。 电话 +49 71 45/206-44 至 45 · 传真 +49 71 45/206-83