norelem 使用 Cookies 以优化设计和持续改进网页。您通过继续使用网页,同意使用 Cookies。在我们的数据保护声明中可以找到有关 Cookies 主题的详细信息。同意

商品描述/产品说明

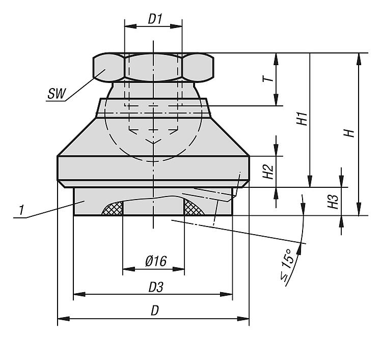
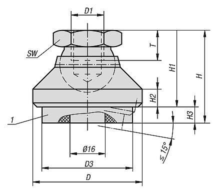
产品说明材料:钢规格:
调质钢制脚杯,易切削钢制球体元件。
不锈钢规格:
不锈钢脚杯和球体元件。

PUR 弹性体制减振板 (Sylomer V12)。
规格:钢规格:
经渗碳硬化、发蓝处理的球体元件。经发蓝处理的脚杯。
不锈钢规格:
亮色。

灰色减振板,已粘接,防滑。
使用范围为 -30 °C 至 +70 °C。
提示:

表格中说明的负载能力是一个建议,应在该永久静态负荷之内使用减振元件。
该静态负荷对应于 0.4N/mm² 的表面压力,在该压力下材料可实现最佳减振性能。在此要考虑到,动态应力会导致额外的负载,最高 0.6N/mm² 的压力。
减振板吸收振动力并防止万向脚杯滑脱。
万向脚杯(不带减振装置)参见 07144。

图纸提示:
1) 减振板
特点:
RoHS
下载此处为收集信息的 PDF:

查找 CAD 数据?请直接在产品列表中查找。
 Datasheet 27806 inch 带减振功能的万向脚杯 - inch 209 kB

图纸

带减振功能的万向脚杯 - inch

商品选择/筛选

订货号

主体
材料
D

D1D3HH1H2H3
(压力 0 / 0.4 / 0.6 N/mm²)
TSW负载能力
max. kN
CAD配件价格订购
27806-1A4钢制323/8-1630,5302258 / 6.8 / 5.910170,212 根据要求
27806-1A5钢制401/2-1330,5342668 / 6.8 / 5.912190,212 根据要求
27806-1A6钢制505/8-1140,5403278 / 6.8 / 5.914240,435 根据要求
27806-1A7钢制603/4-1050504288 / 6.8 / 5.918300,705 根据要求
27806-3A4不锈钢323/8-1630,5302258 / 6.8 / 5.910170,212 根据要求
27806-3A5不锈钢401/2-1330,5342668 / 6.8 / 5.912190,212 根据要求
27806-3A6不锈钢505/8-1140,5403278 / 6.8 / 5.914240,435 根据要求
27806-3A7不锈钢603/4-1050504288 / 6.8 / 5.918300,705 根据要求
我的 norelemE-Mail密码
购物车
商品数量: 0
总数: 0.00  
点击购物车
欢迎扫描二维码
咨询诺瑞朗官方客服微信
中国
苏ICP备20011289号-1  苏公网安备32058502011222 网页地图 打印 推荐 Top
Copyright © 2025 norelem. 保留所有权利。 电话 +49 71 45/206-44 至 45 · 传真 +49 71 45/206-83