norelem 使用 Cookies 以优化设计和持续改进网页。您通过继续使用网页,同意使用 Cookies。在我们的数据保护声明中可以找到有关 Cookies 主题的详细信息。同意

商品描述/产品说明

查看/筛选所有商品
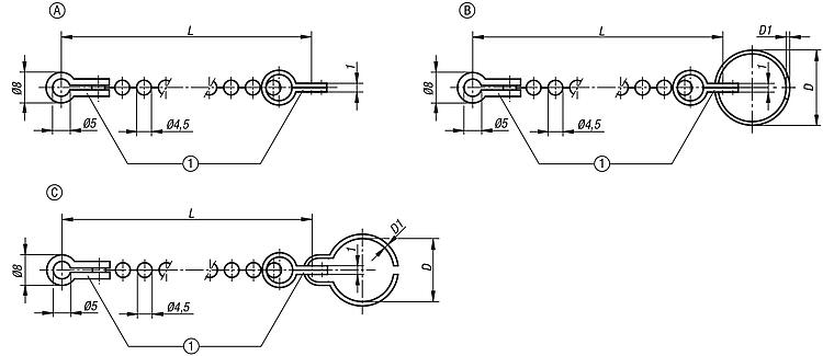
产品说明材料:

A:黄铜或不锈钢链条。
B:黄铜或不锈钢链条,不锈钢钥匙圈。
C:黄铜链条,不锈钢 1.4310 环。

提示:没有标注长度的情况下默认提供1000 mm。图纸提示:
1) 相同部件

A 型: 球链,单
B 型:球链,带钥匙圈
C 型:带环球链
特点:
RoHS
下载此处为收集信息的 PDF:

查找 CAD 数据?请直接在产品列表中查找。
 Datasheet 96390 球链 213 kB

图片(总概述)

球链

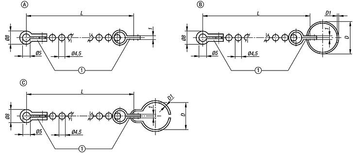
球链,A 型,单

更多信息

图纸

球链,A 型,单

商品概述(精简)

商品选择/筛选
订货号
黄铜
订货号
不锈钢
形状类型类型L

筛选
96390-00X96390-01XA160/320/500/1000

球链,B 型,带钥匙圈

更多信息

图纸

球链,B 型,带钥匙圈

商品概述(精简)

商品选择/筛选
订货号
黄铜
订货号
不锈钢
形状类型类型L

D

D1

筛选
96390-015X96390-115X带钥匙圈B160/320/500/1000151
96390-019X96390-119X带钥匙圈B160/320/500/1000191
96390-023X96390-123X带钥匙圈B160/320/500/1000231,2
96390-028X96390-128X带钥匙圈B160/320/500/1000281,7

C 型球链,带环球链

更多信息

图纸

C 型球链,带环球链

商品概述(精简)

商品选择/筛选
订货号类型

主体
材料
形状类型LD

D1

筛选
96390-09XC黄铜带环球链160/320/500/100091
96390-12XC黄铜带环球链160/320/500/1000121,2
96390-14XC黄铜带环球链160/320/500/1000141,6
96390-16XC黄铜带环球链160/320/500/1000161,6
96390-20XC黄铜带环球链160/320/500/1000202
96390-24XC黄铜带环球链160/320/500/1000242
96390-30XC黄铜带环球链160/320/500/1000302,6
96390-36XC黄铜带环球链160/320/500/1000362,6
我的 norelemE-Mail密码
购物车
商品数量: 0
总数: 0.00  
点击购物车
欢迎扫描二维码
咨询诺瑞朗官方客服微信
中国
苏ICP备20011289号-1  苏公网安备32058502011222 网页地图 打印 推荐 Top
Copyright © 2025 norelem. 保留所有权利。 电话 +49 71 45/206-44 至 45 · 传真 +49 71 45/206-83