norelem 使用 Cookies 以优化设计和持续改进网页。您通过继续使用网页,同意使用 Cookies。在我们的数据保护声明中可以找到有关 Cookies 主题的详细信息。同意
自调整支撑垫,可调节 带 O 型圈和可更换的嵌入件
02007

自调整支撑垫,可调节 带 O 型圈和可更换的嵌入件

返回

商品描述/产品说明

查看/筛选所有商品
产品说明材料:主体:调质钢。
顶珠:防锈和防酸型钢制。
嵌入件:
C、F、M 型为工具钢。
K 型为 POM。
E 型为不锈钢。
O 型为不锈钢,金刚石表面。
P 型为不锈钢,聚氨酯表面。
规格:主体经调质和和黑色氧化处理。
顶珠经硬化处理,亮色。
嵌入件:
C、F 型经硬化和黑色氧化处理。
M 型为齿面硬质合金,经黑色氧化处理。
K 型白色。
E 型经硬化处理,亮色。
O 型金刚石表面,类似 100 磨削粒度。
P 型配聚氨酯表面,硬度达到 60° 邵氏硬度。
提示:自调整支撑垫用于对未经加工和经加工的工件进行支撑和夹紧。
此外,自调整支撑垫在夹具制造中充当挡块、垫块、压紧块使用。
轻轻按压圆柱头螺栓便可以将顶珠从外壳中取出。
顶珠防转动保险。
优点:由于嵌入件是可以进行更换的,故此实现了较高的经济性。
内置的 O 型圈可防止脏污和异物颗粒的进入,确保稳定可靠。
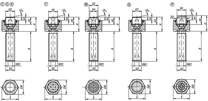
图纸提示:
C 型:平头钢制插件,平面
E 型:平头不锈钢插件,平面
F 型:平头夹持件,齿面
K 型:平头 POM 插件,平面
M 型:平头夹持件,硬质合金齿面
O 型:不锈钢插件,金刚石表面
P 型:不锈钢插件,聚氨酯表面
下载此处为收集信息的 PDF:

查找 CAD 数据?请直接在产品列表中查找。
 Datasheet 02007 自调整支撑垫,可调节 带 O 型圈和可更换的嵌入件 240 kB

图片(总概述)

自调整支撑垫,可调节 带 O 型圈和可更换的嵌入件

自适应球头端面,可调节,带 O 型圈和可更换嵌入件,C 型,钢制平头嵌入件,平整

更多信息

图纸

自适应球头端面,可调节,带 O 型圈和可更换嵌入件,C 型,钢制平头嵌入件,平整

商品选择/筛选

订货号类型BD2D3HH1H2ESWSW1顶珠 ø负载能力
max. kN
(静态负载)
钢制嵌入件
订货号
CAD配件价格订购
02007-110X015C15M10101741019,6173131907113-10108  根据要求
02007-110X030C30M10101741019,6173131907113-10108  根据要求
02007-110X050C50M10101741019,6173131907113-10108  根据要求
02007-112X020C20M12121941021,9195153007113-12108  根据要求
02007-112X040C40M12121941021,9195153007113-12108  根据要求
02007-112X060C60M12121941021,9195153007113-12108  根据要求
02007-116X025C25M16162341027,7246205007113-16108  根据要求
02007-116X050C50M16162341027,7246205007113-16108  根据要求
02007-116X080C80M16162341027,7246205007113-16108  根据要求
02007-120X030C30M20202441034,6308238507113-20108  根据要求
02007-120X060C60M20202441034,6308238507113-20108  根据要求
02007-120X100C100M20202441034,6308238507113-20108  根据要求
02007-124X040C40M24253041041,636102812107113-25108  根据要求
02007-124X100C100M24253041041,636102812107113-25108  根据要求

自适应球头端面,可调节,带 O 型圈和可更换嵌入件,E 型,不锈钢平头嵌入件,平整

更多信息

图纸

自适应球头端面,可调节,带 O 型圈和可更换嵌入件,E 型,不锈钢平头嵌入件,平整

商品选择/筛选

订货号类型BD2D3HH1H2ESWSW1顶珠 ø负载能力
max. kN
(静态负载)
不锈钢嵌入件

订货号
CAD配件价格订购
02007-210X015E15M10101741019,6173131907113-10102  根据要求
02007-210X030E30M10101741019,6173131907113-10102  根据要求
02007-210X050E50M10101741019,6173131907113-10102  根据要求
02007-212X020E20M12121941021,9195153007113-12102  根据要求
02007-212X040E40M12121941021,9195153007113-12102  根据要求
02007-212X060E60M12121941021,9195153007113-12102  根据要求
02007-216X025E25M16162341027,7246205007113-16102  根据要求
02007-216X050E50M16162341027,7246205007113-16102  根据要求
02007-216X080E80M16162341027,7246205007113-16102  根据要求
02007-220X030E30M20202441034,6308238507113-20102  根据要求
02007-220X060E60M20202441034,6308238507113-20102  根据要求
02007-220X100E100M20202441034,6308238507113-20102  根据要求
02007-224X040E40M24253041041,636102812107113-25102  根据要求
02007-224X100E100M24253041041,636102812107113-25102  根据要求

自适应球头端面,可调节,带 O 型圈和可更换嵌入件,F 型,平头夹持件,齿面

更多信息

图纸

自适应球头端面,可调节,带 O 型圈和可更换嵌入件,F 型,平头夹持件,齿面

商品选择/筛选

订货号类型BD2D3HH1H2ESWSW1顶珠 ø负载能力
max. kN
(静态负载)
夹持件
订货号
CAD配件价格订购
02007-310X015F15M10101741019,6173131907113-1010  根据要求
02007-310X030F30M10101741019,6173131907113-1010  根据要求
02007-310X050F50M10101741019,6173131907113-1010  根据要求
02007-312X020F20M12121941021,9195153007113-1210  根据要求
02007-312X040F40M12121941021,9195153007113-1210  根据要求
02007-312X060F60M12121941021,9195153007113-1210  根据要求
02007-316X025F25M16162341027,7246205007113-1610  根据要求
02007-316X050F50M16162341027,7246205007113-1610  根据要求
02007-316X080F80M16162341027,7246205007113-1610  根据要求
02007-320X030F30M20202441034,6308238507113-2010  根据要求
02007-320X060F60M20202441034,6308238507113-2010  根据要求
02007-320X100F100M20202441034,6308238507113-2010  根据要求
02007-324X040F40M24253041041,636102812107113-2510  根据要求
02007-324X100F100M24253041041,636102812107113-2510  根据要求

自适应球头端面,可调节,带 O 型圈和可更换嵌入件,K 型,POM 平头嵌入件,平整

更多信息

图纸

自适应球头端面,可调节,带 O 型圈和可更换嵌入件,K 型,POM 平头嵌入件,平整

商品选择/筛选

订货号类型BD2D3HH1H2ESWSW1顶珠 ø负载能力
max. kN
(静态负载)
POM 插件的订货号CAD配件价格订购
02007-710X015K15M10101741019,617313407113-10109  根据要求
02007-710X030K30M10101741019,617313407113-10109  根据要求
02007-710X050K50M10101741019,617313407113-10109  根据要求
02007-712X020K20M12121941021,919515707113-12109  根据要求
02007-712X040K40M12121941021,919515707113-12109  根据要求
02007-712X060K60M12121941021,919515707113-12109  根据要求
02007-716X025K25M16162341027,7246201407113-16109  根据要求
02007-716X050K50M16162341027,7246201407113-16109  根据要求
02007-716X080K80M16162341027,7246201407113-16109  根据要求
02007-720X030K30M20202441034,6308232707113-20109  根据要求
02007-720X060K60M20202441034,6308232707113-20109  根据要求
02007-720X100K100M20202441034,6308232707113-20109  根据要求
02007-724X040K40M24253041041,63610284707113-25109  根据要求
02007-724X100K100M24253041041,63610284707113-25109  根据要求

自适应球头端面,可调节,带 O 型圈和可更换嵌入件,M 型,平头夹持件,硬质合金齿面

更多信息

图纸

自适应球头端面,可调节,带 O 型圈和可更换嵌入件,M 型,平头夹持件,硬质合金齿面

商品选择/筛选

订货号类型BD2D3D4HH1H2ESWSW1顶珠 ø负载能力
max. kN
(静态负载)
夹持件
订货号
CAD配件价格订购
02007-910X015M15M10107,91741019,6173131907113-10107  根据要求
02007-910X030M30M10107,91741019,6173131907113-10107  根据要求
02007-910X050M50M10107,91741019,6173131907113-10107  根据要求
02007-912X020M20M12129,51941021,9195153007113-12107  根据要求
02007-912X040M40M12129,51941021,9195153007113-12107  根据要求
02007-912X060M60M12129,51941021,9195153007113-12107  根据要求
02007-916X025M25M161612,72341027,7246205007113-16107  根据要求
02007-916X050M50M161612,72341027,7246205007113-16107  根据要求
02007-916X080M80M161612,72341027,7246205007113-16107  根据要求
02007-920X030M30M202015,92441034,6308238507113-20107  根据要求
02007-920X060M60M202015,92441034,6308238507113-20107  根据要求
02007-920X100M100M202015,92441034,6308238507113-20107  根据要求
02007-924X040M40M2425193041041,636102812107113-25107  根据要求
02007-924X100M100M2425193041041,636102812107113-25107  根据要求

自适应球头端面,可调节,带 O 型圈和可更换嵌入件,O 型,不锈钢嵌入件,
金刚石表面

更多信息

图纸

自适应球头端面,可调节,带 O 型圈和可更换嵌入件,O 型,不锈钢嵌入件,
金刚石表面

商品选择/筛选

订货号类型BD2D3HH1H2ESWSW1顶珠 ø负载能力
max. kN
(静态负载)
不锈钢嵌入件
订货号
金刚石表面
CAD配件价格订购
02007-510X015O15M10101741019,6173131907113-10105  根据要求
02007-510X030O30M10101741019,6173131907113-10105  根据要求
02007-510X050O50M10101741019,6173131907113-10105  根据要求
02007-512X020O20M12121941021,9195153007113-12105  根据要求
02007-512X040O40M12121941021,9195153007113-12105  根据要求
02007-512X060O60M12121941021,9195153007113-12105  根据要求
02007-516X025O25M16162341027,7246205007113-16105  根据要求
02007-516X050O50M16162341027,7246205007113-16105  根据要求
02007-516X080O80M16162341027,7246205007113-16105  根据要求
02007-520X030O30M20202441034,6308238507113-20105  根据要求
02007-520X060O60M20202441034,6308238507113-20105  根据要求
02007-520X100O100M20202441034,6308238507113-20105  根据要求
02007-524X040O40M24253041041,636102812107113-25105  根据要求
02007-524X100O100M24253041041,636102812107113-25105  根据要求

自适应球头端面,可调节,带 O 型圈和可更换嵌入件,P 型,不锈钢嵌入件,聚氨酯表面

更多信息

图纸

自适应球头端面,可调节,带 O 型圈和可更换嵌入件,P 型,不锈钢嵌入件,聚氨酯表面

商品选择/筛选

订货号类型BD2D3D4HH1H2ESWSW1顶珠 ø不锈钢嵌入件
订货号
聚氨酯表面
CAD配件价格订购
02007-620X030P30M2020212661234,63082307113-20126  根据要求
02007-620X060P60M2020212661234,63082307113-20126  根据要求
02007-616X080P80M1616162561227,72462007113-16126  根据要求
02007-610X030P30M1010101961219,61731307113-10126  根据要求
02007-624X100P100M2425273261241,636102807113-25126  根据要求
02007-610X050P50M1010101961219,61731307113-10126  根据要求
02007-616X050P50M1616162561227,72462007113-16126  根据要求
02007-612X040P40M1212132161221,91951507113-12126  根据要求
02007-616X025P25M1616162561227,72462007113-16126  根据要求
02007-612X060P60M1212132161221,91951507113-12126  根据要求
02007-624X040P40M2425273261241,636102807113-25126  根据要求
02007-610X015P15M1010101961219,61731307113-10126  根据要求
02007-620X100P100M2020212661234,63082307113-20126  根据要求
02007-612X020P20M1212132161221,91951507113-12126  根据要求
我的 norelemE-Mail密码
购物车
商品数量: 0
总数: 0.00  
点击购物车
欢迎扫描二维码
咨询诺瑞朗官方客服微信
中国
苏ICP备20011289号-1  苏公网安备32058502011222 网页地图 打印 推荐 Top
Copyright © 2025 norelem. 保留所有权利。 电话 +49 71 45/206-44 至 45 · 传真 +49 71 45/206-83