norelem 使用 Cookies 以优化设计和持续改进网页。您通过继续使用网页,同意使用 Cookies。在我们的数据保护声明中可以找到有关 Cookies 主题的详细信息。同意

商品描述/产品说明

产品说明产品描述:除了作为锁定和定位元件的机械功能外,带有状态传感器的弹簧柱塞还用于检查部件是否位于所需位置。
传感器可识别顶销是缩回还是伸出,并能以电子方式处理此状态信息。
材料:

1.4305 不锈钢套筒。
1.4034 不锈钢止动顶销。
1.4310 不锈钢弹簧。
1.4301 不锈钢状态传感器。

规格:亮色。顶销硬化处理。提示:状态传感器以行程 H 切换。技术参数:感应式传感器:
输出电路:PNP 常闭触点 (NO) 或常开触点 (NC)
工作电压:10 – 30 V DC
工作电流:<200 mA
开关距离:0.8 mm
开关频率:2000 Hz
防短路:有
反极性保护:有
保护级别:IP 67
连接方式:2 m PVC 电缆
许可证:CE
应用:带状态传感器的弹簧柱塞实现了一种依赖于状态的过程控制。可以确保工件或移动部件处于所需位置。温度范围:温度范围:-25° C - +70°C装配:用锁紧螺母锁固时,建议使用 6 Nm 锁紧扭矩。安全:带状态传感器的弹簧柱塞不适用于人身的安全防护。图纸提示:
4) LED 显示屏

BN = 棕色
BK = 黑色
BU = 蓝色

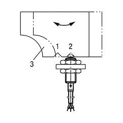
位置反馈应用示例:
位置1:滑块锁定
位置2:滑块脱开
3) 滑块
特点:
不锈钢RoHS
下载此处为收集信息的 PDF:

查找 CAD 数据?请直接在产品列表中查找。
 Datasheet 03025 带不锈钢状态传感器的弹簧柱塞 353 kB

图纸

带不锈钢状态传感器的弹簧柱塞

商品选择/筛选

订货号

类型 2D

D1H=行程LL1初始位置
弹簧弹力
F1 约 N
终点位置
弹簧弹力
F2 约 N
P=电缆长度CAD配件价格订购
03025-5061常闭M62,722737202000 根据要求
03025-5062常开M62,722737202000 根据要求
03025-5081常闭M84229315302000 根据要求
03025-5082常开M84229315302000 根据要求
03025-5101常闭M104,5336420382000 根据要求
03025-5102常开M104,5336420382000 根据要求
中国
苏ICP备20011289号-1  苏公网安备32058502011222 网页地图 打印 推荐 Top
Copyright © 2025 norelem. 保留所有权利。 电话 +49 71 45/206-44 至 45 · 传真 +49 71 45/206-83