|
|
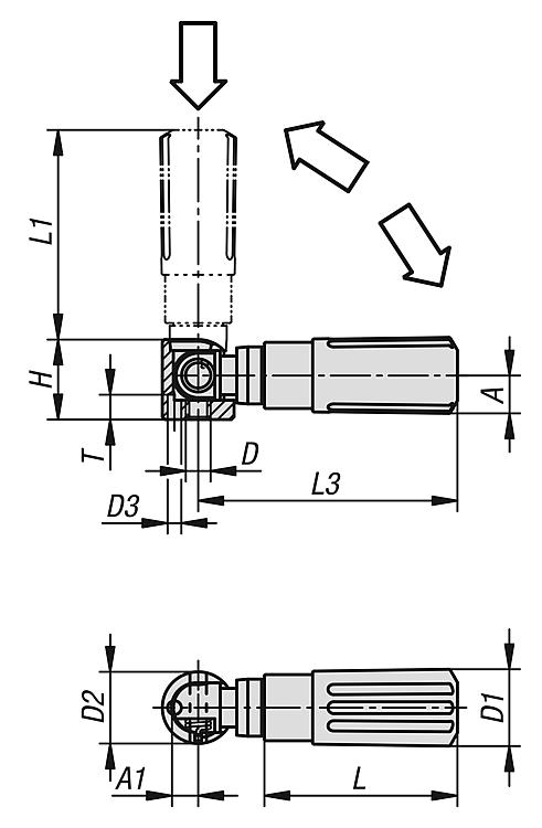
产品说明产品描述:手柄交付时已组装,并且可以安装在例如:手轮、卷筒和曲柄上。 圆柱形的轴肩和圆锥形的形状让曲柄具有优化的手感和良好的抓握性。 松开后可自动摆回的设计规避了干扰轮廓,在最大程度上降低了受伤风险。材料:热塑性塑料把手。钢制轴。规格:手柄,黑色。 钢制部件经黑色氧化。提示:为了使安全型手柄处于操作位置,要执行两个调整操作: - 将把手和旋转轴旋转至挡块位置 (90°)。 - 沿轴向方向将把手压入锁定位置。 松开后可自动摆回。
钻孔 D3 用作定位孔。优点:优化了手感,易于抓握 手轮和摇柄把手 松开后可自动摆回 各种螺纹尺寸特点: 下载此处为收集信息的 PDF:
查找 CAD 数据?请直接在产品列表中查找。
|
| 订货号 | 尺寸 | A | A1 | D | D1 | D2 | D3 | H | L | L1 | L3 | T | CAD | 配件 | 价格 | 订购 |
|---|
| 06328-01-104 | 1 | 8 | 4,3 | M4 | 14 | 13 | 2,5 | 14,5 | 35 | 38 | 47 | 4,5 |  | | 根据要求 | | | 06328-01-205 | 2 | 10 | 5,3 | M5 | 16 | 16 | 3,5 | 18 | 44 | 47,5 | 58 | 4,5 |  | | 根据要求 | | | 06328-01-306 | 3 | 12,5 | 6,5 | M6 | 20 | 20 | 4,5 | 22,5 | 55 | 58,5 | 71,5 | 6 |  | | 根据要求 | | | 06328-01-408 | 4 | 16 | 9 | M8 | 25 | 26 | 5,5 | 29 | 70 | 82 | 98 | 6,5 |  | | 根据要求 | |
|
|