norelem 使用 Cookies 以优化设计和持续改进网页。您通过继续使用网页,同意使用 Cookies。在我们的数据保护声明中可以找到有关 Cookies 主题的详细信息。同意
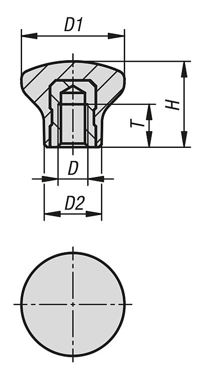
带内螺纹和圆头的热固性蘑菇头把手
06238

带内螺纹和圆头的热固性蘑菇头把手

返回

商品描述/产品说明

产品说明材料:热固塑料 PF 31。
钢或不锈钢。
规格:热固塑料,黑色,高光泽抛光。
钢制、经蓝色钝化处理或亮色不锈钢。
特点:
RoHS
下载此处为收集信息的 PDF:

查找 CAD 数据?请直接在产品列表中查找。
 Datasheet 06238 带内螺纹和圆头的热固性蘑菇头把手 132 kB

图纸

带内螺纹和圆头的热固性蘑菇头把手

商品选择/筛选

订货号材料D

D1D2HTCAD配件价格订购
06238-1805易切削钢M51810157,5 根据要求
06238-2106易切削钢M62112179 根据要求
06238-2506易切削钢M62514219 根据要求
06238-3308易切削钢M833182912 根据要求
06238-11805不锈钢M51810157,5 根据要求
06238-12106不锈钢M62112179 根据要求
06238-12506不锈钢M62514219 根据要求
06238-13308不锈钢M833182912 根据要求
我的 norelemE-Mail密码
购物车
商品数量: 0
总数: 0.00  
点击购物车
欢迎扫描二维码
咨询诺瑞朗官方客服微信
中国
苏ICP备20011289号-1  苏公网安备32058502011222 网页地图 打印 推荐 Top
Copyright © 2025 norelem. 保留所有权利。 电话 +49 71 45/206-44 至 45 · 传真 +49 71 45/206-83