norelem 使用 Cookies 以优化设计和持续改进网页。您通过继续使用网页,同意使用 Cookies。在我们的数据保护声明中可以找到有关 Cookies 主题的详细信息。同意

商品描述/产品说明

查看/筛选所有商品
产品说明材料:

热塑性塑料。
钢制衬套 5.8,或者不锈钢 1.4305。

规格:钢制、经蓝色钝化处理或亮色不锈钢。特点:
下载此处为收集信息的 PDF:

查找 CAD 数据?请直接在产品列表中查找。
 Datasheet 06660 单翼碟形旋钮 349 kB

图片(总概述)

单翼碟形旋钮

单翼碟形旋钮,带盖子

更多信息

图纸

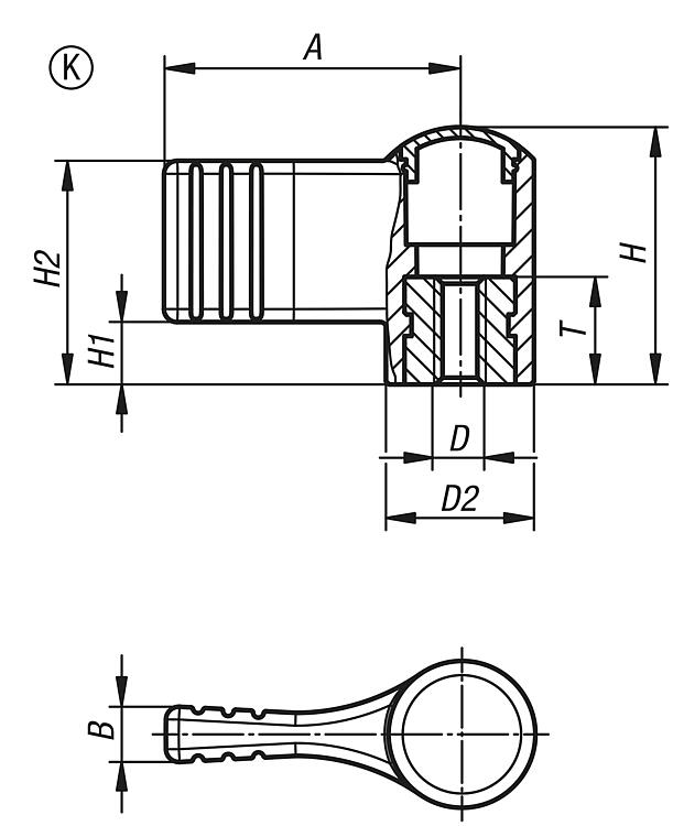
单翼碟形旋钮,带盖子

商品概述(精简)

商品选择/筛选
订货号
钢制
订货号
不锈钢
类型

D

D2ABHH1H2T筛选
06660-904Δ06660-0904ΔKM412224,4184,515,510
06660-905Δ06660-0905ΔKM512224,4184,515,510
06660-906Δ06660-0906ΔKM612224,4184,515,510
06660-105Δ06660-0105ΔKM51427,55,1245,820,810
06660-106Δ06660-0106ΔKM61427,55,1245,820,810
06660-208Δ06660-0208ΔKM82137,56,3368,530,514
06660-210Δ06660-0210ΔKM102137,56,3368,530,514

单翼碟形旋钮,不带盖子

更多信息

图纸

单翼碟形旋钮,不带盖子

商品概述(精简)

商品选择/筛选
订货号
钢制
订货号
不锈钢
类型

ABD

D2HH1H2T筛选
06660-190406660-10904D224,4M41216,14,515,510
06660-190506660-10905D224,4M51216,14,515,510
06660-190606660-10906D224,4M61216,14,515,510
06660-110506660-10105D27,55,1M51422,15,820,810
06660-110606660-10106D27,55,1M61422,15,820,810
06660-120806660-10208D37,56,3M82133,38,530,514
06660-121006660-10210D37,56,3M102133,38,530,514
我的 norelemE-Mail密码
购物车
商品数量: 0
总数: 0.00  
点击购物车
欢迎扫描二维码
咨询诺瑞朗官方客服微信
中国
苏ICP备20011289号-1  苏公网安备32058502011222 网页地图 打印 推荐 Top
Copyright © 2025 norelem. 保留所有权利。 电话 +49 71 45/206-44 至 45 · 传真 +49 71 45/206-83