norelem 使用 Cookies 以优化设计和持续改进网页。您通过继续使用网页,同意使用 Cookies。在我们的数据保护声明中可以找到有关 Cookies 主题的详细信息。同意

商品描述/产品说明

查看/筛选所有商品
产品说明材料:塑料制壳体。
不锈钢轴。
黄铜连接螺纹。
金属接地连接。
规格:镀镍黄铜。
1x M8-连接器(A-编码),4 针,1x 引脚。
提示:具有 IO-Link 功能的位置指示器用于控制调整,可有效缩短设置时间并提高机器效率。

借助两行的 LCD 显示屏,可以显示额定值和实际值。
另外两个 LED 向用户提供视觉信号,指示额定值和实际值是否一致(LED 亮绿色)或不一致(LED 亮红色)。此外,通过 LED 向用户指示必须要调整应用的方向,以到达所需位置。

通过轴将位置指示器 21924-1530 和 21924-1650 连接到应用。使用坚固的传感装置通过磁性扫描确定应用的位置。

将位置指示器 21924-1531 和 21924-1651 直接安装到应用。
借助磁性传感器(21924-01)和磁条(21725)确定位置。仅适用于线性长度测量。
技术参数:位置指示器 21924-1530 和 21924-1650:
转速:≤500 min-1
工作电压:24 V DC ±20 %
电流消耗:~30 mA
电池寿命:~5 年
分辨率:880 增量/转数
测量范围:≤11914 转速
环境温度:0 °C 到 +60 °C
存储温度:-20 °C 到 +80°C

位置指示器 21924-1531 und 21924-1651:
工作电压:24 V DC ±20 %
电流消耗:~30 mA
电池寿命:~5 年
分辨率:0.01 mm (带磁性传感器 21924-01)
系统精度:±35 µm(带磁性传感器 21924-01)
测量范围:±655 m(带磁性传感器 21924-01)
环境温度:0 °C 到 +60 °C
存储温度:-20 °C 到 +80°C
根据要求:一致性认证书。附件:位置指示器 21924-1530 和 21924-1650:
变径轴套 21940-20**。

位置指示器 21924-1531 和 21924-1651:
磁性传感器 21924-01。
磁条 21725。
说明:能集成位置指示器到 IO-Link 通信系统中。供货范围位置指示器。
安装说明。
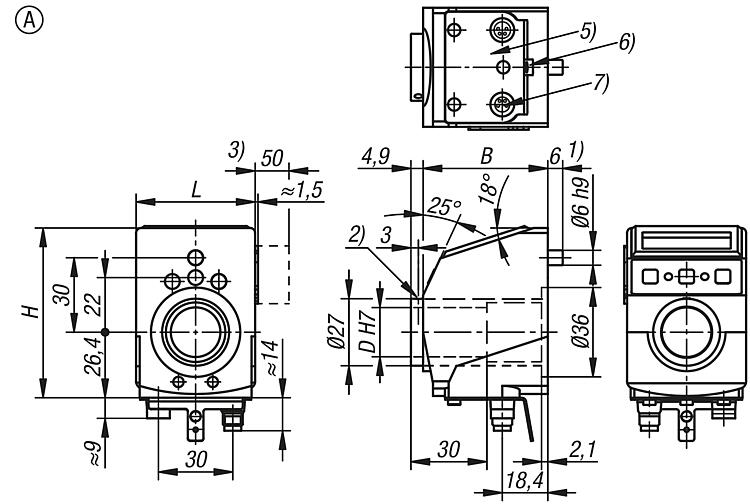
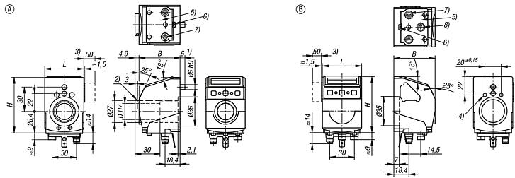
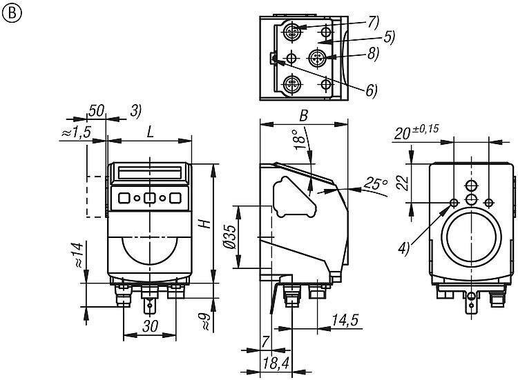
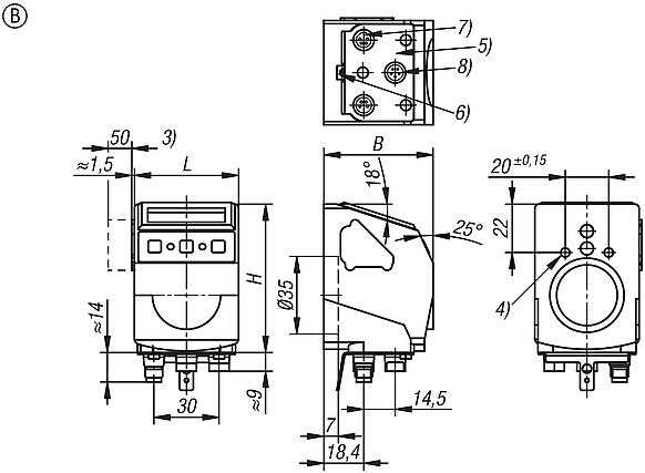
图纸提示:
1) 扭矩支撑
2) 埋头螺栓 M3(2x 120°)
3) 无需拆卸更换电池的最小空间要求。
4) 2x M5/7 深
5) 接触区域
6) 扁平插头 6.3 或电缆接线头的接地连接
7) 金属 IO-Link M8 插头(引脚接触)连接螺纹
8) 传感器
特点:
RoHS
下载此处为收集信息的 PDF:

查找 CAD 数据?请直接在产品列表中查找。
 Datasheet 21924 塑料位置指示器,电动 IO-Link 接口 473 kB

图片(总概述)

塑料位置指示器,电动 IO-Link 接口

塑料位置指示器,电动
IO-Link 接口,A 型,带空心轴

更多信息

图纸

塑料位置指示器,电动
IO-Link 接口,A 型,带空心轴

商品选择/筛选

订货号类型材料B

D

HL防护级别CAD配件价格订购
21924-1530A不锈钢50,32068,448IP53 根据要求
21924-1650A不锈钢50,32068,448IP65 根据要求

塑料位置指示器,电动
IO-Link 接口,B 型,带磁性扫描

更多信息

图纸

塑料位置指示器,电动
IO-Link 接口,B 型,带磁性扫描

商品选择/筛选

订货号类型B

HL防护级别CAD配件价格订购
21924-1531B50,368,448IP53 根据要求
21924-1651B50,368,448IP65 根据要求
我的 norelemE-Mail密码
购物车
商品数量: 0
总数: 0.00  
点击购物车
欢迎扫描二维码
咨询诺瑞朗官方客服微信
中国
苏ICP备20011289号-1  苏公网安备32058502011222 网页地图 打印 推荐 Top
Copyright © 2025 norelem. 保留所有权利。 电话 +49 71 45/206-44 至 45 · 传真 +49 71 45/206-83