norelem 使用 Cookies 以优化设计和持续改进网页。您通过继续使用网页,同意使用 Cookies。在我们的数据保护声明中可以找到有关 Cookies 主题的详细信息。同意
磁性传感器,被动式传感器,微型结构 IO-Link 接口
21924-01

磁性传感器,被动式传感器,微型结构 IO-Link 接口

返回

商品描述/产品说明

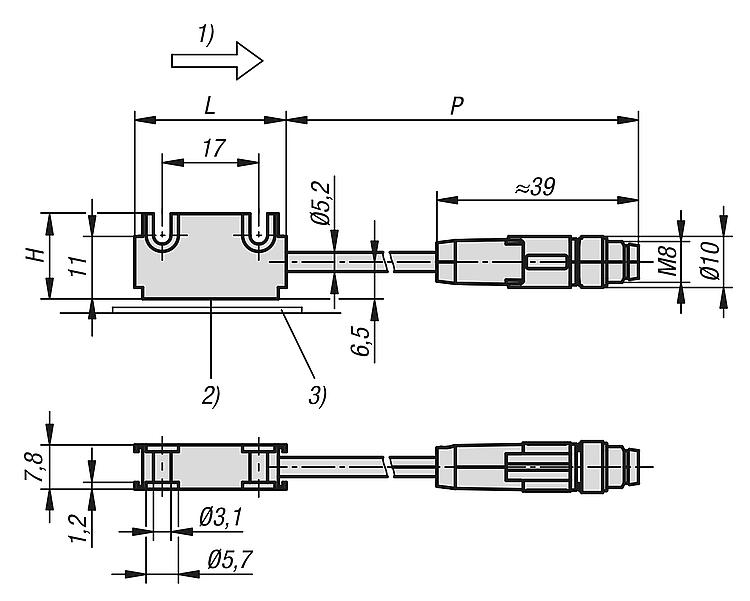
产品说明材料:铝制壳体。
电缆护套 PUR。
规格:传感器和插头的紧凑型结构。
1x M8-连接器,6 针,1x 引脚(E15)。
连接电缆 6 芯 ø 5.2 mm。
弯曲半径电缆 >= 52 mm(动态)。
提示:适用于磁条 21725。传感器和磁条之间的读取距离必须为 0.1 到 2 mm。传感器的工作电压和电流消耗由后续的电子设备提供。
系统的准确性、可重复准确性和行进速度取决于后续的电子设备。
位置指示器21924 处的可拆卸式接口。
技术参数:- 防护等级 IP 67; EN 60529(传感器头)
- 抗震度 2000 m/s²,11 ms; EN 60068-2-27
- 耐振性 200 m/s², 50 Hz…2 kHz; EN 60068-2-6
温度范围:- 环境温度 0…60 °C
- 存放温度 -10…70 °C
装配:安装应根据随附的用户信息进行。
A) 传感器/磁条读取距离 ≤ 2 mm
B) 横向偏移 ± 2 mm
C) 同心度误差 ± 3°
D) 纵向倾角 ± 1°
E) 侧面倾角 ± 3°
附件:位置指示器 21924。
磁条 21725。
说明:相对空气湿度 100%。允许结露(传感器头)。图纸提示:
1) 余弦前正弦
2) 主动测量面
3) 磁条
特点:
RoHS
下载此处为收集信息的 PDF:

查找 CAD 数据?请直接在产品列表中查找。
 Datasheet 21924-01 磁性传感器,被动式传感器,微型结构 IO-Link 接口 340 kB

图纸

磁性传感器,被动式传感器,微型结构 IO-Link 接口
磁性传感器,被动式传感器,微型结构 IO-Link 接口

商品选择/筛选

订货号H

LP用于产品编号CAD配件价格订购
21924-01-0100011526,7100021924-1531 / 21924-1651 根据要求
21924-01-0200011526,7200021924-1531 / 21924-1651 根据要求
我的 norelemE-Mail密码
购物车
商品数量: 0
总数: 0.00  
点击购物车
欢迎扫描二维码
咨询诺瑞朗官方客服微信
中国
苏ICP备20011289号-1  苏公网安备32058502011222 网页地图 打印 推荐 Top
Copyright © 2025 norelem. 保留所有权利。 电话 +49 71 45/206-44 至 45 · 传真 +49 71 45/206-83