|
|
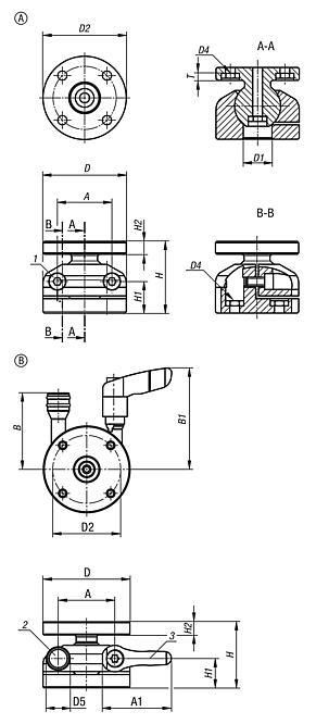
产品说明材料:铝合金。规格:阳极氧化。提示:匹配 21100、21102、21120、21122、21150、21160、21162 和 21180。图纸提示:所有 (9x) 沉孔符合 DIN 974-1 (D4) 标准, 所有 (9x) 螺母符合 DIN 934 M 标准 (D4) A 型: 通过压出螺母可获得针对内六角圆柱头螺栓的沉孔。 因此,可使用两种固定方式。
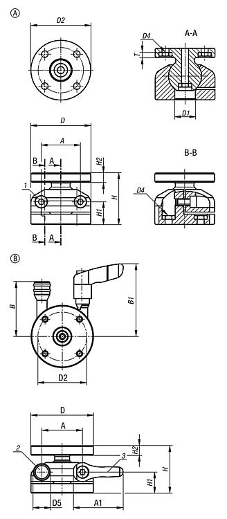
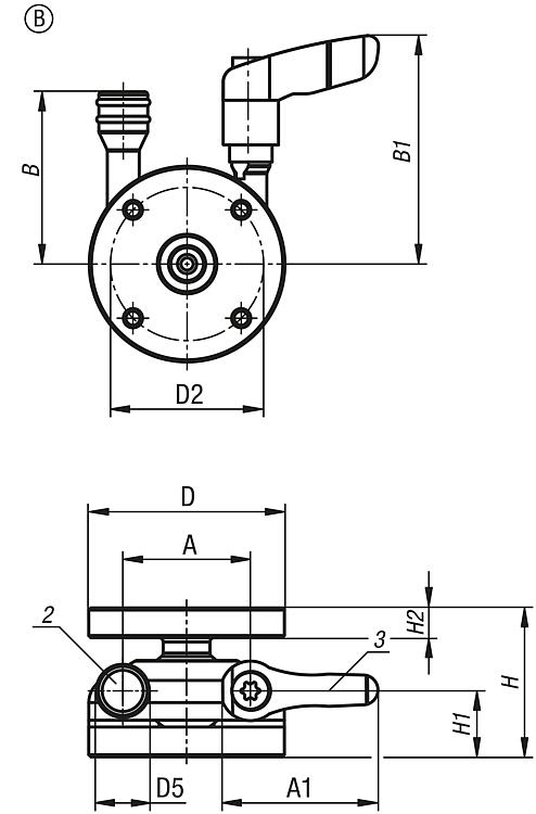
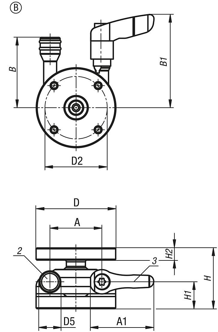
B 型: 使用快速夹紧装置,也可以在不使用工具的情况下操作万向接头。快速夹紧装置由翼型螺栓和锁紧手柄组成。
1) D3 夹紧螺栓 (2x) 2) 锁紧手柄 3) 翼型螺栓 特点: 下载此处为收集信息的 PDF:
查找 CAD 数据?请直接在产品列表中查找。
|
| 订货号 | 类型 | 形状类型 | D | D2 | A | A1 | D1 | D3 | D4 | D5 | H | H1 | H2 | B | B1 | T | F N | M Nm | 止动螺栓 锁紧扭矩 (Nm) | 配件 | CAD | 配件 | 价格 | 订购 |
|---|
| 21170-104 | B | 带翼型螺栓和锁紧手柄 | 29 | 22 | 19 | 37 | 10 | M3 | 3 | 11,5 | 25 | 11 | 5,5 | 32 | 48 | 3,5 | 300 | 3 | 1,11 | 21180-04 |  | | 根据要求 | | | 21170-108 | B | 带翼型螺栓和锁紧手柄 | 46 | 36 | 30 | 37 | 13 | M4 | 4 | 11,5 | 35 | 15,5 | 7 | 40,8 | 53,7 | 4,5 | 700 | 8 | 2,55 | 21180-08 |  | | 根据要求 | | | 21170-112 | B | 带翼型螺栓和锁紧手柄 | 75 | 60 | 46 | 74,5 | 24 | M6 | 6 | 23 | 54 | 23 | 11 | 65,8 | 83,3 | 6,6 | 2200 | 30 | 8,6 | 21180-12 |  | | 根据要求 | | | 21170-125 | B | 带翼型螺栓和锁紧手柄 | 150 | 130 | 92 | 91 | 40 | M10 | 10 | 23 | 105 | 49 | 20 | 99 | 119,3 | 11 | 9000 | 150 | 42 | 21180-24 |  | | 根据要求 | |
|
|
|
|