norelem 使用 Cookies 以优化设计和持续改进网页。您通过继续使用网页,同意使用 Cookies。在我们的数据保护声明中可以找到有关 Cookies 主题的详细信息。同意

商品描述/产品说明

查看/筛选所有商品
产品说明材料:玻璃珠增强型热塑性塑料制脚杯。
热塑性弹性体制防滑板。
规格:黑色。提示:

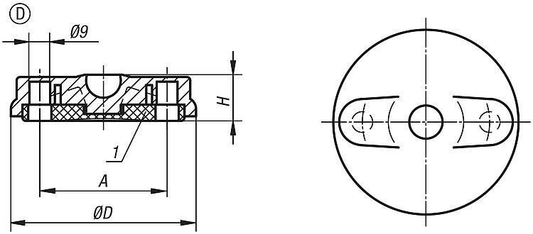
万向脚由脚杯和丝杠或球头组合而成。每种脚杯可以结合各个丝杠或各个球头。 防滑板可以吸收振动力,防止万向脚滑脱。 适配丝杠参见 27810。 适配球头参见 27811。

图纸提示:
A 型 无螺孔,无防滑板
B 型 无螺孔,带防滑板
C 型 带螺孔(封闭),无防滑板
D 型 带螺孔(封闭),带防滑板

1) 脚杯 Ø 80 以上
特点:
下载此处为收集信息的 PDF:

查找 CAD 数据?请直接在产品列表中查找。
 Datasheet 27800 塑料制万向脚杯 211 kB
 旋转脚杯技术资料 301 kB

图片(总概述)

塑料制万向脚杯

旋转脚杯,A 型塑料制

更多信息

图纸

旋转脚杯,A 型塑料制

商品选择/筛选

订货号类型尺寸D

H负载能力
max. kN
CAD配件价格订购
27800-1030A3029185  根据要求
27800-1040A4039189  根据要求
27800-1045A4544189  根据要求
27800-1050A5049189  根据要求
27800-1060A6059189  根据要求
27800-1080A8079189  根据要求
27800-1100A10099189  根据要求

旋转脚杯,B 型塑料制

更多信息

图纸

旋转脚杯,B 型塑料制

商品选择/筛选

订货号类型尺寸D

H负载能力
max. kN
CAD配件价格订购
27800-2030B3029205  根据要求
27800-2040B4039209  根据要求
27800-2045B4544209  根据要求
27800-2050B5049209  根据要求
27800-2060B6059209  根据要求
27800-2080B8079209  根据要求
27800-2100B10099209  根据要求

旋转脚杯,C 型塑料制

更多信息

图纸

旋转脚杯,C 型塑料制

商品选择/筛选

订货号类型尺寸D

AH负载能力
max. kN
CAD配件价格订购
27800-3080C807955189  根据要求
27800-3100C1009974189  根据要求
27800-3120C12011994189  根据要求

旋转脚杯,D 型塑料制

更多信息

图纸

旋转脚杯,D 型塑料制

商品选择/筛选

订货号类型尺寸D

AH负载能力
max. kN
CAD配件价格订购
27800-4080D807955209  根据要求
27800-4100D1009974209  根据要求
27800-4120D12011994209  根据要求
我的 norelemE-Mail密码
购物车
商品数量: 0
总数: 0.00  
点击购物车
欢迎扫描二维码
咨询诺瑞朗官方客服微信
中国
苏ICP备20011289号-1  苏公网安备32058502011222 网页地图 打印 推荐 Top
Copyright © 2025 norelem. 保留所有权利。 电话 +49 71 45/206-44 至 45 · 传真 +49 71 45/206-83