norelem 使用 Cookies 以优化设计和持续改进网页。您通过继续使用网页,同意使用 Cookies。在我们的数据保护声明中可以找到有关 Cookies 主题的详细信息。同意

商品描述/产品说明

查看/筛选所有商品
产品说明材料:玻璃纤维增强型热塑性塑料脚杯。
热塑性弹性体制防滑板。
规格:黑色。提示:调节脚由脚杯和丝杠组合而成。每种脚杯可以结合各个丝杠。
防滑板可以吸收振动力,防止调节脚滑脱。
适配丝杠参见 27828。
图纸提示:
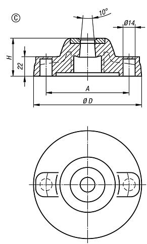
C 型,带螺孔(封闭),无防滑板
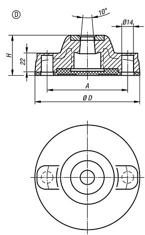
D 型,带螺孔(封闭),带防滑板
下载此处为收集信息的 PDF:

查找 CAD 数据?请直接在产品列表中查找。
 Datasheet 27816 塑料调节脚杯,重型规格 295 kB
 调节脚杯技术资料 694 kB

图片(总概述)

塑料调节脚杯,重型规格

调节脚杯,塑料制,C 型重型规格

更多信息

图纸

调节脚杯,塑料制,C 型重型规格

商品选择/筛选

订货号

类型D

AH负载能力
max. kN
CAD配件价格订购
27816-31251C125964418  根据要求
27816-31751C1751354525  根据要求

塑料制调节脚杯,D 型重型规格

更多信息

图纸

塑料制调节脚杯,D 型重型规格

商品选择/筛选

订货号

类型D

AH负载能力
max. kN
CAD配件价格订购
27816-41251D125964818  根据要求
27816-41751D1751354925  根据要求
我的 norelemE-Mail密码
购物车
商品数量: 0
总数: 0.00  
点击购物车
欢迎扫描二维码
咨询诺瑞朗官方客服微信
中国
苏ICP备20011289号-1  苏公网安备32058502011222 网页地图 打印 推荐 Top
Copyright © 2025 norelem. 保留所有权利。 电话 +49 71 45/206-44 至 45 · 传真 +49 71 45/206-83