norelem 使用 Cookies 以优化设计和持续改进网页。您通过继续使用网页,同意使用 Cookies。在我们的数据保护声明中可以找到有关 Cookies 主题的详细信息。同意

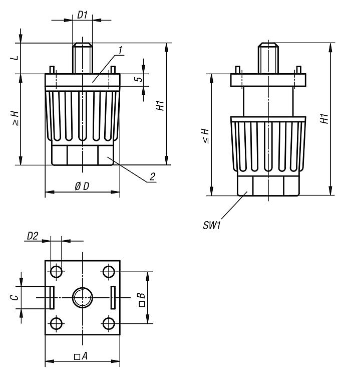
商品描述/产品说明

产品说明材料:玻璃纤维增强型热塑性塑料壳体。
钢制丝杠和垫圈。
规格:黑色壳体。
镀锌丝杠和垫圈。
提示:设备支脚尤其适合桌台和较轻装置。设备支脚高度可通过手动旋转螺母或工具无级调整。顶部有定位块用于定位和防止扭转。可使用T型螺母,无需费力钻孔即可将设备脚固定在铝制型材上。图纸提示:
1) 尾段
2) 螺母
特点:
RoHS
下载此处为收集信息的 PDF:

查找 CAD 数据?请直接在产品列表中查找。
 Datasheet 27840 铝制型材设备支脚, 高度可调 277 kB

图纸

铝制型材设备支脚, 高度可调

商品选择/筛选

订货号

A
适用
铝质型材
BC
适用插槽
D

D1D2
适用
沉头螺钉
HH1LSW1负载能力
max. kN
(静态负载)
CAD配件价格订购
27840-3008063020,5830M6M435-5044-599221,5 根据要求
27840-3008083020,5830M8M435-5044-599221,5 根据要求
27840-4008084028840M8M645-6554-749301,5 根据要求
27840-40100640281040M6M645-6554-749301,5 根据要求
27840-40100840281040M8M645-6554-749301,5 根据要求
我的 norelemE-Mail密码
购物车
商品数量: 0
总数: 0.00  
点击购物车
欢迎扫描二维码
咨询诺瑞朗官方客服微信
中国
苏ICP备20011289号-1  苏公网安备32058502011222 网页地图 打印 推荐 Top
Copyright © 2025 norelem. 保留所有权利。 电话 +49 71 45/206-44 至 45 · 传真 +49 71 45/206-83