norelem 使用 Cookies 以优化设计和持续改进网页。您通过继续使用网页,同意使用 Cookies。在我们的数据保护声明中可以找到有关 Cookies 主题的详细信息。同意

商品描述/产品说明

产品说明材料:

钢、轴和阳极氧化铝制的连接件。
不锈钢 1.4404、轴和阳极氧化铝制的连接件。

规格:镀锌
亮色
提示:铰链可抵抗弯曲和扭转。

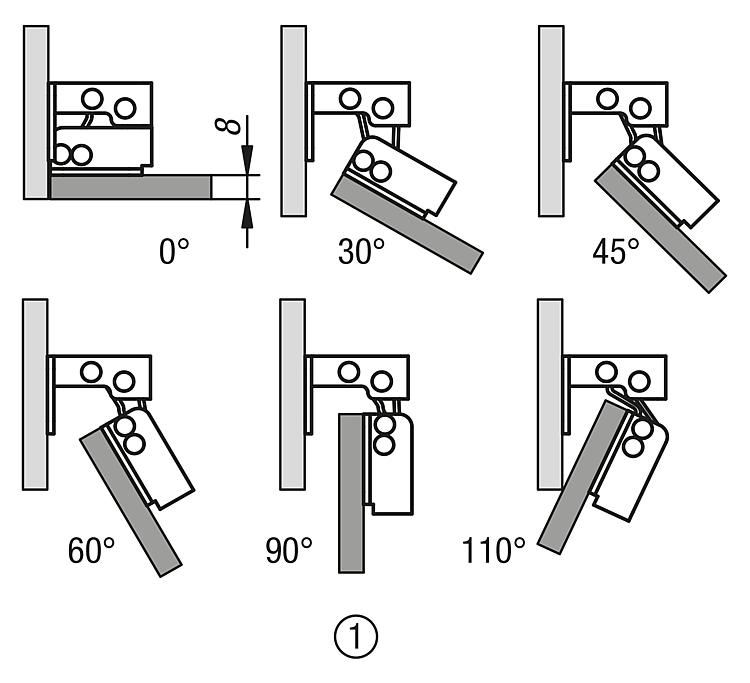
开口角度取决于门的厚度:
- 材料厚度最大 2 mm 时:开口角度为 125°
- 材料厚度最大 8 mm 时:开口角度为 110°
- 材料厚度最大 13 mm 时:开口角度为 100°
装配:- 适用于埋入式或放置式安装。
- 右侧或左侧可安装。
- 适用水平或垂直应用。
图纸提示:
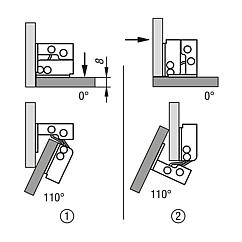
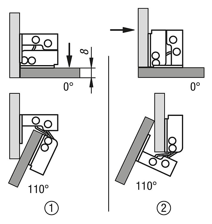
1) 埋入式安装
2) 放置式安装
特点:
RoHS
下载此处为收集信息的 PDF:

查找 CAD 数据?请直接在产品列表中查找。
 Datasheet 27879-01 钢或不锈钢制铰链 内置式,开口角度 125° 820 kB

图纸

钢或不锈钢制铰链 内置式,开口角度 125°

商品选择/筛选

订货号主体
材料
A

A1A2BB1B2B3CD

SCAD配件价格订购
27879-01-442932钢制443420291369,5324,22 根据要求
27879-01-1442932不锈钢 A4443420291369,5324,22 根据要求
我的 norelemE-Mail密码
购物车
商品数量: 0
总数: 0.00  
点击购物车
欢迎扫描二维码
咨询诺瑞朗官方客服微信
中国
苏ICP备20011289号-1  苏公网安备32058502011222 网页地图 打印 推荐 Top
Copyright © 2025 norelem. 保留所有权利。 电话 +49 71 45/206-44 至 45 · 传真 +49 71 45/206-83