norelem 使用 Cookies 以优化设计和持续改进网页。您通过继续使用网页,同意使用 Cookies。在我们的数据保护声明中可以找到有关 Cookies 主题的详细信息。同意

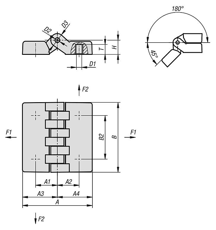
商品描述/产品说明

产品说明材料:热塑性塑料,玻璃纤维增强型。
钢制轴。
黄铜制衬套。
规格:黑色铰链。
镀锌轴。
提示:所示的铰链载荷值是不具约束力的指导值,未考虑安全因素,且不承担任何责任。所有数值仅供参考,并不对财产构成任何相关法律保证。

应力值是在实验室条件下得出。每个用户必须独自确定铰链是否适合各自的使用。

铰链连接的材质、连接方式、天气条件和磨损情况等都会对待确定的值造成影响。
特点:
RoHS
下载此处为收集信息的 PDF:

查找 CAD 数据?请直接在产品列表中查找。
 Datasheet 27880 带衬套的塑料铰链 185 kB

图纸

带衬套的塑料铰链

商品选择/筛选

订货号AA1A2A3A4BB2D1

D2D3HTF1
N
F2
N
CAD配件价格订购
27880-0524151548151524244830M551010,5720001370 根据要求
27880-0624151548151524244830M651010,5720001370 根据要求
27880-0632202064202032326440M651213941001800 根据要求
27880-0832202064202032326440M851213941001800 根据要求
27880-084832329531,531,547,547,59560M8818191324502650 根据要求
27880-104832329531,531,547,547,59560M10818191324502650 根据要求
我的 norelemE-Mail密码
购物车
商品数量: 0
总数: 0.00  
点击购物车
欢迎扫描二维码
咨询诺瑞朗官方客服微信
中国
苏ICP备20011289号-1  苏公网安备32058502011222 网页地图 打印 推荐 Top
Copyright © 2025 norelem. 保留所有权利。 电话 +49 71 45/206-44 至 45 · 传真 +49 71 45/206-83