norelem 使用 Cookies 以优化设计和持续改进网页。您通过继续使用网页,同意使用 Cookies。在我们的数据保护声明中可以找到有关 Cookies 主题的详细信息。同意

商品描述/产品说明

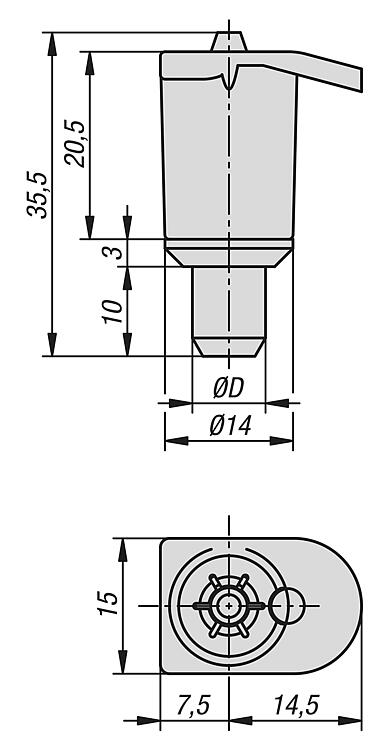
产品说明材料:PA 把手。
PA 限位器支架。
钢制销钉。
规格:绿色把手。
黑色限位器支架。
镀锌销钉。
提示:带弹簧辅助把手的销式铰链适用于内开门。用户无法看到铰链。
铰链左右侧通用。
铰链开口角度为 120°。

通过弹簧销钉,门可以轻松安装和拆卸。

销钉铰链还可用作锁销。
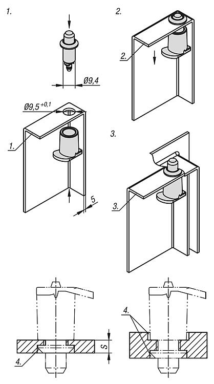
装配:1. 无需工具,只需将锁销按入把手即可完成装配。
2. 门的拆卸。
3. 门的装配。
4. 信息:两个部件之间的间隙可以通过降低安装口来调整。夹紧范围 (S) 在 0-4 mm 之间。
特点:
RoHS
下载此处为收集信息的 PDF:

查找 CAD 数据?请直接在产品列表中查找。
 Datasheet 27884-90 塑料销钉铰链 243 kB

图纸

塑料销钉铰链

商品选择/筛选

订货号D

CAD配件价格订购
27884-90-066 根据要求
27884-90-088 根据要求
我的 norelemE-Mail密码
购物车
商品数量: 0
总数: 0.00  
点击购物车
欢迎扫描二维码
咨询诺瑞朗官方客服微信
中国
苏ICP备20011289号-1  苏公网安备32058502011222 网页地图 打印 推荐 Top
Copyright © 2025 norelem. 保留所有权利。 电话 +49 71 45/206-44 至 45 · 传真 +49 71 45/206-83