norelem 使用 Cookies 以优化设计和持续改进网页。您通过继续使用网页,同意使用 Cookies。在我们的数据保护声明中可以找到有关 Cookies 主题的详细信息。同意

商品描述/产品说明

产品说明材料:钢制铰链。
黄铜制中间垫圈。
钢制或黄铜制轴。
规格:符合 DIN 71412-D 的滑脂嘴,钢制镀锌。
亮色钢零件。
提示:铰链由可焊接型钢制成。
铰链下半部分中固定安装有销钉。
焊缝和载体的钢品质应至少等同或好于: 依照 EN 10025-2:2004–10 的S235JR+AR DIN 8563 第 3 部分或 依照 SIA 161 的 Fe E 235
下载此处为收集信息的 PDF:

查找 CAD 数据?请直接在产品列表中查找。
 Datasheet 27885 可焊接铰链 239 kB

图片(总概述)

可焊接铰链

可焊接铰链,A 型

更多信息

图纸

可焊接铰链,A 型

商品选择/筛选

订货号

类型

材料ABD

D1CAD配件价格订购
27885-008040012A钢制9,74085 根据要求
27885-008050012A钢制9,75085 根据要求
27885-010060012A钢制12,760106 根据要求
27885-010070012A钢制1270106 根据要求
27885-013080012A钢制15,580138 根据要求
27885-016100012A钢制201001610 根据要求
27885-016120012A钢制201201611 根据要求
27885-018135012A钢制221351812 根据要求
27885-020150012A钢制251502013 根据要求
27885-020180012A钢制251802014 根据要求
27885-023200012A钢制28,52002316 根据要求
27885-008040022A黄铜9,74085 根据要求
27885-008050022A黄铜9,75085 根据要求
27885-010060022A黄铜12,760106 根据要求
27885-010070022A黄铜1270106 根据要求
27885-013080022A黄铜15,580138 根据要求
27885-016100022A黄铜201001610 根据要求
27885-016120022A黄铜201201611 根据要求
27885-018135022A黄铜221351812 根据要求
27885-020150022A黄铜251502013 根据要求
27885-020180022A黄铜251802014 根据要求
27885-023200022A黄铜28,52002316 根据要求

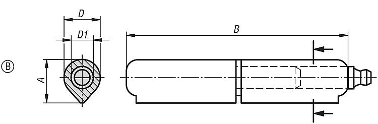
可焊接铰链,B 型

更多信息

图纸

可焊接铰链,B 型

商品选择/筛选

订货号

类型

材料ABD

D1CAD配件价格订购
27885-113080012B钢制1680138 根据要求
27885-116100012B钢制201001610 根据要求
27885-116120012B钢制201201610 根据要求
27885-118135012B钢制22,51351812 根据要求
27885-120150012B钢制25,51502013 根据要求
27885-120180012B钢制251802014 根据要求
27885-123200012B钢制292002316 根据要求
我的 norelemE-Mail密码
购物车
商品数量: 0
总数: 0.00  
点击购物车
欢迎扫描二维码
咨询诺瑞朗官方客服微信
中国
苏ICP备20011289号-1  苏公网安备32058502011222 网页地图 打印 推荐 Top
Copyright © 2025 norelem. 保留所有权利。 电话 +49 71 45/206-44 至 45 · 传真 +49 71 45/206-83