norelem 使用 Cookies 以优化设计和持续改进网页。您通过继续使用网页,同意使用 Cookies。在我们的数据保护声明中可以找到有关 Cookies 主题的详细信息。同意

商品描述/产品说明

产品说明材料:

不锈钢铰链 1.4305。
不锈钢固定材料 1.4305。

规格:经抛光处理。提示:旋紧铰链用于平面对齐的结构。
轻型和重型。
特点:
不锈钢
下载此处为收集信息的 PDF:

查找 CAD 数据?请直接在产品列表中查找。
 Datasheet 27890-02 多角铰链,带紧固螺母 307 kB

图纸

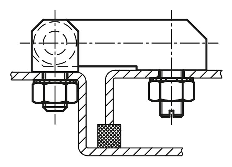
多角铰链,带紧固螺母

商品选择/筛选

订货号AA1A2A3A4BB1B2B3D1D2H1H2H3L1T负载能力
N
CAD配件价格订购
27890-02-106300284530107,51840,228,21213M66713121682600 根据要求
27890-02-10840035614014102651351618M8810181620104800 根据要求
我的 norelemE-Mail密码
购物车
商品数量: 0
总数: 0.00  
点击购物车
欢迎扫描二维码
咨询诺瑞朗官方客服微信
中国
苏ICP备20011289号-1  苏公网安备32058502011222 网页地图 打印 推荐 Top
Copyright © 2025 norelem. 保留所有权利。 电话 +49 71 45/206-44 至 45 · 传真 +49 71 45/206-83