norelem 使用 Cookies 以优化设计和持续改进网页。您通过继续使用网页,同意使用 Cookies。在我们的数据保护声明中可以找到有关 Cookies 主题的详细信息。同意

商品描述/产品说明

查看/筛选所有商品
产品说明材料:不锈钢 A2.提示:弹簧条形铰链为需要自动开合功能的应用提供了一流的解决方案。其由优质不锈钢制成,具有出色的耐用性和耐腐蚀性,成为苛刻环境下的理想选择。

这些钻孔铰链由弹簧开启和弹簧关闭,这意味着当它们不被主动拉住时,会自动开启和关闭。该功能在各种应用中都非常便于用户使用。

钻孔设计精简安装,提供了快速可靠的紧固解决方案。由于设计精密,弹簧条形铰链可保证顺畅运动,使用寿命较长,无磨损痕迹。
特点:
不锈钢
下载此处为收集信息的 PDF:

查找 CAD 数据?请直接在产品列表中查找。
 Datasheet 27904-30 不锈钢弹簧条形铰链 193 kB

图片(总概述)

不锈钢弹簧条形铰链

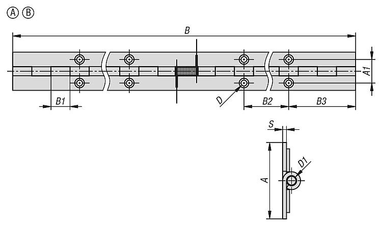
不锈钢弹簧条形铰链,A 型

更多信息

图纸

不锈钢弹簧条形铰链,A 型

商品选择/筛选

订货号类型 1类型AA1B

B1B2B3D

D1S金属键CAD配件价格订购
27904-30-4019950-A40231995159052,54,541,51.4301 根据要求
27904-30-5019950-A50281995159052,54,5421.4301 根据要求

不锈钢弹簧条形铰链,B 型

更多信息

图纸

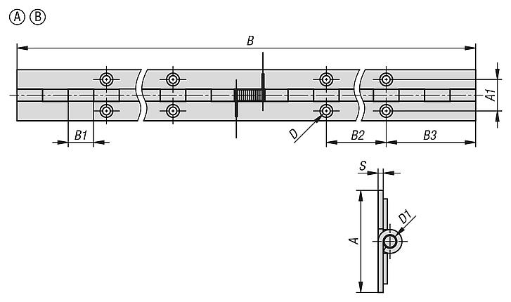
不锈钢弹簧条形铰链,B 型

商品选择/筛选

订货号类型 1类型AA1B

B1B2B3D

D1S金属键CAD配件价格订购
27904-30-4019951-B40231995159052,54,541,51.4301 根据要求
27904-30-5019951-B50281995159052,54,5421.4301 根据要求
我的 norelemE-Mail密码
购物车
商品数量: 0
总数: 0.00  
点击购物车
欢迎扫描二维码
咨询诺瑞朗官方客服微信
中国
苏ICP备20011289号-1  苏公网安备32058502011222 网页地图 打印 推荐 Top
Copyright © 2025 norelem. 保留所有权利。 电话 +49 71 45/206-44 至 45 · 传真 +49 71 45/206-83