norelem 使用 Cookies 以优化设计和持续改进网页。您通过继续使用网页,同意使用 Cookies。在我们的数据保护声明中可以找到有关 Cookies 主题的详细信息。同意

商品描述/产品说明

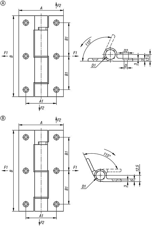
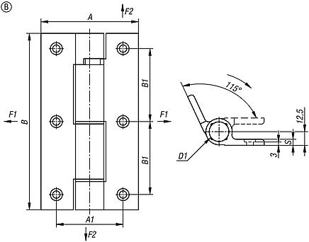
产品说明材料:铝制 6082 T5。规格:铝制,经阳极氧化处理,无色。提示:铰链具有集成阻尼。可以缓慢打开(A 型)和关闭(B 型)门和翻板。铰链还配备了提升辅助装置,使门和挡板的开启更加方便。
适用水平和垂直应用。
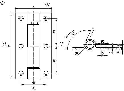
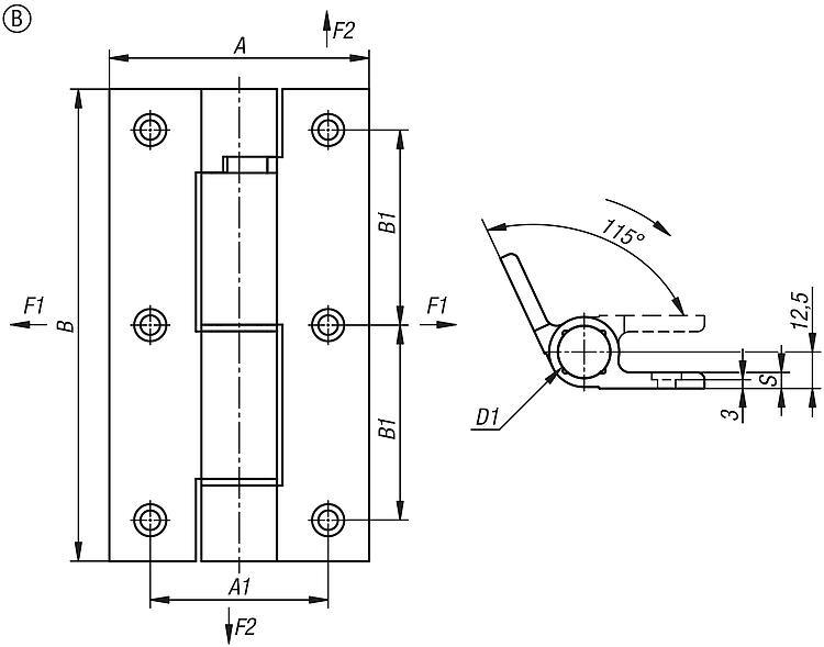
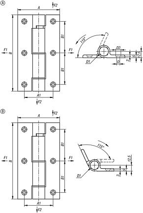
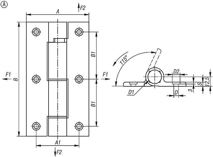
图中箭头表示阻尼器的作用方向。
开启角度限制在 115°,以免损坏阻尼系统。

不要强行加速门或挡板的打开或关闭,否则会损坏阻尼器。
扭矩阻尼为 1.7 至 2.5 Nm。
弹簧的扭矩因物品而异:
27910-8215000 的开启弹簧扭矩:M(180°):2.70 Nm / M(65°):3.69 Nm。
27910-8215001 的开启弹簧扭矩:M(180°):1.45 Nm / M(65°):2.29 Nm。
27910-8215010 的闭合弹簧扭矩:M(0°):2.68 Nm / M(115°):3.65 Nm。
27910-8215011 的闭合弹簧扭矩:M(0°):1.45 Nm / M(115°):2.28 Nm。
温度范围:从 0 °C 至 +40 °C。特点:
RoHS
下载此处为收集信息的 PDF:

查找 CAD 数据?请直接在产品列表中查找。
 Datasheet 27910 带阻尼的铝制型材弹簧铰链 163 kB

图片(总概述)

带阻尼的铝制型材弹簧铰链

带阻尼的铝制型材弹簧铰链,A 型

更多信息

图纸

带阻尼的铝制型材弹簧铰链,A 型

商品选择/筛选

订货号类型 1类型 2类型形状类型A

A1BB1D

D1F1
N
F2
N
SCAD配件价格订购
27910-8215000-水平应用Asoft opening82,556,5150626,210,28000160005,5 根据要求
27910-8215001-垂直应用Asoft opening82,556,5150626,210,28000160005,5 根据要求

带阻尼的铝制型材弹簧铰链,B 型

更多信息

图纸

带阻尼的铝制型材弹簧铰链,B 型

商品选择/筛选

订货号类型 1类型 2类型形状类型A

A1BB1D

D1F1
N
F2
N
SCAD配件价格订购
27910-8215010-水平应用Bsoft closing82,556,5150626,210,28000160005,5 根据要求
27910-8215011-垂直应用Bsoft closing82,556,5150626,210,28000160005,5 根据要求
我的 norelemE-Mail密码
购物车
商品数量: 0
总数: 0.00  
点击购物车
欢迎扫描二维码
咨询诺瑞朗官方客服微信
中国
苏ICP备20011289号-1  苏公网安备32058502011222 网页地图 打印 推荐 Top
Copyright © 2025 norelem. 保留所有权利。 电话 +49 71 45/206-44 至 45 · 传真 +49 71 45/206-83