|
|
|
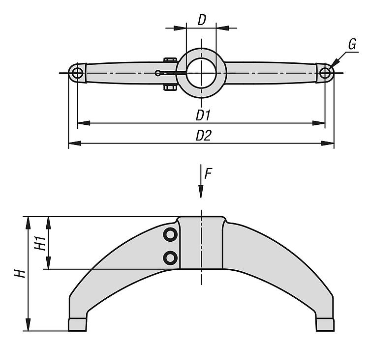
29350-01圆管的塑料件管接头底脚 双支腿 |
返回 |
|
|
产品说明材料:热塑性塑料。
1.4301 不锈钢螺栓和螺母。 规格:黑色。 亮色螺栓和螺母。提示:圆管由两个螺钉夹紧。件管接头适用于带 M16 螺纹的脚杯。
双支腿件管接头通常用于空间有限的地方。
符合 DIN EN 10220 标准的配套钢管。根据要求:镀锌钢制成的螺栓和螺母。 其他材料和颜色。特点: 下载此处为收集信息的 PDF:
查找 CAD 数据?请直接在产品列表中查找。
|
| 订货号 | D | D1 | D2 | G | H | H1 | F max. kN | CAD | 配件 | 价格 | 订购 |
|---|
| 29350-01-48 | 48,3 | 400 | 430 | M16 | 185 | 85 | 9,6 |  | | 根据要求 | | | 29350-01-60 | 60,3 | 400 | 430 | M16 | 185 | 85 | 9,6 |  | | 根据要求 | |
|
|