norelem 使用 Cookies 以优化设计和持续改进网页。您通过继续使用网页,同意使用 Cookies。在我们的数据保护声明中可以找到有关 Cookies 主题的详细信息。同意

商品描述/产品说明

产品说明材料:铸铝。
圆柱形螺栓 DIN 7984 和六角螺母 DIN 985,钢制。
规格:经黑色粉末喷涂处理。
镀锌圆柱形螺栓和六角螺母。
根据要求:用于固定的夹紧杆。特点:
RoHS
下载此处为收集信息的 PDF:

查找 CAD 数据?请直接在产品列表中查找。
 Datasheet 29120 铝制十字扣件,用于推杆 330 kB
 推杆技术资料 238 kB

图纸

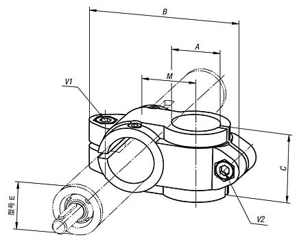
铝制十字扣件,用于推杆

商品选择/筛选

订货号E 类

ABCMV1V2CAD配件价格订购
29120-181818186625,520M6x16M6x16 根据要求
29120-30203020994033M8x25M8x25 根据要求
29120-30303030994033M8x25M8x25 根据要求
29120-402040201094036M10x30M8x25 根据要求
29120-404040401376045M10x30M10x30 根据要求
29120-504050401547054M10x35M10x35 根据要求
29120-505050501547054M10x35M10x35 根据要求
我的 norelemE-Mail密码
购物车
商品数量: 0
总数: 0.00  
点击购物车
欢迎扫描二维码
咨询诺瑞朗官方客服微信
中国
苏ICP备20011289号-1  苏公网安备32058502011222 网页地图 打印 推荐 Top
Copyright © 2025 norelem. 保留所有权利。 电话 +49 71 45/206-44 至 45 · 传真 +49 71 45/206-83