norelem 使用 Cookies 以优化设计和持续改进网页。您通过继续使用网页,同意使用 Cookies。在我们的数据保护声明中可以找到有关 Cookies 主题的详细信息。同意

商品描述/产品说明

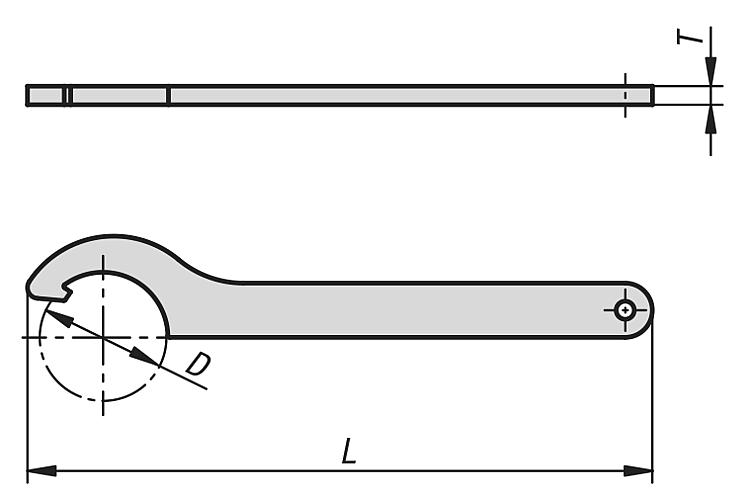
产品说明材料:特种钢。规格:经硬化和发蓝退火处理。提示:用于开槽螺母 DIN 1804,滚动轴承螺母 DIN 981 和我们的高度调整元件 27700 至 27709-10 需要两个钩形扳手来安装高度调整元件)。具有更易操作的倒圆边缘。特点:
RoHS
下载此处为收集信息的 PDF:

查找 CAD 数据?请直接在产品列表中查找。
 Datasheet 96650 夹头扳手 DIN 1810A 增强型 99,9 kB

图纸

夹头扳手 DIN 1810A 增强型

商品选择/筛选

订货号

D
min.
D
max.
LT适用锁紧螺母
DIN 1804
适用轴承锁紧螺母
DIN 981
CAD配件价格订购
96650-01201412141103-- 根据要求
96650-01602016201103M6, M8M10 根据要求
96650-02502825281364M10, M12M16 根据要求
96650-03003230321364M14, M16M18, M20 根据要求
96650-03403634361705M18, M20M22 根据要求
96650-03804538451705M26M24 - M30 根据要求
96650-04004240421705M22, M24M26, M28 根据要求
96650-04505045502066M26 - M30M32, M35 根据要求
96650-05205552552066M32, M35M38 根据要求
96650-05806258622407M38 - M42M42 - M45 根据要求
96650-06507065702407-M48 - M52 根据要求
96650-06807568752407M45 - M50M50 - M55 根据要求
96650-08009080902808M52 - M60M60 - M70 根据要求
我的 norelemE-Mail密码
购物车
商品数量: 0
总数: 0.00  
点击购物车
欢迎扫描二维码
咨询诺瑞朗官方客服微信
中国
苏ICP备20011289号-1  苏公网安备32058502011222 网页地图 打印 推荐 Top
Copyright © 2025 norelem. 保留所有权利。 电话 +49 71 45/206-44 至 45 · 传真 +49 71 45/206-83