|
Item description/product images |
|
|
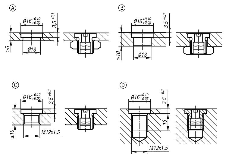
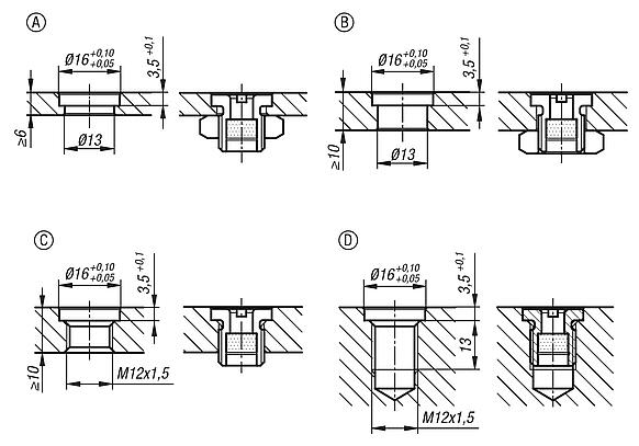
DescriptionMaterial:Housing stainless steel. Magnet neodymium.Version:Housing bright.Note:A magnet in the bush attracts the pin (09221) and holds it with the specified retaining force. Repeat accuracy ± 0.25. The repeat accuracy can be increased with the aid of additional locating pins.
Installation dimensions for Form A: min. plate thickness 6 mm. Installation dimensions for Form B: max. plate thickness 10 mm. Installation dimensions for Form C: plate thickness > 10 mm. Installation dimensions for Form D: blind hole.On request:Suitable nuts.Accessory:Pin 09221.Drawing reference:Special features: DownloadHere is all the information as a PDF datasheet:
Are you looking for CAD data? These can be found directly in the product table.
|
| Order No. | Clamping force N | Shearing force kN | Temperature resistance | CAD | Acc. | Price | Order |
|---|
| 09220-6 | 7 | 0,8 | ≤80 °C |  | | on request | |
Other items in this category |
|
|