|
|
|
41501-05带固定卡爪的楔形夹具,适用于多重夹紧系统 |
返回 |
|
|
产品说明产品描述:楔形夹具的特殊结构尤其适合进行多重夹紧。其楔形面结构可以达到较大的夹持力。拧入夹紧螺栓时,两个夹紧元件会朝外移动,并将工件顶在固定的定位卡爪上。 通过楔形块中的腰型孔,可以移动楔形夹具时或进行公差补偿。 移动行程:M12 = ±1.0 mm。材料:楔形块和夹紧元件材质为调质钢。规格:楔形块和夹紧元件经硬化和黑色氧化处理。提示:此楔形夹具只能与夹紧导轨 41500 搭配使用,适用于多重夹紧系统。 侧面固定孔用于固定工件挡块。 在夹紧面上的两个旋拧孔处还可以额外安装支撑板,以达到最佳的工件夹紧深度。 优点:通过夹紧导轨和固定卡爪的侧面标度,可确保了极高的可重复装夹精度。供货范围楔形夹具。 固定螺栓。 型槽螺母。图纸提示:A 型:光滑夹紧面 B 型:齿面夹紧面 C 型:带阶梯 D 型:有加工余量 E 型:带锁销 下载此处为收集信息的 PDF:
查找 CAD 数据?请直接在产品列表中查找。
|
带固定卡爪的楔形夹具,适用于多重夹紧系统 |
更多信息 |
| 订货号 | 类型 | L min. | L max. | B | H | B1 | H1 | H3 | D 内螺纹 | D1 | F 内六角螺钉 DIN 912 | G 内六角螺丝 DIN 912 | Z 内六角螺丝 DIN 912 | 夹紧力 max. kN | 锁紧扭矩 max. Nm | CAD | 配件 | 价格 | 订购 |
|---|
| 41501-05-0500112 | A | 64 | 70 | 50 | 25 | 30 | 12,5 | 3,5 | M5 | M6 | - | M12x30 | M12x25 | 30 | 85 |  | | 根据要求 | | | 41501-05-0720116 | A | 86 | 93 | 72 | 39,7 | 44 | 21,3 | 3,5 | M6 | M6 | - | M16x50 | M16X40 | 50 | 150 |  | | 根据要求 | | | 41501-05-1000116 | A | 101,5 | 111,5 | 100 | 42,6 | 64 | 21,6 | 5 | M8 | M8 | M14X1,5X50 | - | M16X40 | 50 | 150 |  | | 根据要求 | |
|
带固定卡爪的楔形夹具,适用于多重夹紧系统,B 型,齿面夹紧面 |
更多信息 |
| 订货号 | 类型 | L min. | L max. | B | H | B1 | H1 | H3 | D 内螺纹 | D1 | F 内六角螺钉 DIN 912 | G 内六角螺丝 DIN 912 | Z 内六角螺丝 DIN 912 | 夹紧力 max. kN | 锁紧扭矩 max. Nm | CAD | 配件 | 价格 | 订购 |
|---|
| 41501-05-0500212 | B | 64 | 70 | 50 | 25 | 30 | 12,5 | 3,5 | M5 | M6 | - | M12x30 | M12x25 | 30 | 85 |  | | 根据要求 | | | 41501-05-0720216 | B | 86 | 93 | 72 | 39,7 | 44 | 21,3 | 3,5 | M6 | M6 | - | M16x50 | M16X40 | 50 | 150 |  | | 根据要求 | | | 41501-05-1000216 | B | 101,5 | 111,5 | 100 | 42,6 | 64 | 21,6 | 5 | M8 | M8 | M14X1,5X50 | - | M16X40 | 50 | 150 |  | | 根据要求 | |
|
带固定卡爪的楔形夹具,适用于多重夹紧系统,C 型,带阶梯 |
更多信息 |
| 订货号 | 类型 | L min. | L max. | B | H | B1 | H1 | H2 | H3 | D 内螺纹 | D1 | F 内六角螺钉 DIN 912 | G 内六角螺丝 DIN 912 | Z 内六角螺丝 DIN 912 | 夹紧力 max. kN | 锁紧扭矩 max. Nm | CAD | 配件 | 价格 | 订购 |
|---|
| 41501-05-0502312 | C | 71 | 77 | 50 | 25 | 30 | 12,5 | 2 | 3,5 | M5 | M6 | - | M12x30 | M12x25 | 30 | 85 |  | | 根据要求 | | | 41501-05-0505312 | C | 71 | 77 | 50 | 25 | 30 | 12,5 | 5 | 3,5 | M5 | M6 | - | M12x30 | M12x25 | 30 | 85 |  | | 根据要求 | | | 41501-05-0722316 | C | 91,2 | 98,6 | 72 | 39,7 | 44 | 21,3 | 2 | 3,5 | M6 | M6 | - | M16x50 | M16X40 | 50 | 150 |  | | 根据要求 | | | 41501-05-0725316 | C | 91,2 | 98,6 | 72 | 39,7 | 44 | 21,3 | 5 | 3,5 | M6 | M6 | - | M16x50 | M16X40 | 50 | 150 |  | | 根据要求 | | | 41501-05-1002316 | C | 107,5 | 117,5 | 100 | 42,6 | 64 | 21,6 | 2 | 5 | M8 | M8 | M14X1,5X50 | - | M16X40 | 50 | 150 |  | | 根据要求 | | | 41501-05-1005316 | C | 107,5 | 117,5 | 100 | 42,6 | 64 | 21,6 | 5 | 5 | M8 | M8 | M14X1,5X50 | - | M16X40 | 50 | 150 |  | | 根据要求 | |
|
带固定卡爪的楔形夹具,适用于多重夹紧系统,D 型,有加工余量 |
更多信息 |
| 订货号 | 类型 | L min. | L max. | B | H | B1 | H1 | H3 | D 内螺纹 | D1 | F 内六角螺钉 DIN 912 | G 内六角螺丝 DIN 912 | Z 内六角螺丝 DIN 912 | 夹紧力 max. kN | 锁紧扭矩 max. Nm | CAD | 配件 | 价格 | 订购 |
|---|
| 41501-05-0500412 | D | 75 | 81 | 50 | 25 | 30 | 12,5 | 3,5 | M5 | M6 | - | M12x30 | M12x25 | 30 | 85 |  | | 根据要求 | | | 41501-05-0720416 | D | 95 | 103 | 72 | 39,7 | 44 | 21,3 | 3,5 | M6 | M6 | - | M16x50 | M16X40 | 50 | 150 |  | | 根据要求 | | | 41501-05-1000416 | D | 111,5 | 121,5 | 100 | 42,6 | 64 | 21,6 | 5 | M8 | M8 | M14X1,5X50 | - | M16X40 | 50 | 150 |  | | 根据要求 | |
|
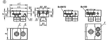
带固定卡爪的楔形夹具,适用于多重夹紧系统,E 型,带锁销 |
更多信息 |
| 订货号 | 类型 | L min. | L max. | B | H | B1 | B2 | H1 | H3 | H5 | H6 | D 内螺纹 | D1 | F 内六角螺钉 DIN 912 | G 内六角螺丝 DIN 912 | Z 内六角螺丝 DIN 912 | 夹紧力 max. kN | 锁紧扭矩 max. Nm | CAD | 配件 | 价格 | 订购 |
|---|
| 41501-05-0500512 | E | 74,5 | 80,5 | 50 | 25 | 30 | 18 | 12,5 | 3,5 | 9 | 4,75 | M5 | M6 | - | M12x30 | M12x25 | 30 | 85 |  | | 根据要求 | | | 41501-05-0720516 | E | 94,6 | 102 | 72 | 39,7 | 44 | 27 | 21,3 | 3,5 | 9 | 4,75 | M6 | M6 | - | M16x50 | M16X40 | 50 | 150 |  | | 根据要求 | | | 41501-05-1000516 | E | 111 | 121 | 100 | 42,6 | 64 | 40 | 21,6 | 5 | 9 | 4,75 | M8 | M8 | M14X1,5X50 | - | M16X40 | 50 | 150 |  | | 根据要求 | |
|
|
|