norelem 使用 Cookies 以优化设计和持续改进网页。您通过继续使用网页,同意使用 Cookies。在我们的数据保护声明中可以找到有关 Cookies 主题的详细信息。同意

商品描述/产品说明

查看/筛选所有商品
产品说明材料:钢制主体。
调质钢材质的衬套。
规格:黑色氧化处理。提示:通过定心夹具可以在定位孔中对工件进行定心和夹紧。定心夹具具有较大的范围。产品品种涵盖 Ø12 至 Ø30 mm 的夹紧范围。为了提高定心的精确度,可以通过定心销 (D2) 将定心夹具固定在定位孔中。定心精度为 +/- 0.2 mm。
带内螺纹的定心夹具同样适用 M6 格栅系统(参见应用示例)。
特点:
RoHS
下载此处为收集信息的 PDF:

查找 CAD 数据?请直接在产品列表中查找。
 Datasheet 03165 定心夹具 336 kB

图片(总概述)

定心夹具

带内螺纹的定心夹具

更多信息

图纸

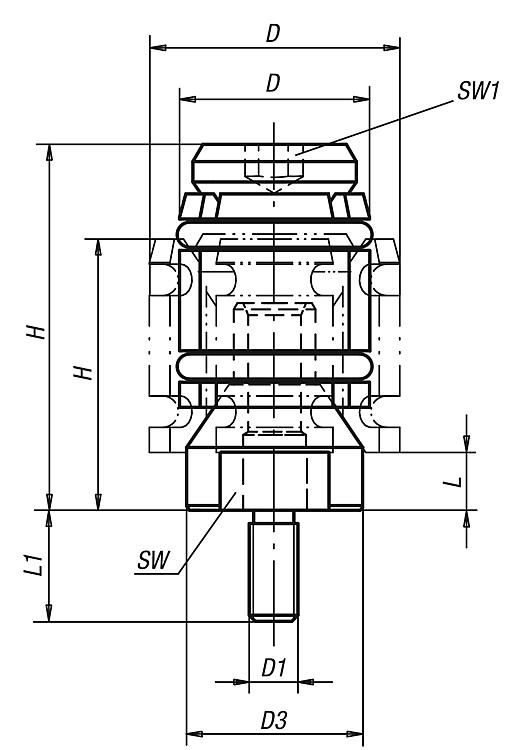
带内螺纹的定心夹具

商品选择/筛选

订货号螺纹类型D

D1L2D
min.
D2D3H
min.
H
max.
L
min.
SWSW1夹紧力
max. kN
锁紧扭矩
max. Nm
CAD配件价格订购
03165-0615内螺纹15M64121211,42227,54,892,51,52,2 根据要求
03165-0619内螺纹19M6415121424,5324,81242,56 根据要求
03165-0624内螺纹24M64191217,826354,5155410 根据要求
03165-0630内螺纹30M642412233244,571954,510 根据要求

带外螺纹的定心夹具

更多信息

图纸

带外螺纹的定心夹具

商品选择/筛选

订货号螺纹类型D

D1L1D
min.
D3H
min.
H
max.
L
min.
SWSW1夹紧力
max. kN
锁紧扭矩
max. Nm
CAD配件价格订购
03165-061215外螺纹15M6121211,42227,54,892,51,52,2 根据要求
03165-061219外螺纹19M612151424,5324,81242,56 根据要求
03165-081624外螺纹24M8161917,826354,5155410 根据要求
03165-081630外螺纹30M81624233244,571954,510 根据要求
我的 norelemE-Mail密码
购物车
商品数量: 0
总数: 0.00  
点击购物车
欢迎扫描二维码
咨询诺瑞朗官方客服微信
中国
苏ICP备20011289号-1  苏公网安备32058502011222 网页地图 打印 推荐 Top
Copyright © 2025 norelem. 保留所有权利。 电话 +49 71 45/206-44 至 45 · 传真 +49 71 45/206-83