norelem 使用 Cookies 以优化设计和持续改进网页。您通过继续使用网页,同意使用 Cookies。在我们的
数据保护声明
中可以找到有关 Cookies 主题的详细信息。
同意
全球分布
创意
AGB
版权说明
数据保护
产品
企业信息
服务
下载
新闻
联系方式
产品概览
固定
灵活的标准件系统
装配
装配系统
运动
用于机床和设备制造的系统/组件
检查
量具检具组件
夹紧
夹紧技术
控制和调节
电动机构
输送
输送和移动技术
technoshop
norelem inch
英制产品目录
03191-99
不锈钢快锁插销,可伸缩,带旋转驱动器和不锈钢旋转头
返回
产品
产品概览
灵活的标准件系统
弹簧柱塞、 分度销、 挡块、 定心和定位元件、 固定装置、 型槽螺母
快锁插销
不锈钢快锁插销,可伸缩,带旋转驱动器和不锈钢旋转头
商品描述/产品说明
产品说明
材料:
不锈钢壳体和螺栓 1.4305。
不锈钢旋钮 1.4301。
规格:
亮色。
提示:
随供了 M2 或 M3 不锈钢固定螺栓。
安装方式 1,用于板厚 6 mm。
安装方式 2,用于板厚 > 6 至 14 mm。
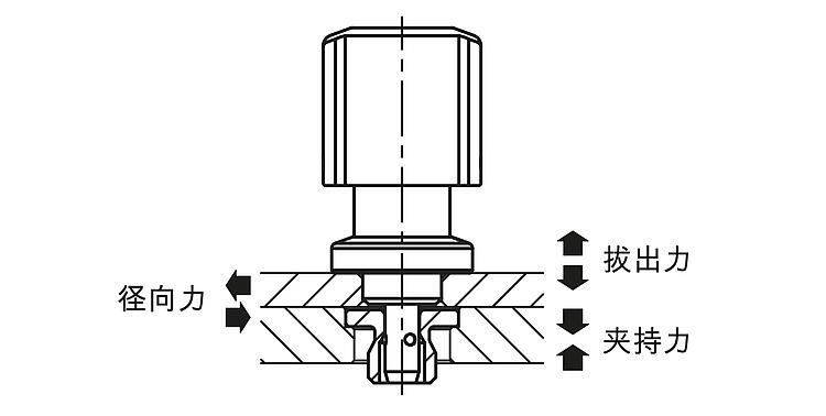
如果超过夹持力,则板与板之间会产生 0.1 mm 以上的间隙。
使用说明:
确保旋钮处于“OFF”档位,且螺栓缩回。
将快锁插销滑动或放置在固定衬套上。将旋钮向下按并拧到档位“ON”上。
附件:
用于快锁插销 03192-02 的固定衬套。
图纸提示:
1) 安装方式 1
2) 安装方式 2
3) 板
特点:
下载
此处为收集信息的 PDF:
查找 CAD 数据?请直接在产品列表中查找。
Datasheet 03191-99 不锈钢快锁插销,可伸缩,带旋转驱动器和不锈钢旋转头
361 kB
图纸
商品选择/筛选
订货号
D
D1
D2
D3
D4
D5
D6
D7
D8
H
H1
H2
L1
L2
M
T
T1
T2
CAD
配件
价格
订购
03191-99-1620
14
6
25
28
21
14
26
4,4
2,4
58
6,5
43,5
5,5
19,5
M2x3
6
6-10
2,5
根据要求
03191-99-11022
18
10
34
36
28
18
35
6,5
3,4
66
10
50
5,5
21,5
M3x4
6
6-14
2,5
根据要求
订货号
径向力
kN
夹紧力
N
拔出力 F
kN
夹持力
N
工作温度
CAD
配件
价格
订购
03191-99-1620
3
30
0,5
90
≤180 °C
根据要求
03191-99-11022
9
50
1,5
150
≤180 °C
根据要求
订货号
名称
类型 1
类型 2
形状类型
CAD
配件
价格
订购
03191-99-1620
快锁插销
-
-
-
根据要求
03191-99-11022
快锁插销
-
-
-
根据要求
本类目的其他商品
<<
|
<
|
1-10
|
11-20
|
21-30
|
31-40
|
41-50
|
51-60
|
>
|
>>
03191-90
钢制重型快锁插销 带旋转驱动器和不锈钢旋转头
03191-91
不锈钢重型快锁插销,可伸缩,带旋转驱动器和不锈钢旋转头
03191-95
快锁插销的钢制固定衬套
03192
带螺纹的钢制或不锈钢快锁插销,无球头
03192
带螺纹的钢制快锁插销
03192
带螺纹的不锈钢快锁插销
03192-01
快锁插销,带旋转驱动器和塑料或不锈钢旋转头
03192-02
衬套,适用快锁插销
03192-08
不锈钢重型旋转锁闩 带旋转驱动器和塑料或不锈钢旋转头
03192-09
不锈钢夹紧销,用于旋转锁闩
<<
|
<
|
1-10
|
11-20
|
21-30
|
31-40
|
41-50
|
51-60
|
>
|
>>
我的 norelem
E-Mail
密码
忘记密码
首次登陆
购物车
商品数量:
0
总数:
0.00
€
点击购物车
欢迎扫描二维码
咨询诺瑞朗官方客服微信
Algérie
Andorra
Argentina
Australia
België
Bolivia
Bosna i Hercegovina
Brasil
Canada
Česká republika
Chile
中国
Colombia
Costa Rica
Cuba
Danmark
Dem. Peop. Rep. of Korea
Deutschland
Ecuador
Eesti
España
Georgia
香港
Hrvatska
India
Ireland
Ísland
Italia
Jamaica
日本
Latvija
Liechtenstein
Lietuvos
Luxemburg
Magyarország
Malaysia
Malta
México
Nederland
New Zealand
Norge
Österreich
Pakistan
Paraguay
Perú
Polska
Portugal
Principauté de Monaco
台灣
Rep. di San Marino
대한민국
România
Schweiz
Singapore
Slovenija
Slovensko
South Africa
Suomi
Sverige
Türkiye
United Kingdom
United States of America
Uruguay
Venezuela
Việt Nam
Ελλάδα
Κύπρος
Беларусь
България
Република Србија
Россия
Србија и Црна Гора
Україна
ישראל
الامارات العربية المتحدة
السعودية
ايران
مصر
ประเทศไทย
Chinese
English
苏ICP备20011289号-1
苏公网安备32058502011222
网页地图
打印
推荐
Top
Copyright © 2025 norelem. 保留所有权利。
电话 +49 71 45/206-44 至 45 · 传真 +49 71 45/206-83