norelem 使用 Cookies 以优化设计和持续改进网页。您通过继续使用网页,同意使用 Cookies。在我们的数据保护声明中可以找到有关 Cookies 主题的详细信息。同意

商品描述/产品说明

产品说明材料:钢制承载板。
烧结青铜制中间层。
PTFE 制滑面。
规格:钢制镀锌。提示:免维护滚轧钢制组合滑动轴承尤其适合干运行。同时也十分适合用于润滑(油润滑)。极低磨损和摩擦系数,无黏滑效应。适合旋转和往复运动,高耐化学性,低吸水性。技术参数:静态负载: 最大值 250 N/mm²
动态负载: 最大值 140 N/mm²
干摩擦系数: 0.03 - 0.20
干滑动速度: 最大值 2 m/s
油润滑滑动速度: 最大值 5 m/s
导热系数: 42 W(m*K)-1
热膨胀系数: 11*10-6 K-1
温度范围: -195 °C 至 +280 °C
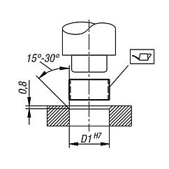
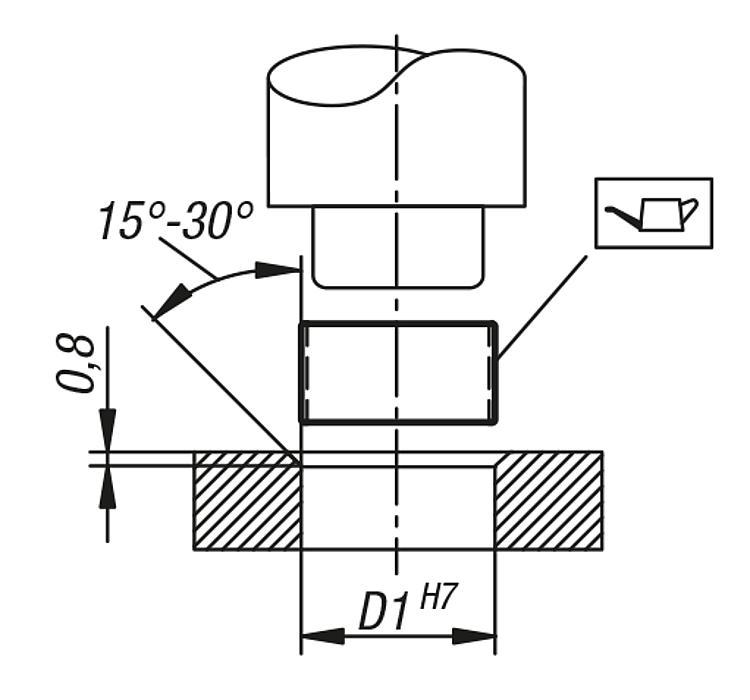
装配:建议使用适配压头以避免滑面损坏。接合缝应处于负载区对面。轴承在安装后具有压配合。可进行粘贴,但不是必需的。公差:壳体:
建议公差 H7。
表面特性 Ra 0.8 - 1.6。
棱角(压入侧 0.8 - 1.2 x 15°)。

轴:
建议公差 h8 至 f7。在较低转速和负载下使用时也可使用具有 h9 的拉削轴。
拉削轴 Ra 1.6 - 3.2 的轴表面 Ra 0.4 - 0.8(优先使用经打磨处理的轴)。
图纸提示:
1) 接合缝
特点:
RoHS
下载此处为收集信息的 PDF:

查找 CAD 数据?请直接在产品列表中查找。
 Datasheet 23730 圆柱形滑动轴承 264 kB

图纸

圆柱形滑动轴承

商品选择/筛选

订货号

D

D1LCAD配件价格订购
23730-0030040434,54 根据要求
23730-0030040534,55 根据要求
23730-0030040634,56 根据要求
23730-0040050445,54 根据要求
23730-0040050645,56 根据要求
23730-0040050845,58 根据要求
23730-00500705575 根据要求
23730-00500708578 根据要求
23730-00600805685 根据要求
23730-00600806686 根据要求
23730-006008106810 根据要求
23730-007009107910 根据要求
23730-008010068106 根据要求
23730-008010088108 根据要求
23730-0080101081010 根据要求
23730-0100120610126 根据要求
23730-0100120810128 根据要求
23730-01001210101210 根据要求
23730-01001212101212 根据要求
23730-01001215101215 根据要求
23730-01001220101220 根据要求
23730-0120140612146 根据要求
23730-0120140812148 根据要求
23730-01201410121410 根据要求
23730-01201412121412 根据要求
23730-01201415121415 根据要求
23730-01201420121420 根据要求
23730-01401610141610 根据要求
23730-01401620141620 根据要求
23730-01501710151710 根据要求
23730-01501712151712 根据要求
23730-01501715151715 根据要求
23730-01501720151720 根据要求
23730-01601810161810 根据要求
23730-01601815161815 根据要求
23730-01601820161820 根据要求
23730-01601825161825 根据要求
23730-01802020182020 根据要求
23730-02002310202310 根据要求
23730-02002312202312 根据要求
23730-02002315202315 根据要求
23730-02002320202320 根据要求
23730-02002330202330 根据要求
23730-02202520222520 根据要求
23730-02402725242725 根据要求
23730-02502815252815 根据要求
23730-02502820252820 根据要求
23730-02502825252825 根据要求
23730-02502830252830 根据要求
23730-02502840252840 根据要求
23730-02602915263015 根据要求
23730-02602920263020 根据要求
23730-02602930263030 根据要求
23730-02803220283220 根据要求
23730-02803225283225 根据要求
23730-03003412303412 根据要求
23730-03003415303415 根据要求
23730-03003420303420 根据要求
23730-03003430303430 根据要求
23730-03003435303435 根据要求
23730-03203620323620 根据要求
23730-03203625323625 根据要求
23730-03503920353920 根据要求
23730-03503940353940 根据要求
23730-03804225384225 根据要求
23730-04004420404420 根据要求
23730-04004430404430 根据要求
23730-04004450404450 根据要求
23730-05005530505530 根据要求
23730-05005550505550 根据要求
我的 norelemE-Mail密码
购物车
商品数量: 0
总数: 0.00  
点击购物车
欢迎扫描二维码
咨询诺瑞朗官方客服微信
中国
苏ICP备20011289号-1  苏公网安备32058502011222 网页地图 打印 推荐 Top
Copyright © 2025 norelem. 保留所有权利。 电话 +49 71 45/206-44 至 45 · 传真 +49 71 45/206-83