|
|
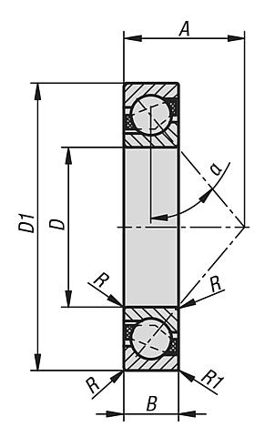
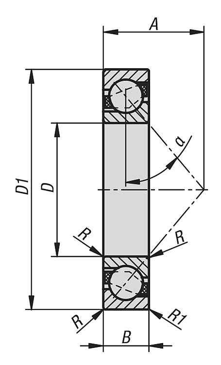
产品说明材料:滚动轴承钢制内环、外环和滚动体。 玻璃纤维增强型聚酰胺制保持架。规格:开放。提示:单列推力角接触球轴承接收高径向和轴向负载。轴向负载仅在相对轴肩导向装置的方向被接收。需要另一个对称布置的轴承来进行轴向反向导向。通过 40° 的压力角,此轴承可承载较高的轴向力。适合较高转速。
推力角接触球轴承的主要尺寸符合 DIN 628-1。尺寸和运行公差符合依照 DIN 620 的公差等级 PN。这些公差等级为标准型并适合多数应用情况。温度范围:-30 °C 至 +120 °C。根据要求:通过两侧接触式 NBR 制唇形密封件密封。 其他尺寸和规格。特点: 下载此处为收集信息的 PDF:
查找 CAD 数据?请直接在产品列表中查找。
|
| 订货号 | 缩写 | D
| D1 | B | R min. | R1 min. | α | A | 额定负载 动态 N | 额定负载 静态 N | 最高转速 1/min. | CAD | 配件 | 价格 | 订购 |
|---|
| 23805-001003009 | 7200-B-TVP | 10 | 30 | 9 | 0,6 | 0,3 | 40° | 13 | 5300 | 2600 | 32000 |  | | 根据要求 | | | 23805-001203210 | 7201-B-TVP | 12 | 32 | 10 | 0,6 | 0,3 | 40° | 14 | 7400 | 3550 | 28000 |  | | 根据要求 | | | 23805-001503511 | 7202-B-TVP | 15 | 35 | 11 | 0,6 | 0,3 | 40° | 16 | 8400 | 4450 | 24000 |  | | 根据要求 | | | 23805-001704012 | 7203-B-TVP | 17 | 40 | 12 | 0,6 | 0,3 | 40° | 18 | 10500 | 5700 | 20000 |  | | 根据要求 | | | 23805-002004714 | 7204-B-TVP | 20 | 47 | 14 | 1 | 0,6 | 40° | 21 | 14400 | 7800 | 18000 |  | | 根据要求 | | | 23805-002505215 | 7205-B-TVP | 25 | 52 | 15 | 1 | 0,6 | 40° | 24 | 15300 | 9000 | 16000 |  | | 根据要求 | | | 23805-003006216 | 7206-B-TVP | 30 | 62 | 16 | 1 | 0,6 | 40° | 27 | 21700 | 14100 | 13000 |  | | 根据要求 | | | 23805-003507217 | 7207-B-TVP | 35 | 72 | 17 | 1,1 | 0,6 | 40° | 31 | 28000 | 19000 | 11000 |  | | 根据要求 | | | 23805-004008018 | 7208-B-TVP | 40 | 80 | 18 | 1,1 | 0,6 | 40° | 34 | 34000 | 23500 | 9500 |  | | 根据要求 | | | 23805-004508519 | 7209-B-TVP | 45 | 85 | 19 | 1,1 | 0,6 | 40° | 37 | 37500 | 27000 | 8500 |  | | 根据要求 | | | 23805-005009020 | 7210-B-TVP | 50 | 90 | 20 | 1,1 | 0,6 | 40° | 39 | 39000 | 28500 | 8000 |  | | 根据要求 | |
|
|