|
|
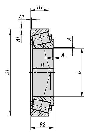
产品说明材料:滚动轴承钢制内环、外环和滚动体。 钢制保持架。规格:系列 302 系列 303 系列 320(ISO 尺寸)提示:锥形滚子轴承接收高径向和轴向负载。轴向负载仅在一个方向被接收。需要另一个对称布置的轴承来进行轴向反向导向。适合中等转速。
轴承并非自保持型。这就意味着轴承部件可分别安装。轴承在无密封的情况下提供。可用油脂或油润滑正面。
锥形滚子轴承的主要尺寸符合 DIN ISO 355 和 DIN 720。尺寸和运行公差符合依照 DIN 620 的公差等级 PN。这些公差等级为标准型并适合多数应用情况。温度范围:-30 °C 至 +120 °C。根据要求:其他尺寸和规格。特点: 下载此处为收集信息的 PDF:
查找 CAD 数据?请直接在产品列表中查找。
|
| 订货号 | 缩写 | 形状类型 | D
| D1 | B | B1 | B2 | A | A1 | 额定负载 动态 N | 额定负载 静态 N | 最高转速 1/min. | CAD | 配件 | 价格 | 订购 |
|---|
| 23825-101504213 | 30302-A | 系列 303 | 15 | 42 | 13 | 11 | 14,25 | 1 | 1 | 23000 | 20500 | 21000 |  | | 根据要求 | | | 23825-001704012 | 30203-A | 系列 302 | 17 | 40 | 12 | 11 | 13,25 | 1 | 1 | 18500 | 17800 | 21000 |  | | 根据要求 | | | 23825-101704714 | 30303-A | 系列 303 | 17 | 47 | 14 | 12 | 15,25 | 1 | 1 | 27500 | 24500 | 18200 |  | | 根据要求 | | | 23825-302004215 | 32004-X | 系列 320(ISO 尺寸) | 20 | 42 | 15 | 12 | 15 | 0,6 | 0,6 | 24000 | 28500 | 18200 |  | | 根据要求 | | | 23825-002004714 | 30204-A | 系列 302 | 20 | 47 | 14 | 12 | 15,25 | 1 | 1 | 27000 | 27000 | 16800 |  | | 根据要求 | | | 23825-102005215 | 30304-A | 系列 303 | 20 | 52 | 15 | 13 | 16,25 | 1,5 | 1,5 | 34000 | 32500 | 15400 |  | | 根据要求 | | | 23825-302504715 | 32005-X | 系列 320(ISO 尺寸) | 25 | 47 | 15 | 11,5 | 15 | 0,6 | 0,6 | 26500 | 33500 | 15400 |  | | 根据要求 | | | 23825-102506217 | 30305-A | 系列 303 | 25 | 62 | 17 | 15 | 18,25 | 1,5 | 1,5 | 47000 | 45500 | 12600 |  | | 根据要求 | | | 23825-303005517 | 32006-X | 系列 320(ISO 尺寸) | 30 | 55 | 17 | 13 | 17 | 1 | 1 | 38500 | 46500 | 12600 |  | | 根据要求 | | | 23825-003006216 | 30206-A | 系列 302 | 30 | 62 | 16 | 14 | 17,25 | 1 | 1 | 43500 | 48000 | 11900 |  | | 根据要求 | | | 23825-103007219 | 30306-A | 系列 303 | 30 | 72 | 19 | 16 | 20,75 | 1,5 | 1,5 | 60000 | 61000 | 10500 |  | | 根据要求 | | | 23825-303506218 | 32007-X | 系列 320(ISO 尺寸) | 35 | 62 | 18 | 14 | 18 | 1 | 1 | 45500 | 57000 | 11200 |  | | 根据要求 | | | 23825-003507217 | 30207-A | 系列 302 | 35 | 72 | 17 | 15 | 18,25 | 1,5 | 1,5 | 54000 | 59000 | 9800 |  | | 根据要求 | | | 23825-103508021 | 30307-A | 系列 303 | 35 | 80 | 21 | 18 | 22,75 | 2 | 1,5 | 73000 | 75000 | 9400 |  | | 根据要求 | | | 23825-304006819 | 32008-XA | 系列 320(ISO 尺寸) | 40 | 68 | 19 | 14,5 | 19 | 1 | 1 | 53000 | 71000 | 9800 |  | | 根据要求 | | | 23825-004008018 | 30208-A | 系列 302 | 40 | 80 | 18 | 16 | 19,75 | 1,5 | 1,5 | 61000 | 67000 | 8800 |  | | 根据要求 | | | 23825-104009023 | 30308-A | 系列 303 | 40 | 90 | 23 | 20 | 25,25 | 2 | 1,5 | 91000 | 102000 | 7800 |  | | 根据要求 | | | 23825-304507520 | 32009-XA | 系列 320(ISO 尺寸) | 45 | 75 | 20 | 15,5 | 20 | 1 | 1 | 61000 | 86000 | 8800 |  | | 根据要求 | | | 23825-104510025 | 30309-A | 系列 303 | 45 | 100 | 25 | 18 | 27,25 | 2 | 1,5 | 96000 | 108000 | 6700 |  | | 根据要求 | | | 23825-305008020 | 32010-X | 系列 320(ISO 尺寸) | 50 | 80 | 20 | 15,5 | 20 | 1 | 1 | 64000 | 93000 | 7800 |  | | 根据要求 | | | 23825-105011027 | 30310-A | 系列 303 | 50 | 110 | 27 | 23 | 29,25 | 2,5 | 2 | 130000 | 148000 | 6300 |  | | 根据要求 | |
|
|