norelem 使用 Cookies 以优化设计和持续改进网页。您通过继续使用网页,同意使用 Cookies。在我们的
数据保护声明
中可以找到有关 Cookies 主题的详细信息。
同意
全球分布
创意
AGB
版权说明
数据保护
产品
企业信息
服务
下载
新闻
联系方式
产品概览
固定
灵活的标准件系统
装配
装配系统
运动
用于机床和设备制造的系统/组件
检查
量具检具组件
夹紧
夹紧技术
控制和调节
电动机构
输送
输送和移动技术
technoshop
norelem inch
英制产品目录
23831-10
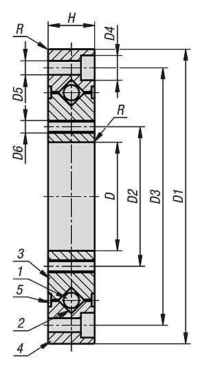
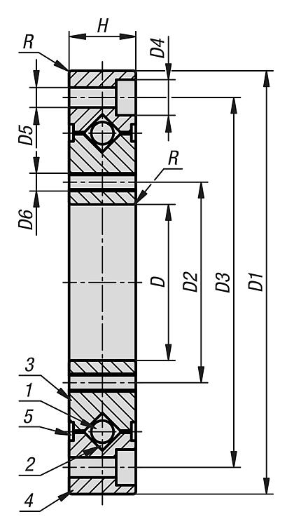
钢制交叉滚子轴承,带固定孔
返回
产品
产品概览
用于机床和设备制造的系统和组件
联轴器、 刚性联轴器、 胀紧套、 万向节、 快速插拔联轴器、 轴承、 密封件
滚动轴承
钢制交叉滚子轴承,带固定孔
商品描述/产品说明
产品说明
材料:
滚动轴承钢制内环、外环和滚动体。
提示:
内、外环上带固定孔的交叉滚子轴承无需法兰盘或外壳。这最大限度地减少了安装误差,确保了精确的旋转精度和恒定的扭矩。交叉滚子轴承既适用于内环旋转,也适用于外环旋转。
径向轴承间隙有两种选择:具有正常间隙 C1 的轴承(订货号:23831-0XXXXX)和具有预紧 S1 的轴承(订货号:23831-1XXXXX)。
交叉滚子轴承的公差等级为 P0。公差等级描述了内、外环的径向和轴向偏差。
交叉滚子轴承配备两侧密封。
可根据要求提供其他轴承间隙和公差等级。
技术参数:
参见下载、技术说明。
图纸提示:
1) 滚轮
2) 间隔垫片
3) 内环
4) 外环
5) 密封件
特点:
下载
此处为收集信息的 PDF:
查找 CAD 数据?请直接在产品列表中查找。
Datasheet 23831-10 钢制交叉滚子轴承,带固定孔
230 kB
交叉滚子轴承使用说明
261 kB
图纸
商品选择/筛选
订货号
类型 2
D
D1
D2
D3
D4
D5
D6
H
R
额定负载
静态
kN
额定负载
动态
kN
CAD
配件
价格
订购
23831-10-002012
正常间隙
20
70
28
57
6,5
3,4
M3
12
0,6
8,35
7,35
根据要求
23831-10-003515
正常间隙
35
95
45
83
8
4,5
M4
15
0,6
22,3
17,5
根据要求
23831-10-005515
正常间隙
55
120
65
105
9,5
5,5
M5
15
0,6
29,5
20,3
根据要求
23831-10-102012
经预紧处理
20
70
28
57
6,5
3,4
M3
12
0,6
8,35
7,35
根据要求
23831-10-103515
经预紧处理
35
95
45
83
8
4,5
M4
15
0,6
22,3
17,5
根据要求
23831-10-105515
经预紧处理
55
120
65
105
9,5
5,5
M5
15
0,6
29,5
20,3
根据要求
本类目的其他商品
<<
|
<
|
1-10
|
11-13
|
>
|
>>
23800
单列 FAG 向心球轴承
23800-01
深沟球轴承,不锈钢制
23800-03
全陶瓷球轴承 ZrO2
23800-04
全陶瓷球轴承 Si3N4
23805
单列 FAG 推力角接触球轴承
23806
轴向推力角接触球轴承
钢制,双排
23806-01
钢制轴向推力角接触球轴承
双排,带法兰
23815
FAG 球面滚子轴承 圆柱形孔
23820
FAG 圆柱滚子轴承 带保持架
23825
单列 FAG 锥形滚子轴承
<<
|
<
|
1-10
|
11-13
|
>
|
>>
我的 norelem
E-Mail
密码
忘记密码
首次登陆
购物车
商品数量:
0
总数:
0.00
€
点击购物车
欢迎扫描二维码
咨询诺瑞朗官方客服微信
Algérie
Andorra
Argentina
Australia
België
Bolivia
Bosna i Hercegovina
Brasil
Canada
Česká republika
Chile
中国
Colombia
Costa Rica
Cuba
Danmark
Dem. Peop. Rep. of Korea
Deutschland
Ecuador
Eesti
España
Georgia
香港
Hrvatska
India
Ireland
Ísland
Italia
Jamaica
日本
Latvija
Liechtenstein
Lietuvos
Luxemburg
Magyarország
Malaysia
Malta
México
Nederland
New Zealand
Norge
Österreich
Pakistan
Paraguay
Perú
Polska
Portugal
Principauté de Monaco
台灣
Rep. di San Marino
대한민국
România
Schweiz
Singapore
Slovenija
Slovensko
South Africa
Suomi
Sverige
Türkiye
United Kingdom
United States of America
Uruguay
Venezuela
Việt Nam
Ελλάδα
Κύπρος
Беларусь
България
Република Србија
Россия
Србија и Црна Гора
Україна
ישראל
الامارات العربية المتحدة
السعودية
ايران
مصر
ประเทศไทย
Chinese
English
苏ICP备20011289号-1
苏公网安备32058502011222
网页地图
打印
推荐
Top
Copyright © 2025 norelem. 保留所有权利。
电话 +49 71 45/206-44 至 45 · 传真 +49 71 45/206-83