norelem 使用 Cookies 以优化设计和持续改进网页。您通过继续使用网页,同意使用 Cookies。在我们的
数据保护声明
中可以找到有关 Cookies 主题的详细信息。
同意
全球分布
创意
AGB
版权说明
数据保护
产品
企业信息
服务
下载
新闻
联系方式
产品概览
固定
灵活的标准件系统
装配
装配系统
运动
用于机床和设备制造的系统/组件
检查
量具检具组件
夹紧
夹紧技术
控制和调节
电动机构
输送
输送和移动技术
technoshop
norelem inch
英制产品目录
27624
钢制叉形接头 DIN 71752
返回
产品
产品概览
用于机床和设备制造的系统和组件
叉形接头、 万向接头、 球头接头、 轴向接头、 高度可调元件、 万向脚杯、 调节脚、 管端盖、 设备脚、 铰链
叉形接头
钢制叉形接头 DIN 71752
商品描述/产品说明
产品说明
材料:
易切削钢。
规格:
镀锌。
特点:
下载
此处为收集信息的 PDF:
查找 CAD 数据?请直接在产品列表中查找。
Datasheet 27624 钢制叉形接头 DIN 71752
147 kB
图纸
商品选择/筛选
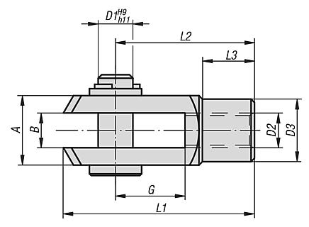
订货号
类型 2
B
G
D1
D2
D3
L1
L2
L3
A
CAD
配件
价格
订购
27624-0510
右旋螺纹
5
10
5
M5
9
26
20
7,5
10
根据要求
27624-0612
右旋螺纹
6
12
6
M6
10
31
24
9
12
根据要求
27624-0816
右旋螺纹
8
16
8
M8
14
42
32
12
16
根据要求
27624-0832
右旋螺纹
8
32
8
M8
14
58
48
12
16
根据要求
27624-1020
右旋螺纹
10
20
10
M10
18
52
40
15
20
根据要求
27624-10120
右旋螺纹
10
20
10
M10x1,25
18
52
40
15
20
根据要求
27624-1040
右旋螺纹
10
40
10
M10
18
72
60
15
20
根据要求
27624-10140
右旋螺纹
10
40
10
M10x1,25
18
72
60
15
20
根据要求
27624-1224
右旋螺纹
12
24
12
M12
20
62
48
18
24
根据要求
27624-12124
右旋螺纹
12
24
12
M12x1,25
20
62
48
18
24
根据要求
27624-1248
右旋螺纹
12
48
12
M12
20
86
72
18
24
根据要求
27624-12148
右旋螺纹
12
48
12
M12x1,25
20
86
72
18
24
根据要求
27624-1428
右旋螺纹
14
28
14
M14
24
72
56
22,5
27
根据要求
27624-1632
右旋螺纹
16
32
16
M16
26
83
64
24
32
根据要求
27624-16132
右旋螺纹
16
32
16
M16x1,5
26
83
64
24
32
根据要求
27624-2040
右旋螺纹
20
40
20
M20
34
105
80
30
40
根据要求
27624-05101
左旋螺纹
5
10
5
M5
9
26
20
7,5
10
根据要求
27624-06121
左旋螺纹
6
12
6
M6
10
31
24
9
12
根据要求
27624-08161
左旋螺纹
8
16
8
M8
14
42
32
12
16
根据要求
27624-10201
左旋螺纹
10
20
10
M10
18
52
40
15
20
根据要求
27624-12241
左旋螺纹
12
24
12
M12
20
62
48
18
24
根据要求
27624-16321
左旋螺纹
16
32
16
M16
26
83
64
24
32
根据要求
27624-20401
左旋螺纹
20
40
20
M20
34
105
80
30
40
根据要求
本类目的其他商品
<<
|
<
|
1-10
|
11-11
|
>
|
>>
27614
万向接头的叉形接头
27615
不锈钢万向接头的叉形接头
27620
带折叠弹簧销的钢制叉形接头 DIN 71752
27621
用于叉头的钢制折叠弹簧销 DIN 71752
27621-01
销带有放置轴用卡簧的环槽
适用于叉头
27621-02
销带有放置卡簧的环槽
适用于叉头
27621-03
带有销孔的销
适用于叉头
27622
不锈钢制叉形接头,DIN 71752
27624-04
钢制或不锈钢叉头 DIN 71752
27624-05
钢制或不锈钢叉头
带外螺纹
<<
|
<
|
1-10
|
11-11
|
>
|
>>
我的 norelem
E-Mail
密码
忘记密码
首次登陆
购物车
商品数量:
0
总数:
0.00
€
点击购物车
欢迎扫描二维码
咨询诺瑞朗官方客服微信
Algérie
Andorra
Argentina
Australia
België
Bolivia
Bosna i Hercegovina
Brasil
Canada
Česká republika
Chile
中国
Colombia
Costa Rica
Cuba
Danmark
Dem. Peop. Rep. of Korea
Deutschland
Ecuador
Eesti
España
Georgia
香港
Hrvatska
India
Ireland
Ísland
Italia
Jamaica
日本
Latvija
Liechtenstein
Lietuvos
Luxemburg
Magyarország
Malaysia
Malta
México
Nederland
New Zealand
Norge
Österreich
Pakistan
Paraguay
Perú
Polska
Portugal
Principauté de Monaco
台灣
Rep. di San Marino
대한민국
România
Schweiz
Singapore
Slovenija
Slovensko
South Africa
Suomi
Sverige
Türkiye
United Kingdom
United States of America
Uruguay
Venezuela
Việt Nam
Ελλάδα
Κύπρος
Беларусь
България
Република Србија
Россия
Србија и Црна Гора
Україна
ישראל
الامارات العربية المتحدة
السعودية
ايران
مصر
ประเทศไทย
Chinese
English
苏ICP备20011289号-1
苏公网安备32058502011222
网页地图
打印
推荐
Top
Copyright © 2025 norelem. 保留所有权利。
电话 +49 71 45/206-44 至 45 · 传真 +49 71 45/206-83