|
|
|
05596-42Snap locks, plastic with recessed grip, snap-in |
go back |
|
|
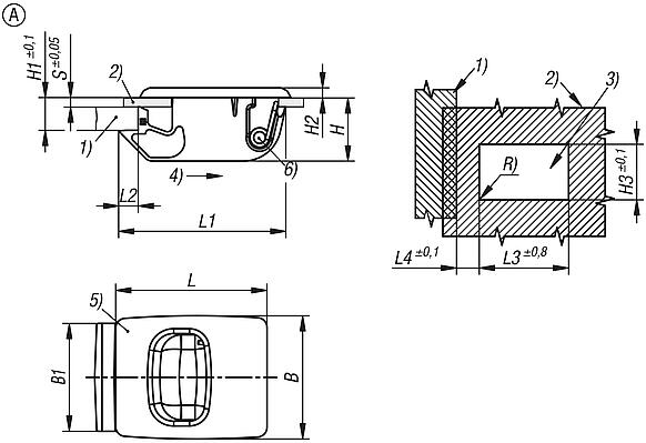
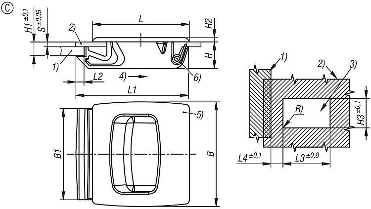
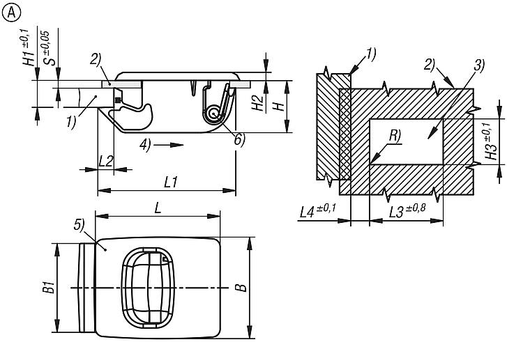
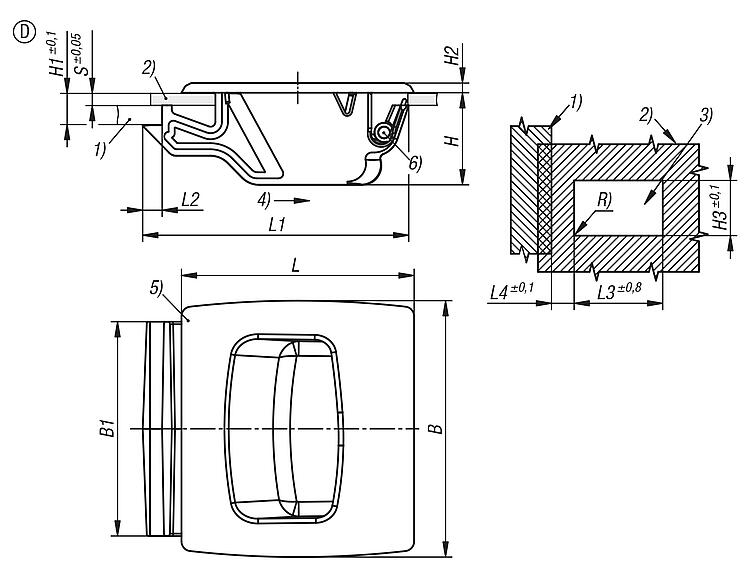
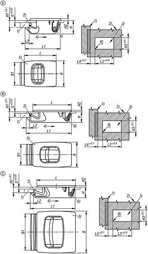
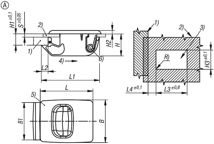
DescriptionMaterial:Lock ABS.
Spring stainless steel 1.4310. Version:Lock black. Spring bright.Note:These snap locks are designed for flush installation in doors, hatches and covers.
Available in six different sizes for different door leaf thicknesses.
Flammability rating: listed UL94-HB.Type of operation:When the grip is pressed down, the latch retracts and the door can be opened. When the door is pushed to, a spring automatically latches it shut.Application:- Automobile industry - Medical technology - Machine construction - Equipment construction - Industrial control cabinetsAssembly:1. Produce a burr-free mounting cutout as shown in the drawing. 2. Insert the lock into the cutout from the front and push forwards. 3. Press the lock down to clip in.Drawing reference:1) Frame 2) Door leaf 3) Mounting cutout 4) Actuation direction 5) Lock 6) Spring Special features: DownloadHere is all the information as a PDF datasheet:
Are you looking for CAD data? These can be found directly in the product table.
|
Drawings (total overview) |
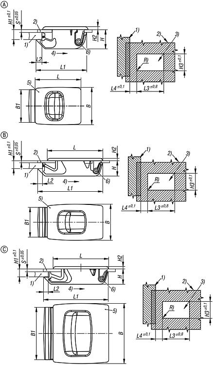
| Order No. | Form | Form definition | B | B1 | H | H1 = Total holding area | H2 | H3 | L | L1 | L2 | L3 | L4 | R | S = Door thickness in mm | Temperature range °C
| CAD | Acc. | Price | Order |
|---|
| 05596-42-1215250 | A | - | 25,2 | 22,1 | 13 | 6,7 | 2 | 22,4 | 31 | 35,3 | 4 | 22 | 8,5 | max. 0,25 | 1,2 | -40 to 60 |  | | on request | | | 05596-42-1515250 | A | - | 25,2 | 22,1 | 13 | 6,7 | 2 | 22,4 | 31 | 35,3 | 4 | 22 | 8,5 | max. 0,25 | 1,5 | -40 to 60 |  | | on request | |
|
| Order No. | Form | Form definition | B | B1 | H | H1 = Total holding area | H2 | H3 | L | L1 | L2 | L3 | L4 | R | S = Door thickness in mm | Temperature range °C
| CAD | Acc. | Price | Order |
|---|
| 05596-42-1315300 | B | small | 30,5 | 25,1 | 13 | 6,7 | 2 | 25,4 | 47 | 55 | 4 | 38,1 | 12,7 | max. 0,25 | 1,3 | -40 to 60 |  | | on request | | | 05596-42-1615300 | B | small | 30,5 | 25,1 | 13 | 6,7 | 2 | 25,4 | 47 | 55 | 4 | 38,1 | 12,7 | max. 0,25 | 1,6 | -40 to 60 |  | | on request | |
|
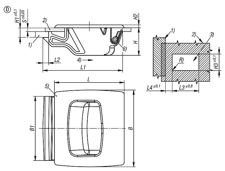
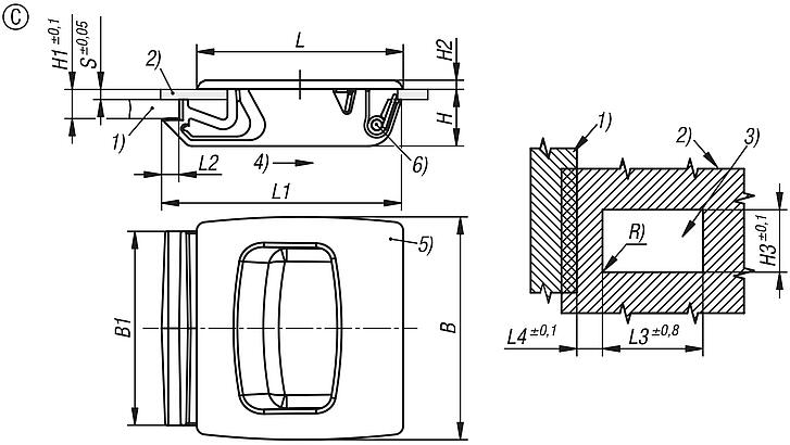
Snap locks, plastic with recessed grip, snap-in, Form C, medium |
More information |
| Order No. | Form | Form definition | B | B1 | H | H1 = Total holding area | H2 | H3 | L | L1 | L2 | L3 | L4 | R | S = Door thickness in mm | Temperature range °C
| CAD | Acc. | Price | Order |
|---|
| 05596-42-2015500 | C | medium | 50,8 | 44,2 | 13 | 6,7 | 2 | 44,5 | 47 | 54,6 | 4 | 38,1 | 12,7 | max. 0,25 | 2 | -40 to 60 |  | | on request | |
|
| Order No. | Form | Form definition | B | B1 | H | H1 = Total holding area | H2 | H3 | L | L1 | L2 | L3 | L4 | R | S = Door thickness in mm | Temperature range °C
| CAD | Acc. | Price | Order |
|---|
| 05596-42-2221500 | D | large | 52,9 | 44,2 | 19 | 6,7 | 2 | 44,5 | 48 | 56 | 4 | 38,1 | 12,7 | max. 0,25 | 2,2 | -40 to 60 |  | | on request | |
|
Other items in this category |
|
|