|
|
|
05596-44Snap locks, plastic with recessed grip, snap-in |
go back |
|
|
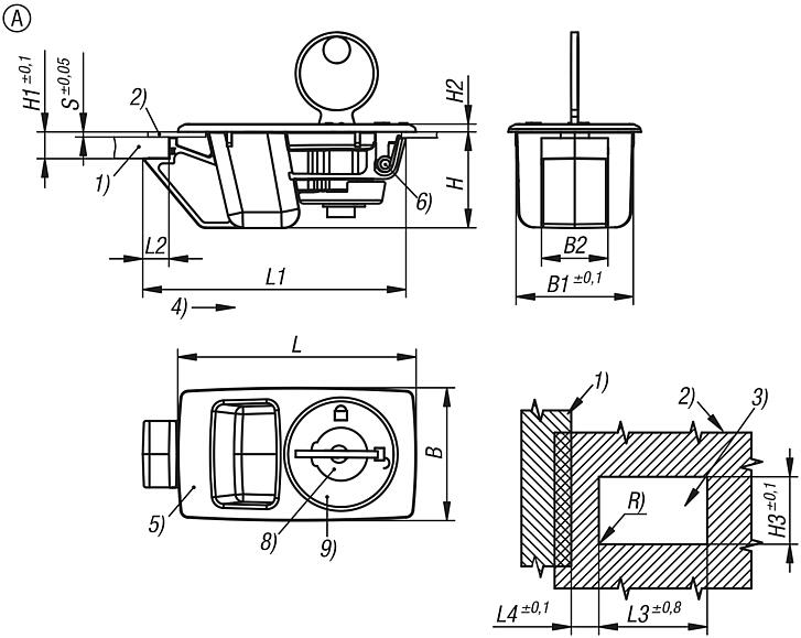
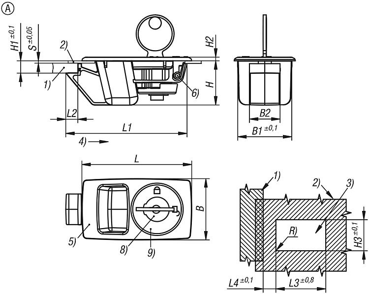
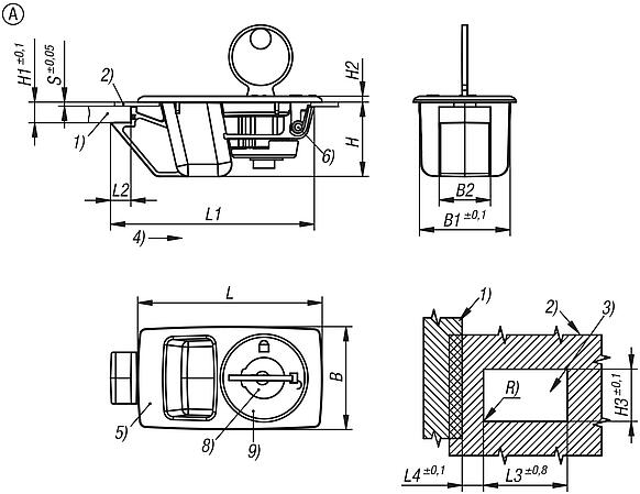
DescriptionMaterial:Lock ABS.
Spring stainless steel 1.4310. Version:Lock black. Spring bright.Note:These snap locks are designed for flush installation in doors, hatches and covers. Available in two different sizes for different door leaf thicknesses. Additional security with lockable variants. The locks on the lockable snap locks have a single key system, i.e. all locks can be opened with the same key.
Flammability rating: listed UL94-HB.
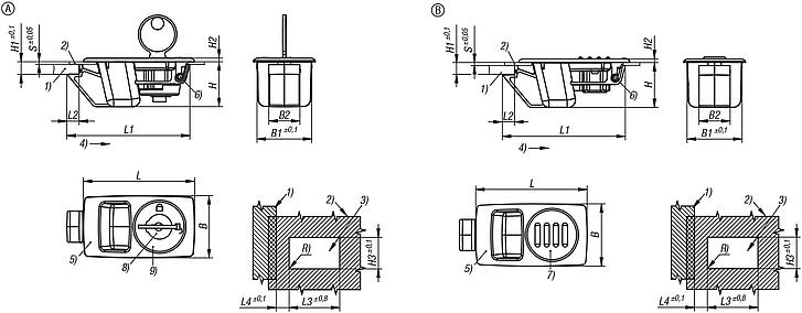
Form A: lockable Form B: not lockableType of operation:Form A: By turning the key and then pushing the handle, the lock is moved to the open position and the door can be opened. When the door is pushed to, a spring automatically latches it shut. The cylinder lock provides additional security.
Form B: When the grip is pressed down, the latch retracts and the door can be opened. When the door is pushed to, a spring automatically latches it shut.Application:- Automobile industry - Medical technology - Machine construction - Equipment construction - Industrial control cabinetsAssembly:1. Produce a burr-free mounting cutout as shown in the drawing. 2. Insert the lock into the cutout from the front and push forwards. 3. Press the lock down to clip in.Supplied withThe lockable snap locks are each supplied with 2 keys.Drawing reference:1) Frame 2) Door leaf 3) Mounting cutout 4) Actuation direction 5) Lock 6) Spring 7) End cap (Form B) 8) Cylinder lock (Form A) 9) Display (Form A) DownloadHere is all the information as a PDF datasheet:
Are you looking for CAD data? These can be found directly in the product table.
|
Drawings (total overview) |
Snap locks, plastic with recessed grip, snap-in, Form A, lockable |
More information |
| Order No. | Form | Form definition | B | B1 | B2 | H | H1 = Total holding area | H2 | H3 | L | L1 | L2 | L3 | L4 | R | S = Door thickness in mm | Temperature range °C
| CAD | Acc. | Price | Order |
|---|
| 05596-44-10926340 | A | lockable | 34 | 30,2 | 17 | 24,6 | 6,7 | 2 | 30,5 | 61 | 67,4 | 6,7 | 49 | 12,5 | max. 0,25 | 0,9-1,2 | -40 to 60 |  | | on request | | | 05596-44-11326340 | A | lockable | 34 | 30,2 | 17 | 24,6 | 6,7 | 2 | 30,5 | 61 | 67,4 | 6,7 | 49 | 12,5 | max. 0,25 | 1,3-1,6 | -40 to 60 |  | | on request | |
|
Snap locks, plastic with recessed grip, snap-in, Form B, not lockable |
More information |
| Order No. | Form | Form definition | B | B1 | B2 | H | H1 = Total holding area | H2 | H3 | L | L1 | L2 | L3 | L4 | R | S = Door thickness in mm | Temperature range °C
| CAD | Acc. | Price | Order |
|---|
| 05596-44-00926340 | B | not lockable | 34 | 30,2 | 17 | 24,6 | 6,7 | 2 | 30,5 | 61 | 67,4 | 6,7 | 49 | 12,5 | max. 0,25 | 0,9-1,2 | -40 to 60 |  | | on request | | | 05596-44-01326340 | B | not lockable | 34 | 30,2 | 17 | 24,6 | 6,7 | 2 | 30,5 | 61 | 67,4 | 6,7 | 49 | 12,5 | max. 0,25 | 1,3-1,6 | -40 to 60 |  | | on request | |
|
Other items in this category |
|
|