norelem 使用 Cookies 以优化设计和持续改进网页。您通过继续使用网页,同意使用 Cookies。在我们的数据保护声明中可以找到有关 Cookies 主题的详细信息。同意

商品描述/产品说明

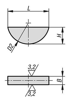
产品说明材料:钢制 1.1192。规格:亮色。根据要求:

半圆键,不锈钢 1.4571。

特点:
RoHS
下载此处为收集信息的 PDF:

查找 CAD 数据?请直接在产品列表中查找。
 Datasheet 03289 盘形弹簧 DIN 6888 117 kB
 固定件标准概览 980 kB

图纸

盘形弹簧 DIN 6888

商品选择/筛选

订货号

BHLD2CAD配件价格订购
03289-02X52512,613 根据要求
03289-03X53512,613 根据要求
03289-03X6536,515,716 根据要求
03289-04X54512,613 根据要求
03289-04X6546,515,716 根据要求
03289-04X7547,518,619 根据要求
03289-05X6556,515,716 根据要求
03289-05X7557,518,619 根据要求
03289-05X95921,622 根据要求
03289-06X96921,622 根据要求
03289-06X1061024,525 根据要求
03289-06X1161127,328 根据要求
03289-08X1181127,328 根据要求
03289-08X1381331,432 根据要求
03289-10X13101331,432 根据要求
03289-10X16101643,145 根据要求
我的 norelemE-Mail密码
购物车
商品数量: 0
总数: 0.00  
点击购物车
欢迎扫描二维码
咨询诺瑞朗官方客服微信
中国
苏ICP备20011289号-1  苏公网安备32058502011222 网页地图 打印 推荐 Top
Copyright © 2025 norelem. 保留所有权利。 电话 +49 71 45/206-44 至 45 · 传真 +49 71 45/206-83