|
|
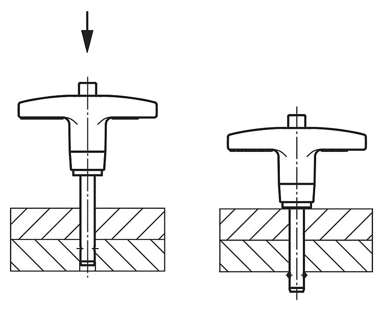
产品说明材料:插销 不锈钢 1.4542。
手柄 铸铝 EN-AC 46000。
按钮 铝制 EN-AW 2024 T4。
顶珠 不锈钢 1.4125。
弹簧 不锈钢。 规格:插销经硬化处理,硬度min. 40 HRC,钝化处理。 手柄 黑色氧化。 按钮 蓝色氧化。 顶珠经硬化处理,硬度 58 +4 HRC ,钝化处理。 弹簧 钝化处理。提示:快锁插销用于快捷简便地固定和连接部件和工件。按下把手上的压紧旋钮可以解锁两个顶珠,并插入需要连接的工件。释放压紧旋钮,顶珠重新锁紧,形成可靠的连接。快锁插销可根据需要提供一条挂绳。
经硬化处理的高强度不锈钢插销为高负荷和耐磨损提供了保证。
两端剪切力 (F) = S · τ aB max.
剪切力的数据与理论断裂载荷相关。 这些是不具约束力的指导值,未考虑安全因素,且不承担任何责任。给出的数值仅供参考,并不对财产构成任何相关法律保证。
负载值根据 DIN 50141 计算得出。每位用户必须单独确定快锁插销是否适合各自的使用。
制作快锁插销材料的多样性、天气条件和磨损会影响确定的数值。附件:螺旋安全绳 03199-10200 带吊环的安全绳 03199-.... 钥匙圈 03199-15/19/23/28 快锁插销的固定衬套 03197....特点: 下载此处为收集信息的 PDF:
查找 CAD 数据?请直接在产品列表中查找。
|
订货号 | B | D1 | D2 | D3 | D4 | L | L1 | L2 | L3 | L5 | 安装孔 H11 | 双边径向力 max. kN | 筛选 |
|---|
| 03196-24605*** | 46 | 5 | 5,54 | 11,9 | 5,8 | 10/15/20/25/30/35/40/50/60/70 | 6 | 30,7 | 19,3 | 16/21/26/31/36/41/46/56/66/76 | 5 | 24,4 |  | | 03196-24606*** | 46 | 6 | 6,99 | 11,9 | 5,8 | 10/15/20/25/30/35/40/50/60/70/80 | 7 | 30,7 | 19,3 | 17/22/27/32/37/42/47/57/67/77/87 | 6 | 35,64 |  | | 03196-24608*** | 46 | 8 | 9,42 | 11,9 | 5,8 | 10/15/20/25/30/35/40/50/60/70/80 | 8 | 30,7 | 19,3 | 18/23/28/33/38/43/48/58/68/78/88 | 8 | 63,8 |  | | 03196-25110*** | 50,8 | 10 | 11,86 | 14,2 | 7,4 | 15/20/25/30/35/40/50/60/70/80/90/100 | 9 | 34,8 | 22,1 | 24/29/34/39/44/49/59/69/79/89/99/109 | 10 | 100,1 |  | | 03196-25812*** | 57,2 | 12 | 14,45 | 18,3 | 10,7 | 20/25/30/35/40/50/60/70/80/90/100 | 10 | 40,6 | 25,4 | 30/35/40/45/50/60/70/80/90/100/110 | 12 | 144,06 |  | | 03196-27816*** | 78 | 16 | 19 | 23,9 | 13,7 | 25/30/35/40/50/60/70/80/90/100 | 14 | 45 | 28,2 | 39/44/49/54/64/74/84/94/104/114 | 16 | 257,18 |  |
|
|