norelem 使用 Cookies 以优化设计和持续改进网页。您通过继续使用网页,同意使用 Cookies。在我们的数据保护声明中可以找到有关 Cookies 主题的详细信息。同意

商品描述/产品说明

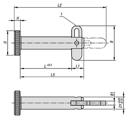
产品说明材料:钢制镀锌。提示:这种带折叠锁扣的插销用于方便快捷地连接固定工件和部件,也用于永久连接。
较宽的锁扣保证了工件连接的可靠性。即便轴向受力,依然能正常使用。
锁扣上的导向槽能清晰地确定出“打开”和“关闭”位置。
图纸提示:
1) 导向槽
特点:
RoHS
下载此处为收集信息的 PDF:

查找 CAD 数据?请直接在产品列表中查找。
 Datasheet 03400 钢制插销,带折叠锁扣 246 kB

图纸

钢制插销,带折叠锁扣

商品概述(精简)

商品选择/筛选
订货号BB1D

D1安装孔
H11
HLL1L2L5双边径向力
max.
kN
拨出力 F
N
CAD配件价格订购
03400-0501011,21,2510552,5104,121,414,1860 根据要求
03400-0501511,21,2510552,5154,126,419,1860 根据要求
03400-0502011,21,2510552,5204,131,424,1860 根据要求
03400-0502511,21,2510552,5254,136,429,1860 根据要求
03400-0503011,21,2510552,5304,141,434,1860 根据要求
03400-0503511,21,2510552,5354,146,439,1860 根据要求
03400-0504011,21,2510552,5404,151,444,1860 根据要求
03400-0505011,21,2510552,5504,161,454,1860 根据要求
03400-0506011,21,2510552,5604,171,464,1860 根据要求
03400-0601016,9212663106271612190 根据要求
03400-0602016,9212663206372612190 根据要求
03400-0602516,9212663256453112190 根据要求
03400-0603016,9212663306473612190 根据要求
03400-0603516,9212663356524112190 根据要求
03400-0604016,9212663406604612190 根据要求
03400-0605016,9212663506705612190 根据要求
03400-0606016,9212663606776612190 根据要求
03400-0607016,9212663706877612190 根据要求
03400-0608016,9212663806978612190 根据要求
03400-0802016,9216884206372621190 根据要求
03400-0802516,9216884256463121190 根据要求
03400-0803016,9216884306473621190 根据要求
03400-0803516,9216884356524121190 根据要求
03400-0804016,9216884406614621190 根据要求
03400-0805016,9216884506715621190 根据要求
03400-0806016,9216884606776621190 根据要求
03400-0807016,9216884706877621190 根据要求
03400-0808016,9216884806978621190 根据要求
03400-0809016,92168849061079621190 根据要求
03400-0810016,9216884100611710621190 根据要求
03400-1002025,43201010520945,42933300 根据要求
03400-1002525,43201010525950,43433300 根据要求
03400-1003025,43201010530955,43933300 根据要求
03400-1003525,43201010535960,44433300 根据要求
03400-1004025,43201010540965,44933300 根据要求
03400-1005025,43201010550975,45933300 根据要求
03400-1006025,43201010560985,46933300 根据要求
03400-1007025,43201010570995,47933300 根据要求
03400-1008025,432010105809105,48933300 根据要求
03400-1009025,432010105909115,49933300 根据要求
03400-1010025,4320101051009125,410933300 根据要求
03400-1203025,43241212630955,43948300 根据要求
03400-1203525,43241212635960,44448300 根据要求
03400-1204025,43241212640965,44948300 根据要求
03400-1205025,43241212650975,45948300 根据要求
03400-1206025,43241212660985,46948300 根据要求
03400-1207025,43241212670995,47948300 根据要求
03400-1208025,432412126809105,48948300 根据要求
03400-1209025,432412126909115,49948300 根据要求
03400-1210025,4324121261009125,410948300 根据要求
03400-1211025,4324121261109135,411948300 根据要求
03400-1212025,4324121261209145,412948300 根据要求
我的 norelemE-Mail密码
购物车
商品数量: 0
总数: 0.00  
点击购物车
欢迎扫描二维码
咨询诺瑞朗官方客服微信
中国
苏ICP备20011289号-1  苏公网安备32058502011222 网页地图 打印 推荐 Top
Copyright © 2025 norelem. 保留所有权利。 电话 +49 71 45/206-44 至 45 · 传真 +49 71 45/206-83