|
|
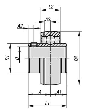
产品说明材料:滚动轴承钢 100Cr6。 橡胶 NBR 制密封件。规格:两侧密封且带球形外环。 可重新润滑。提示:嵌入轴承在其内部结构中对应 6200 和 6300 系列标准向心球轴承。但其具有可更轻易地固定在轴上的加宽内环。内环为正公差。使用具有 h 公差过渡或滑配合的轴可实现这种效果。通过 2 个位移 120° 的螺纹销将轴固定在内环上。
嵌入轴承通过合适的终生润滑滚动轴承润滑脂实现安装准备就绪。正常使用时无需重新润滑。温度范围:-15 °C 至 +100 °C。特点: 下载此处为收集信息的 PDF:
查找 CAD 数据?请直接在产品列表中查找。
|
| 订货号 | 轴承 | D
| A | A1 | A2 | A3 | D1 | D2 | L1 | L2 | 埋头螺栓 | 额定负载 动态 kN | 额定负载 静态 kN | CAD | 配件 | 价格 | 订购 |
|---|
| 24230-20204 | UC 204 | 20 | 18,3 | 12,7 | 4,8 | 3,7 | 29 | 47 | 31 | 17 | M6x0,75 | 9,88 | 6,2 |  | | 根据要求 | | | 24230-25205 | UC 205 | 25 | 19,7 | 14,3 | 5 | 3,9 | 34 | 52 | 34 | 17 | M6x0,75 | 10,78 | 6,98 |  | | 根据要求 | | | 24230-30206 | UC 206 | 30 | 22,2 | 15,9 | 5 | 5 | 40,5 | 62 | 38,1 | 19 | M6x0,75 | 14,97 | 10,04 |  | | 根据要求 | | | 24230-35207 | UC 207 | 35 | 25,4 | 17,5 | 7 | 5,7 | 48 | 72 | 42,9 | 20 | M8x1 | 19,75 | 13,67 |  | | 根据要求 | | | 24230-40208 | UC 208 | 40 | 30,2 | 19 | 8 | 6,2 | 53 | 80 | 49,2 | 21 | M8x1 | 22,71 | 15,94 |  | | 根据要求 | | | 24230-45209 | UC 209 | 45 | 30,2 | 19 | 8 | 6,4 | 57,3 | 85 | 49,2 | 22 | M8x1 | 24,36 | 17,71 |  | | 根据要求 | | | 24230-50210 | UC 210 | 50 | 32,6 | 19 | 10 | 6,5 | 63 | 90 | 51,6 | 24 | M10x1,25 | 26,98 | 19,84 |  | | 根据要求 | | | 24230-55211 | UC 211 | 55 | 33,4 | 22,2 | 10 | 7 | 70 | 100 | 55,6 | 25 | M10x1,25 | 33,37 | 25,11 |  | | 根据要求 | | | 24230-60212 | UC 212 | 60 | 39,7 | 25,4 | 10 | 7,6 | 77 | 110 | 65,1 | 27 | M10x1,25 | 36,74 | 27,97 |  | | 根据要求 | |
|
|