norelem 使用 Cookies 以优化设计和持续改进网页。您通过继续使用网页,同意使用 Cookies。在我们的数据保护声明中可以找到有关 Cookies 主题的详细信息。同意

商品描述/产品说明

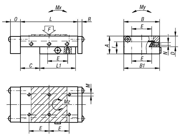
产品说明材料:GJL 250.规格:亮色,经打磨处理。提示:夹紧杆 06460 可用于替代中间调节螺栓“N”。
指定的允许负载值(F)是针对使用期为 1 百万行程的动态负载而设计的。
对于静态负载,允许 10 倍表格值“F”。
扭矩值仅适用于位于中间的滑撬。

TI = 零件中固定孔数量 E/M 内部。
TA = 零件中固定孔数量 E/M 外部。
特点:
RoHS
下载此处为收集信息的 PDF:

查找 CAD 数据?请直接在产品列表中查找。
 Datasheet 21031 带末端挡块的燕尾形滑台 167 kB

图纸

带末端挡块的燕尾形滑台

商品选择/筛选

订货号ABB1CD

ETlTAILL1MNORF
N
Mx
Nm
My
Nm
Mz
Nm
CAD配件价格订购
21031-050080255049,52515284617,68050M4M5146109262 根据要求
21031-050105255049,55015284817,610550M4M514661262 根据要求
21031-075105327574,52519,5624422,510575M5M51562905196 根据要求
21031-075130327574,55019,5624422,513075M5M51561685196 根据要求
21031-1001354010099,52524864427,5135100M6M6156586114312 根据要求
21031-1001604010099,55024864427,5160100M6M6156351114312 根据要求
21031-1002604010099,510024864627,5260150M6M6156395236326 根据要求
我的 norelemE-Mail密码
购物车
商品数量: 0
总数: 0.00  
点击购物车
欢迎扫描二维码
咨询诺瑞朗官方客服微信
中国
苏ICP备20011289号-1  苏公网安备32058502011222 网页地图 打印 推荐 Top
Copyright © 2025 norelem. 保留所有权利。 电话 +49 71 45/206-44 至 45 · 传真 +49 71 45/206-83