norelem 使用 Cookies 以优化设计和持续改进网页。您通过继续使用网页,同意使用 Cookies。在我们的数据保护声明中可以找到有关 Cookies 主题的详细信息。同意

商品描述/产品说明

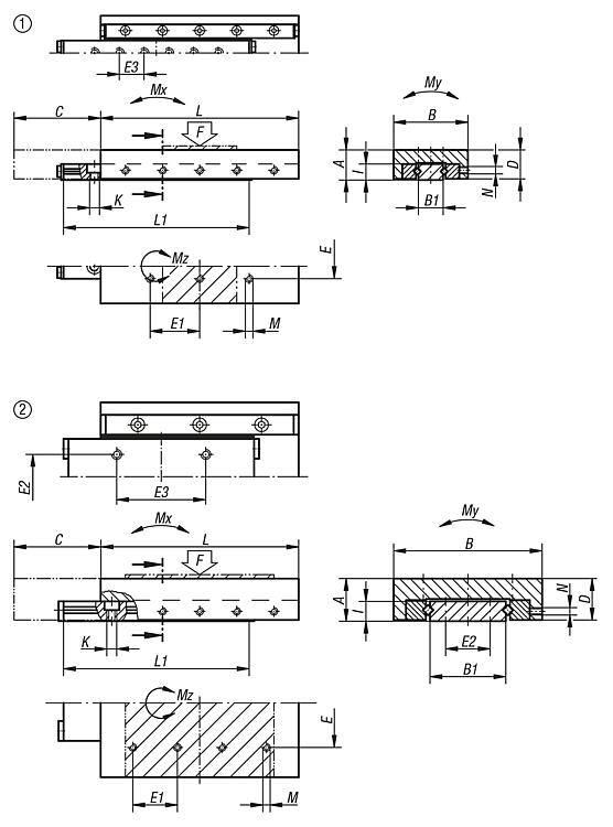
产品说明材料:铝制外壳体。钢制滑撬和轴承。规格:经黑色阳极氧化处理的外壳体。经打磨处理的滑撬和轴承。经硬化处理的内部零件。提示:安装在滚子轴承上的滑台非常平稳并通过螺栓“N”在预应力下调整。
固定孔“K”既可作为螺纹孔也可作为直通孔使用。
指定的允许负载值(F)是针对 1 百万行程的使用期而设计的。
扭矩值仅适用于位于中间的滑撬。

F = 动态或静态负载情况下的承载能力。
TI = 零件中固定孔数量 E3/K 内部。
TA = 零件中固定孔数量 E1/M 外部。
GI = 孔列数量 内部。
K = 带符合 DIN 974-1 的 M3 沉孔螺纹 M4。
特点:
RoHS
下载此处为收集信息的 PDF:

查找 CAD 数据?请直接在产品列表中查找。
 Datasheet 21035 滚子轴承迷你滑台 208 kB

图纸

滚子轴承迷你滑台

商品选择/筛选

订货号尺寸ABB1CD

EE1E2E3TlTAGlIKLL1MNF
N
Mx
Nm
My
Nm
Mz
Nm
CAD配件价格订购
21035-03003511230101211,71010-102616,3M43530M3M316811,92 根据要求
21035-03005011230101811,71010-102616,3M45045M3M32453,52,65,2 根据要求
21035-03006511230102411,71020-104616,3M46560M3M33614,73,97,9 根据要求
21035-030050111230103411,71010-102616,3M45045M3M31312,21,93,3 根据要求
21035-030065111230104811,71020-104616,3M46560M3M31613,52,65,2 根据要求
21035-03008011230103011,71020-106616,3M48075M3M34329,14,513,3 根据要求
21035-03009511230104011,71020-1081016,3M49590M3M346611,65,116,9 根据要求
21035-0400551154014,42014,72020-202618,3M45550M3M32314,64,66,8 根据要求
21035-0400801154014,43014,72020-202618,3M48075M3M348710,37,615,3 根据要求
21035-0401051154014,44014,72020-2041018,3M4105100M3M368918,610,627,3 根据要求
21035-0401551154014,412014,72020-2061418,3M4155150M3M348923,712,234,8 根据要求
21035-0600552176030,62016,7361818184428,3M45550M3M42944,676,9 根据要求
21035-0600802176030,63016,7361818364828,3M48075M3M449210,411,615,5 根据要求
21035-0601052176030,64016,73618183641228,3M4105100M3M469718,816,227,6 根据要求
我的 norelemE-Mail密码
购物车
商品数量: 0
总数: 0.00  
点击购物车
欢迎扫描二维码
咨询诺瑞朗官方客服微信
中国
苏ICP备20011289号-1  苏公网安备32058502011222 网页地图 打印 推荐 Top
Copyright © 2025 norelem. 保留所有权利。 电话 +49 71 45/206-44 至 45 · 传真 +49 71 45/206-83