norelem 使用 Cookies 以优化设计和持续改进网页。您通过继续使用网页,同意使用 Cookies。在我们的数据保护声明中可以找到有关 Cookies 主题的详细信息。同意

商品描述/产品说明

产品说明材料:EN-GJL-250.
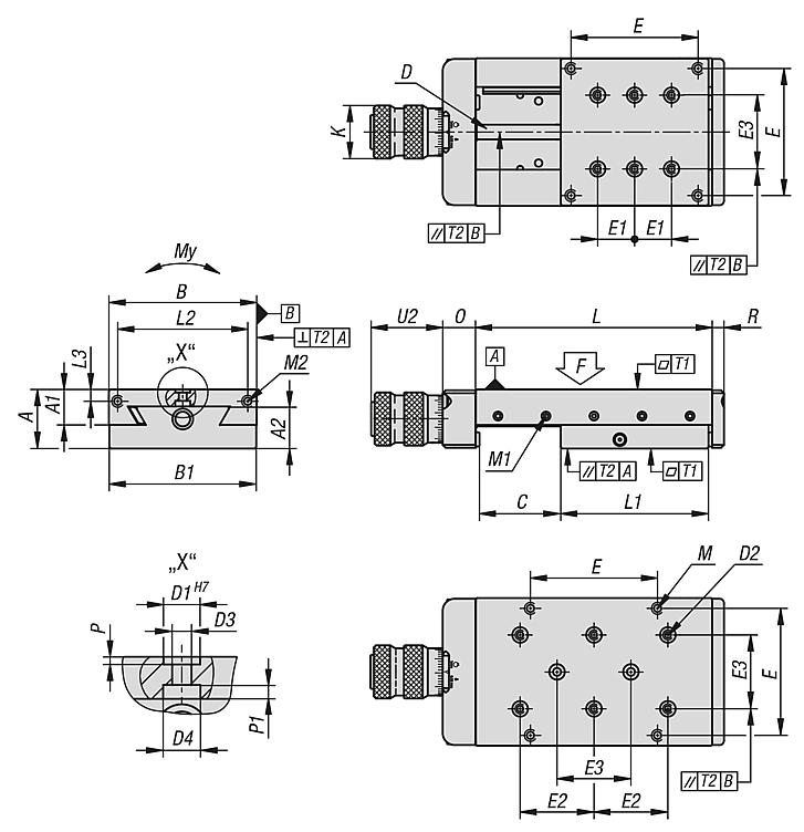
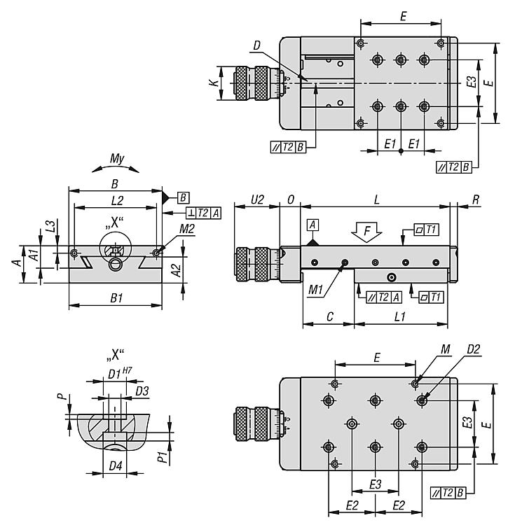
规格:亮色,经打磨处理。提示:这种精密滑轨主要用于机器、机械构造和测量仪制造以及光学和精密工程行业。锁紧手柄 06460 可用于替代中间调节螺栓“M1”。
指定的允许负载值 (F) 是针对使用期为 1 百万行程的动态负载而设计的。
对于静态负载,允许 10 倍表格值“F”。
扭矩值仅适用于位于中间的滑撬。

在滑座顶面 D2 和 D3 孔上附有一个定心孔。使用我们的定心环 20240,可精准地将其它连接件安装到滑座上。

TI E = 内部安装孔 E/M 的数量。
TA E= 外部固定孔 E/M 的数量。
TI E1 = 内部固定孔 E1/D1 的数量。
TA E1 = 外部安装孔 E1/D1 的数量。
特点:
RoHS
下载此处为收集信息的 PDF:

查找 CAD 数据?请直接在产品列表中查找。
 Datasheet 21062 燕尾槽导轨 带微调丝杆和定位孔 300 kB
 norelem Service Instructions Guide Rails 2020 1,3 MB

图纸

燕尾槽导轨 带微调丝杆和定位孔

商品选择/筛选

订货号AA1A2B

B1CD

D1D2D3D4EE1E2E3TI
E
TA
E
TI
E1
TA
E1
KCAD配件价格订购
21062-050080251517,55049,529M6x17M44,38,2-142828--6623,5 根据要求
21062-050105251517,55049,554M6x17M44,38,2-142828--8623,5 根据要求
21062-050180251517,55049,577M6x17M44,38,2-282828--12623,5 根据要求
21062-050205251517,55049,5102M6x17M44,38,2282828284-12623,5 根据要求
21062-0751053219,5227574,527M8x110M55,31062252550446629 根据要求
21062-0751303219,5227574,552M8x110M55,310622525504410629 根据要求
21062-0751553219,5227574,577M8x110M55,310622525504410629 根据要求
21062-0751803219,5227574,572M8x110M55,310622525504414629 根据要求
21062-10013540242810099,532M10x110M55,310,286252550446636 根据要求
21062-10016040242810099,557M10x110M55,310,286252550446636 根据要求
21062-10026040242810099,5108M10x110M55,310,2865050504610636 根据要求
21062-1502105029,53715014958Tr16x213M66,3111305050100446636 根据要求
21062-1503105029,537150149108Tr16x213M66,31113050100100466636 根据要求
订货号L

L1L2L3PP1ORU2MM1M2T1T2F
N
Mx
Nm
My
Nm
Mz
Nm
CAD配件价格订购
21062-0500808048405,51,63,218,5843-M5M40,020,02110262 根据要求
21062-05010510548405,51,63,218,5843-M5M40,020,0260262 根据要求
21062-050180180100405,51,63,218,5843-M5M40,0250,025120494 根据要求
21062-050205205100405,51,63,218,5843-M5M40,0250,025110494 根据要求
21062-07510510575605,52,13,622,4848,5M5M5M50,020,022905196 根据要求
21062-07513013075605,52,13,622,4848,5M5M5M50,0250,0251655196 根据要求
21062-07515515575605,52,13,622,4848,5M5M5M50,0250,0251105196 根据要求
21062-075180180105605,52,13,622,4848,5M5M5M50,0250,025905196 根据要求
21062-1001351351008882,13,822,4849M6M6M60,0250,025590114312 根据要求
21062-1001601601008882,13,822,4849M6M6M60,0250,025350114312 根据要求
21062-1002602601498882,13,822,4849M6M6M60,030,03400236326 根据要求
21062-15021021014913582,64,3251049M6M6M60,030,039203112833 根据要求
21062-15031031019913582,64,3251049M6M6M60,030,038505317055 根据要求
我的 norelemE-Mail密码
购物车
商品数量: 0
总数: 0.00  
点击购物车
欢迎扫描二维码
咨询诺瑞朗官方客服微信
中国
苏ICP备20011289号-1  苏公网安备32058502011222 网页地图 打印 推荐 Top
Copyright © 2025 norelem. 保留所有权利。 电话 +49 71 45/206-44 至 45 · 传真 +49 71 45/206-83