norelem 使用 Cookies 以优化设计和持续改进网页。您通过继续使用网页,同意使用 Cookies。在我们的数据保护声明中可以找到有关 Cookies 主题的详细信息。同意
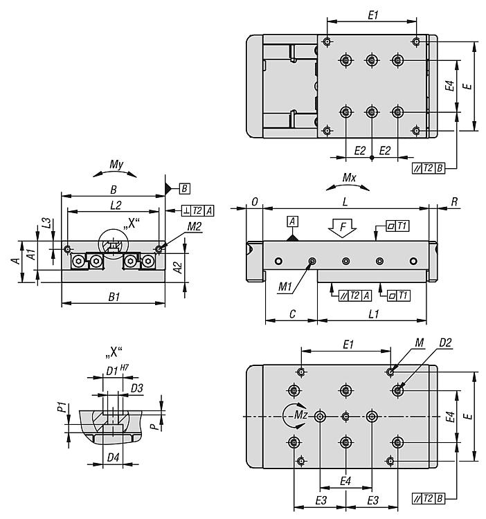
滚子轴承精密滑轨 带端板和定位孔
21068

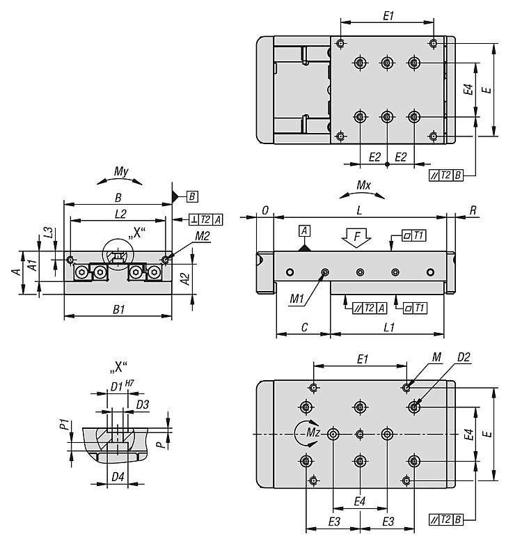
滚子轴承精密滑轨 带端板和定位孔

返回

商品描述/产品说明

产品说明材料:EN-GJL-250.
规格:亮色,经打磨处理。提示:这种装有滚子轴承的精密滑轨,用于机械制造和夹具制造、测量技术、光学仪器和精密机械。

指定的允许负载值 (F) 的设计标准是一百万次行程的使用寿命。
扭矩值仅适用于位于中间的滑撬。

在滑座顶面 D2 和 D3 孔上附有一个定心孔。使用我们的定心环 20240,可精准地将其它连接件安装到滑座上。

F = 动态或静态负载情况下的承载能力。
TI E/E1 = 内部固定孔 E/E1/M 的数量。
TA E/E1= 外部固定孔 E/E1/M 的数量。
TI E4 = 内部固定孔 E4/D1 的数量。
TA E2 = 外部安装孔 E2/D1 的数量。
特点:
RoHS
下载此处为收集信息的 PDF:

查找 CAD 数据?请直接在产品列表中查找。
 Datasheet 21068 滚子轴承精密滑轨 带端板和定位孔 314 kB
 norelem Service Instructions Guide Rails 2020 1,3 MB

图纸

滚子轴承精密滑轨 带端板和定位孔

商品选择/筛选

订货号AA1A2B

B1CD1D2D3D4EE1E2E3E4TI
E/E1
TA
E/E1
TA
E4
TA
E2
CAD配件价格订购
21068-0400652013134039,5155M33,36,530152020204666 根据要求
21068-0400802013134039,5305M33,36,530152020204866 根据要求
21068-050105251716,35049,5207M44,38--282828--68 根据要求
21068-050130251716,35049,5457M44,38--282828--610 根据要求
21068-060080251716,36059,5207M44,38--173434--66 根据要求
21068-060180251716,36059,5707M44,38--343434--610 根据要求
21068-1002604027,52810099,59510M55,310868650505046610 根据要求
订货号L

L1L2L3PP1ORMM1M2T1T2F
N
Mx
Nm
My
Nm
Mz
Nm
CAD配件价格订购
21068-0400656550333,81,13,4125M3M3M30,020,02120143 根据要求
21068-0400808050333,81,13,4125M3M3M30,020,0280355 根据要求
21068-05010510580405,51,63,215,58-M3M40,020,02520101115 根据要求
21068-05013013080405,51,63,215,58-M3M40,020,02263231933 根据要求
21068-0600808055505,51,63,215,58-M3M40,020,022653117 根据要求
21068-060180180105505,51,63,215,58-M3M40,020,02305232334 根据要求
21068-1002602601608682,14,1168M6M6M60,030,03105089119151 根据要求
我的 norelemE-Mail密码
购物车
商品数量: 0
总数: 0.00  
点击购物车
欢迎扫描二维码
咨询诺瑞朗官方客服微信
中国
苏ICP备20011289号-1  苏公网安备32058502011222 网页地图 打印 推荐 Top
Copyright © 2025 norelem. 保留所有权利。 电话 +49 71 45/206-44 至 45 · 传真 +49 71 45/206-83