norelem 使用 Cookies 以优化设计和持续改进网页。您通过继续使用网页,同意使用 Cookies。在我们的数据保护声明中可以找到有关 Cookies 主题的详细信息。同意

商品描述/产品说明

产品说明材料:钢制或不锈钢脚杯和丝杠 1.4301。
橡胶衬层 (NBR) 80 邵氏硬度。
规格:底板和钢制埋头螺栓经镀锌。
不锈钢制底板经抛光。
钢制埋头螺栓,亮色。
硫化橡胶垫,黑色。

提示:钢制或不锈钢制调节脚,带有可旋转的丝杠和橡胶支承面。实心的橡胶衬层通过硫化反应与板材脚杯牢固相连。橡胶衬层的抓地力十分出色。它能起到缓冲作用并阻碍对地面的振动传输和冲撞。

表中给出的负载值基于一系列实验得出,即静态负载垂直于主轴中心的脚杯。振动或其他振荡效果产生的轴向作用力会影响承载力,这种情况下不考虑指定值。

不锈钢支脚在主轴规格大于 M16 时将扳手开口度视作双边。

提供合适的螺母。
根据要求:

不锈钢 1.4401 丝杠。

下载此处为收集信息的 PDF:

查找 CAD 数据?请直接在产品列表中查找。
 Datasheet 27790 钢制或不锈钢制调节脚 328 kB

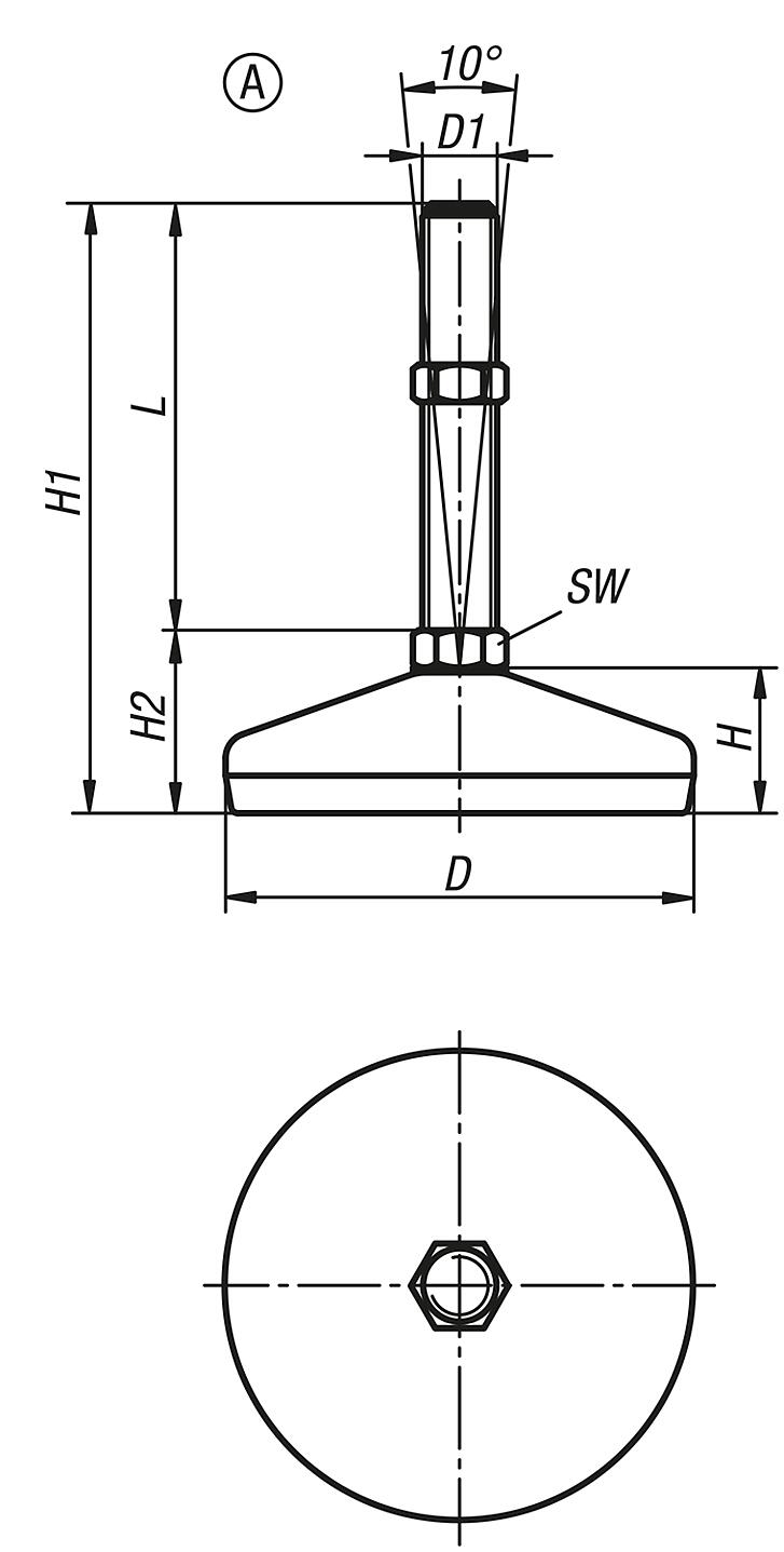
图片(总概述)

钢制或不锈钢制调节脚
钢制或不锈钢制调节脚

钢制或不锈钢制调节脚
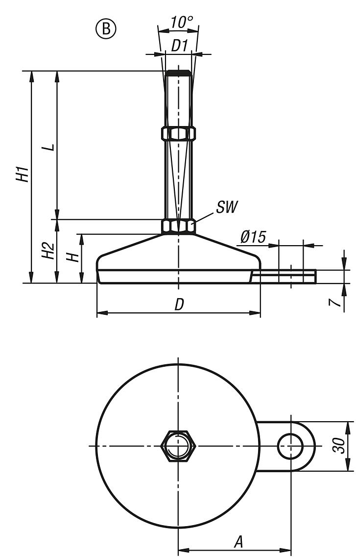
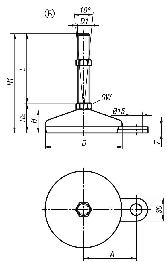
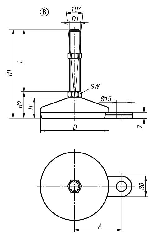
A 型

更多信息

图纸

钢制或不锈钢制调节脚
A 型

商品选择/筛选

订货号类型主体
材料
D

D1HH1H2SWL负载能力
max. kN
(静态负载)
CAD配件价格订购
27790-1105010X100A钢制50M101912929141004 根据要求
27790-1105010X50A钢制50M1019792914504 根据要求
27790-1105012X100A钢制50M121912929141004 根据要求
27790-1105012X150A钢制50M121917929141504 根据要求
27790-1105012X50A钢制50M1219792914504 根据要求
27790-1105014X100A钢制50M141912929141004 根据要求
27790-1105014X150A钢制50M141917929141504 根据要求
27790-1105014X50A钢制50M1419792914504 根据要求
27790-1105016X100A钢制50M161912929161004 根据要求
27790-1105016X150A钢制50M161917929161504 根据要求
27790-1105016X200A钢制50M161922929162004 根据要求
27790-1105016X75A钢制50M16191042916754 根据要求
27790-1106010X100A钢制60M102213232141007 根据要求
27790-1106010X50A钢制60M1022823214507 根据要求
27790-1106012X100A钢制60M122213232141007 根据要求
27790-1106012X150A钢制60M122218232141507 根据要求
27790-1106012X50A钢制60M1222823214507 根据要求
27790-1106014X100A钢制60M142213232141007 根据要求
27790-1106014X150A钢制60M142218232141507 根据要求
27790-1106014X50A钢制60M1422823214507 根据要求
27790-1106016X100A钢制60M162213232161007 根据要求
27790-1106016X150A钢制60M162218232161507 根据要求
27790-1106016X200A钢制60M162223232162007 根据要求
27790-1106016X75A钢制60M16221083216757 根据要求
27790-1106020X100A钢制60M202213333201007 根据要求
27790-1106020X150A钢制60M202218333201507 根据要求
27790-1106020X200A钢制60M202223333202007 根据要求
27790-1106020X250A钢制60M202228333202507 根据要求
27790-1106020X75A钢制60M20221083320757 根据要求
27790-1108010X100A钢制80M1025135351410010 根据要求
27790-1108010X50A钢制80M10258535145010 根据要求
27790-1108012X100A钢制80M1225135351410010 根据要求
27790-1108012X150A钢制80M1225185351415010 根据要求
27790-1108012X50A钢制80M12258535145010 根据要求
27790-1108014X100A钢制80M1425135351410010 根据要求
27790-1108014X150A钢制80M1425185351415010 根据要求
27790-1108014X50A钢制80M14258535145010 根据要求
27790-1108016X100A钢制80M1625135351610010 根据要求
27790-1108016X150A钢制80M1625185351615010 根据要求
27790-1108016X200A钢制80M1625235351620010 根据要求
27790-1108016X75A钢制80M162511035167510 根据要求
27790-1108020X100A钢制80M2025136362010010 根据要求
27790-1108020X150A钢制80M2025186362015010 根据要求
27790-1108020X200A钢制80M2025236362020010 根据要求
27790-1108020X250A钢制80M2025286362025010 根据要求
27790-1108020X75A钢制80M202511136207510 根据要求
27790-1108024X100A钢制80M2425135362410010 根据要求
27790-1108024X150A钢制80M2425186362415010 根据要求
27790-1108024X200A钢制80M2425236362420010 根据要求
27790-1108024X75A钢制80M242511136247510 根据要求
27790-1110016X100A钢制100M1628137,537,51610015 根据要求
27790-1110016X150A钢制100M1628187,537,51615015 根据要求
27790-1110016X200A钢制100M1628237,537,51620015 根据要求
27790-1110016X75A钢制100M1628112,537,5167515 根据要求
27790-1110020X100A钢制100M2028138,538,52010015 根据要求
27790-1110020X150A钢制100M2028188,538,52015015 根据要求
27790-1110020X200A钢制100M2028238,538,52020015 根据要求
27790-1110020X250A钢制100M2028288,538,52025015 根据要求
27790-1110020X75A钢制100M2028113,538,5207515 根据要求
27790-1110024X100A钢制100M2428138,538,52410015 根据要求
27790-1110024X150A钢制100M2428188,538,52415015 根据要求
27790-1110024X200A钢制100M2428238,538,52420015 根据要求
27790-1110024X250A钢制100M2428288,538,52425015 根据要求
27790-1112016X100A钢制120M1632141,541,51610030 根据要求
27790-1112016X150A钢制120M1632191,541,51615030 根据要求
27790-1112016X200A钢制120M1632241,541,51620030 根据要求
27790-1112016X75A钢制120M1632116,541,5167530 根据要求
27790-1112020X100A钢制120M2032142,542,52010030 根据要求
27790-1112020X150A钢制120M2032192,542,52015030 根据要求
27790-1112020X200A钢制120M2032242,542,52020030 根据要求
27790-1112020X250A钢制120M2032292,542,52025030 根据要求
27790-1112020X75A钢制120M2032117,542,5207530 根据要求
27790-1112024X100A钢制120M2432142,542,52410030 根据要求
27790-1112024X150A钢制120M2432192,542,52415030 根据要求
27790-1112024X200A钢制120M2432242,542,52420030 根据要求
27790-1112024X250A钢制120M2432292,542,52425030 根据要求
27790-1112030X100A钢制120M3032143,543,53010030 根据要求
27790-1112030X150A钢制120M3032193,543,53015030 根据要求
27790-1112030X200A钢制120M3032243,543,53020030 根据要求
27790-1205010X100A不锈钢50M101912929141004 根据要求
27790-1205010X125A不锈钢50M101915429141254 根据要求
27790-1205010X50A不锈钢50M1019792914504 根据要求
27790-1205010X75A不锈钢50M10191042914754 根据要求
27790-1205012X100A不锈钢50M121912929141004 根据要求
27790-1205012X125A不锈钢50M121915429141254 根据要求
27790-1205012X150A不锈钢50M121917929141504 根据要求
27790-1205012X50A不锈钢50M1219792914504 根据要求
27790-1205012X75A不锈钢50M12191042914754 根据要求
27790-1205014X100A不锈钢50M141912929141004 根据要求
27790-1205014X125A不锈钢50M141915429141254 根据要求
27790-1205014X150A不锈钢50M141917929141504 根据要求
27790-1205014X175A不锈钢50M141920429141754 根据要求
27790-1205014X75A不锈钢50M14191042914754 根据要求
27790-1205016X100A不锈钢50M161913232131004 根据要求
27790-1205016X125A不锈钢50M161915732131254 根据要求
27790-1205016X150A不锈钢50M161918232131504 根据要求
27790-1205016X175A不锈钢50M161920732131754 根据要求
27790-1205016X200A不锈钢50M161923232132004 根据要求
27790-1205016X75A不锈钢50M16191073213754 根据要求
27790-1206010X100A不锈钢60M102213232141007 根据要求
27790-1206010X125A不锈钢60M102215732141257 根据要求
27790-1206010X50A不锈钢60M1022823214507 根据要求
27790-1206010X75A不锈钢60M10221073214757 根据要求
27790-1206012X100A不锈钢60M122213232141007 根据要求
27790-1206012X125A不锈钢60M122215732141257 根据要求
27790-1206012X150A不锈钢60M122218232141507 根据要求
27790-1206012X50A不锈钢60M1222823214507 根据要求
27790-1206012X75A不锈钢60M12221073214757 根据要求
27790-1206014X100A不锈钢60M142213232141007 根据要求
27790-1206014X125A不锈钢60M142215732141257 根据要求
27790-1206014X150A不锈钢60M142218232141507 根据要求
27790-1206014X175A不锈钢60M142220732141757 根据要求
27790-1206014X75A不锈钢60M14221073214757 根据要求
27790-1206016X100A不锈钢60M162213535131007 根据要求
27790-1206016X125A不锈钢60M162216035131257 根据要求
27790-1206016X150A不锈钢60M162218535131507 根据要求
27790-1206016X175A不锈钢60M162221035131757 根据要求
27790-1206016X200A不锈钢60M162223535132007 根据要求
27790-1206016X75A不锈钢60M16221103513757 根据要求
27790-1206020X100A不锈钢60M202213535171007 根据要求
27790-1206020X125A不锈钢60M202216035171257 根据要求
27790-1206020X150A不锈钢60M202218535171507 根据要求
27790-1206020X175A不锈钢60M202221035171757 根据要求
27790-1206020X200A不锈钢60M202223535172007 根据要求
27790-1206020X225A不锈钢60M202226035172257 根据要求
27790-1206020X250A不锈钢60M202228535172507 根据要求
27790-1206020X75A不锈钢60M20221103517757 根据要求
27790-1208010X100A不锈钢80M1025135351410010 根据要求
27790-1208010X125A不锈钢80M1025160351412510 根据要求
27790-1208010X50A不锈钢80M10258535145010 根据要求
27790-1208010X75A不锈钢80M102511035147510 根据要求
27790-1208012X100A不锈钢80M1225135351410010 根据要求
27790-1208012X125A不锈钢80M1225160351412510 根据要求
27790-1208012X150A不锈钢80M1225185351415010 根据要求
27790-1208012X50A不锈钢80M12258535145010 根据要求
27790-1208012X75A不锈钢80M122511035147510 根据要求
27790-1208014X100A不锈钢80M1425135351410010 根据要求
27790-1208014X125A不锈钢80M1425160351412510 根据要求
27790-1208014X150A不锈钢80M1425185351415010 根据要求
27790-1208014X175A不锈钢80M1425210351417510 根据要求
27790-1208014X75A不锈钢80M142511035147510 根据要求
27790-1208016X100A不锈钢80M1625135351310010 根据要求
27790-1208016X125A不锈钢80M1625160351312510 根据要求
27790-1208016X150A不锈钢80M1625185351315010 根据要求
27790-1208016X175A不锈钢80M1625210351317510 根据要求
27790-1208016X200A不锈钢80M1625238381720010 根据要求
27790-1208016X75A不锈钢80M162511035137510 根据要求
27790-1208020X100A不锈钢80M2025138381710010 根据要求
27790-1208020X125A不锈钢80M2025163381712510 根据要求
27790-1208020X150A不锈钢80M2025188381715010 根据要求
27790-1208020X175A不锈钢80M2025213381717510 根据要求
27790-1208020X200A不锈钢80M2025238381720010 根据要求
27790-1208020X225A不锈钢80M2025263381722510 根据要求
27790-1208020X250A不锈钢80M2025288381725010 根据要求
27790-1208020X75A不锈钢80M202511338177510 根据要求
27790-1208024X100A不锈钢80M2425140402010010 根据要求
27790-1208024X125A不锈钢80M2425165402012510 根据要求
27790-1208024X150A不锈钢80M2425190402015010 根据要求
27790-1208024X175A不锈钢80M2425215402017510 根据要求
27790-1208024X200A不锈钢80M2425240402020010 根据要求
27790-1208024X225A不锈钢80M2425265402022510 根据要求
27790-1208024X250A不锈钢80M2425290402025010 根据要求
27790-1208024X75A不锈钢80M242511540207510 根据要求
27790-1210016X100A不锈钢100M1628142421310015 根据要求
27790-1210016X125A不锈钢100M1628167421312515 根据要求
27790-1210016X150A不锈钢100M1628192421315015 根据要求
27790-1210016X175A不锈钢100M1628217421317515 根据要求
27790-1210016X200A不锈钢100M1628242421320015 根据要求
27790-1210016X75A不锈钢100M162811742137515 根据要求
27790-1210020X100A不锈钢100M2030143431710015 根据要求
27790-1210020X125A不锈钢100M2030168431712515 根据要求
27790-1210020X150A不锈钢100M2030193431715015 根据要求
27790-1210020X175A不锈钢100M2030218431717515 根据要求
27790-1210020X200A不锈钢100M2030243431720015 根据要求
27790-1210020X225A不锈钢100M2028267421722515 根据要求
27790-1210020X250A不锈钢100M2028292421725015 根据要求
27790-1210020X75A不锈钢100M203011843177515 根据要求
27790-1210024X100A不锈钢100M2430144442010015 根据要求
27790-1210024X125A不锈钢100M2430169442012515 根据要求
27790-1210024X150A不锈钢100M2430194442015015 根据要求
27790-1210024X175A不锈钢100M2430219442017515 根据要求
27790-1210024X200A不锈钢100M2430244442020015 根据要求
27790-1210024X225A不锈钢100M2428269442022515 根据要求
27790-1210024X250A不锈钢100M2428294442025015 根据要求
27790-1212016X100A不锈钢120M1632147471310030 根据要求
27790-1212016X125A不锈钢120M1632172471312530 根据要求
27790-1212016X150A不锈钢120M1632197471315030 根据要求
27790-1212016X175A不锈钢120M1632222471317530 根据要求
27790-1212016X200A不锈钢120M1632247471320030 根据要求
27790-1212016X75A不锈钢120M163212247137530 根据要求
27790-1212020X100A不锈钢120M2032143431710030 根据要求
27790-1212020X125A不锈钢120M2032172471712530 根据要求
27790-1212020X150A不锈钢120M2032192421715030 根据要求
27790-1212020X175A不锈钢120M2032222471717530 根据要求
27790-1212020X200A不锈钢120M2032242421720030 根据要求
27790-1212020X225A不锈钢120M2032272471722530 根据要求
27790-1212020X250A不锈钢120M2032297471725030 根据要求
27790-1212020X75A不锈钢120M203212247177530 根据要求
27790-1212024X100A不锈钢120M2432144442010030 根据要求
27790-1212024X125A不锈钢120M2432174492012530 根据要求
27790-1212024X150A不锈钢120M2432194442015030 根据要求
27790-1212024X175A不锈钢120M2432224492017530 根据要求
27790-1212024X200A不锈钢120M2432244442020030 根据要求
27790-1212024X225A不锈钢120M2432274492022530 根据要求
27790-1212024X250A不锈钢120M2432299492025030 根据要求
27790-1212030X100A不锈钢120M3032147472610030 根据要求
27790-1212030X150A不锈钢120M3032196462615030 根据要求
27790-1212030X200A不锈钢120M3032246462620030 根据要求

钢制或不锈钢制调节脚,B 型

更多信息

图纸

钢制或不锈钢制调节脚,B 型

商品选择/筛选

订货号类型主体
材料
AD

D1HH1H2SWL负载能力
max. kN
(静态负载)
CAD配件价格订购
27790-2106010X100B钢制4560M102213232141007 根据要求
27790-2106010X50B钢制4560M1022823214507 根据要求
27790-2106012X100B钢制4560M122213232141007 根据要求
27790-2106012X150B钢制4560M122218232141507 根据要求
27790-2106012X50B钢制4560M1222823214507 根据要求
27790-2106014X100B钢制4560M142213232141007 根据要求
27790-2106014X150B钢制4560M142218232141507 根据要求
27790-2106014X50B钢制4560M1422823214507 根据要求
27790-2106016X100B钢制4560M162213232161007 根据要求
27790-2106016X150B钢制4560M162218232161507 根据要求
27790-2106016X200B钢制4560M162223232162007 根据要求
27790-2106016X75B钢制4560M16221073216757 根据要求
27790-2106020X100B钢制4560M202213333201007 根据要求
27790-2106020X150B钢制4560M202218333201507 根据要求
27790-2106020X200B钢制4560M202223333202007 根据要求
27790-2106020X250B钢制4560M202228333202507 根据要求
27790-2106020X75B钢制4560M20221083320757 根据要求
27790-2108010X100B钢制5480M1025135351410010 根据要求
27790-2108010X50B钢制5480M10258535145010 根据要求
27790-2108012X100B钢制5480M1225135351410010 根据要求
27790-2108012X150B钢制5480M1225185351415010 根据要求
27790-2108012X50B钢制5480M12258535145010 根据要求
27790-2108014X100B钢制5480M1425135351410010 根据要求
27790-2108014X150B钢制5480M1425185351415010 根据要求
27790-2108014X50B钢制5480M14258535145010 根据要求
27790-2108016X100B钢制5480M1625135351610010 根据要求
27790-2108016X150B钢制5480M1625185351615010 根据要求
27790-2108016X200B钢制5480M1625111351620010 根据要求
27790-2108016X75B钢制5480M162511035167510 根据要求
27790-2108020X100B钢制5480M2025136362010010 根据要求
27790-2108020X150B钢制5480M2025186362015010 根据要求
27790-2108020X200B钢制5480M2025236362020010 根据要求
27790-2108020X75B钢制5480M202511136207510 根据要求
27790-2108024X100B钢制5480M2425136362410010 根据要求
27790-2108024X150B钢制5480M2425186362415010 根据要求
27790-2108024X200B钢制5480M2425236362420010 根据要求
27790-2108024X75B钢制5480M242511136247510 根据要求
27790-2110016X100B钢制69100M1628137,537,51610015 根据要求
27790-2110016X150B钢制69100M1628187,537,51615015 根据要求
27790-2110016X200B钢制69100M1628237,537,51620015 根据要求
27790-2110016X75B钢制69100M1628112,537,5167515 根据要求
27790-2110020X100B钢制69100M2028138,538,52010015 根据要求
27790-2110020X150B钢制69100M2028188,538,52015015 根据要求
27790-2110020X200B钢制69100M2028238,538,52020015 根据要求
27790-2110020X250B钢制69100M2028288,538,52025015 根据要求
27790-2110020X75B钢制69100M2028113,538,5207515 根据要求
27790-2110024X100B钢制69100M2428138,538,52410015 根据要求
27790-2110024X150B钢制69100M2428188,538,52415015 根据要求
27790-2110024X200B钢制69100M2428238,538,52420015 根据要求
27790-2110024X250B钢制69100M2428288,538,52425015 根据要求
27790-2206010X100B不锈钢4560M102213232141007 根据要求
27790-2206010X125B不锈钢4560M102215732141257 根据要求
27790-2206010X50B不锈钢4560M1022823214507 根据要求
27790-2206010X75B不锈钢4560M10221073214757 根据要求
27790-2206012X100B不锈钢4560M122213232141007 根据要求
27790-2206012X125B不锈钢4560M122215732141257 根据要求
27790-2206012X150B不锈钢4560M122218232141507 根据要求
27790-2206012X50B不锈钢4560M1222823214507 根据要求
27790-2206012X75B不锈钢4560M12221073214757 根据要求
27790-2206014X100B不锈钢4560M142213232141007 根据要求
27790-2206014X125B不锈钢4560M142215732141257 根据要求
27790-2206014X150B不锈钢4560M142218232141507 根据要求
27790-2206014X175B不锈钢4560M142220732141757 根据要求
27790-2206014X75B不锈钢4560M14221073214757 根据要求
27790-2206016X100B不锈钢4560M162213535131007 根据要求
27790-2206016X125B不锈钢4560M162216035131257 根据要求
27790-2206016X150B不锈钢4560M162218535131507 根据要求
27790-2206016X175B不锈钢4560M162221035131757 根据要求
27790-2206016X200B不锈钢4560M162223535132007 根据要求
27790-2206016X75B不锈钢4560M16221103513757 根据要求
27790-2206020X100B不锈钢4560M202213535171007 根据要求
27790-2206020X125B不锈钢4560M202216035171257 根据要求
27790-2206020X150B不锈钢4560M202218535171507 根据要求
27790-2206020X175B不锈钢4560M202221035171757 根据要求
27790-2206020X200B不锈钢4560M202223535172007 根据要求
27790-2206020X225B不锈钢4560M202226035172257 根据要求
27790-2206020X250B不锈钢4560M202228535172507 根据要求
27790-2206020X75B不锈钢4560M20221103517757 根据要求
27790-2208010X100B不锈钢5480M1025135351410010 根据要求
27790-2208010X125B不锈钢5480M1025160351412510 根据要求
27790-2208010X50B不锈钢5480M10258535145010 根据要求
27790-2208010X75B不锈钢5480M102511035147510 根据要求
27790-2208012X100B不锈钢5480M1225135351410010 根据要求
27790-2208012X125B不锈钢5480M1225160351412510 根据要求
27790-2208012X150B不锈钢5480M1225185351415010 根据要求
27790-2208012X50B不锈钢5480M12258535145010 根据要求
27790-2208012X75B不锈钢5480M122511035147510 根据要求
27790-2208014X100B不锈钢5480M1425135351410010 根据要求
27790-2208014X125B不锈钢5480M1425160351412510 根据要求
27790-2208014X150B不锈钢5480M1425185351415010 根据要求
27790-2208014X175B不锈钢5480M1425210351417510 根据要求
27790-2208014X75B不锈钢5480M142511035147510 根据要求
27790-2208016X100B不锈钢5480M1625135351310010 根据要求
27790-2208016X125B不锈钢5480M1625160351312510 根据要求
27790-2208016X150B不锈钢5480M1625185351315010 根据要求
27790-2208016X175B不锈钢5480M1625210351317510 根据要求
27790-2208016X200B不锈钢5480M1625238381320010 根据要求
27790-2208016X75B不锈钢5480M162511035137510 根据要求
27790-2208020X100B不锈钢5480M2025138381710010 根据要求
27790-2208020X125B不锈钢5480M2025163381712510 根据要求
27790-2208020X150B不锈钢5480M2025188381715010 根据要求
27790-2208020X175B不锈钢5480M2025213381717510 根据要求
27790-2208020X200B不锈钢5480M2025238381720010 根据要求
27790-2208020X225B不锈钢5480M2025263381722510 根据要求
27790-2208020X250B不锈钢5480M2025288381725010 根据要求
27790-2208020X75B不锈钢5480M202511338177510 根据要求
27790-2208024X100B不锈钢5480M2425140402010010 根据要求
27790-2208024X125B不锈钢5480M2425165402012510 根据要求
27790-2208024X150B不锈钢5480M2425190402015010 根据要求
27790-2208024X175B不锈钢5480M2425215402017510 根据要求
27790-2208024X200B不锈钢5480M2425240402020010 根据要求
27790-2208024X225B不锈钢5480M2425265402022510 根据要求
27790-2208024X250B不锈钢5480M2425290402025010 根据要求
27790-2208024X75B不锈钢5480M242511540207510 根据要求
27790-2210016X100B不锈钢69100M1628142421310015 根据要求
27790-2210016X125B不锈钢69100M1628167421312515 根据要求
27790-2210016X150B不锈钢69100M1628192421315015 根据要求
27790-2210016X175B不锈钢69100M1628217421317515 根据要求
27790-2210016X200B不锈钢69100M1628242421320015 根据要求
27790-2210016X75B不锈钢69100M162811742137515 根据要求
27790-2210020X100B不锈钢69100M2030143431710015 根据要求
27790-2210020X125B不锈钢69100M2030168431712515 根据要求
27790-2210020X150B不锈钢69100M2030193431715015 根据要求
27790-2210020X175B不锈钢69100M2030218431717515 根据要求
27790-2210020X200B不锈钢69100M2030243431720015 根据要求
27790-2210020X225B不锈钢69100M2028267421722515 根据要求
27790-2210020X250B不锈钢69100M2028292421725015 根据要求
27790-2210020X75B不锈钢69100M203011843177515 根据要求
27790-2210024X100B不锈钢69100M2430144442010015 根据要求
27790-2210024X125B不锈钢69100M2430169442012515 根据要求
27790-2210024X150B不锈钢69100M2430194442015015 根据要求
27790-2210024X175B不锈钢69100M2430219442017515 根据要求
27790-2210024X200B不锈钢69100M2430244442020015 根据要求
27790-2210024X225B不锈钢69100M2428269442022515 根据要求
27790-2210024X250B不锈钢69100M2428294442025015 根据要求

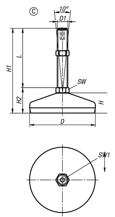
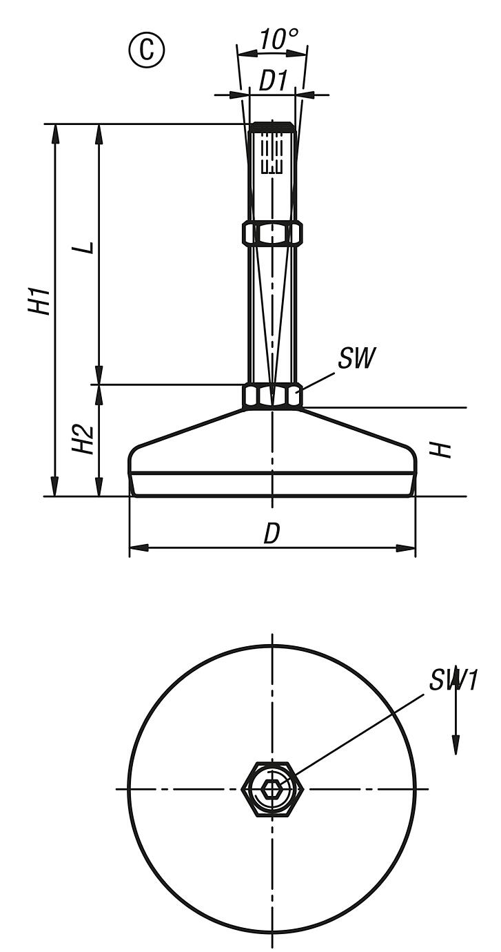
钢制或不锈钢制调节脚,C 型

更多信息

图纸

钢制或不锈钢制调节脚,C 型

商品选择/筛选

订货号类型主体
材料
D

D1HH1H2SWSW1L负载能力
max. kN
(静态负载)
CAD配件价格订购
27790-3105010X50C钢制50M10197929145504 根据要求
27790-3105012X50C钢制50M12197929146504 根据要求
27790-3105012X100C钢制50M1219129291461004 根据要求
27790-3105016X75C钢制50M161910429168754 根据要求
27790-3105016X100C钢制50M1619129291681004 根据要求
27790-3105016X150C钢制50M1619179291681504 根据要求
27790-3106010X50C钢制60M10228232145507 根据要求
27790-3106012X50C钢制60M12228232146507 根据要求
27790-3106012X100C钢制60M1222132321461007 根据要求
27790-3106016X75C钢制60M162210833168757 根据要求
27790-3106016X100C钢制60M1622133331681007 根据要求
27790-3106016X150C钢制60M1622183331681507 根据要求
27790-3108016X100C钢制80M16251353516810010 根据要求
27790-3108016X150C钢制80M16251853516815010 根据要求
27790-3108020X75C钢制80M20251113620107510 根据要求
27790-3110020X100C钢制100M2028138,538,5201010015 根据要求
27790-3110020X150C钢制100M2028188,538,5201015015 根据要求
27790-3110024X200C钢制100M2428238,538,5241020015 根据要求
27790-3112020X100C钢制120M2032142,542,5201010030 根据要求
27790-3112020X150C钢制120M2032192,542,5201015030 根据要求
27790-3112020X200C钢制120M2032242,542,5201020030 根据要求
27790-3112024X100C钢制120M2432142,542,5241010030 根据要求
27790-3112024X150C钢制120M2432192,542,5241015030 根据要求
27790-3112024X200C钢制120M2432242,542,5241020030 根据要求
27790-3112030X100C钢制120M3032143,543,5301010030 根据要求
27790-3112030X150C钢制120M3032193,543,5301015030 根据要求
27790-3112030X200C钢制120M3032243,543,5301020030 根据要求
27790-3205010X50C不锈钢50M10197929145504 根据要求
27790-3205012X50C不锈钢50M12197929146504 根据要求
27790-3205012X100C不锈钢50M1219129291461004 根据要求
27790-3205016X75C不锈钢50M161910429138754 根据要求
27790-3205016X100C不锈钢50M1619129291381004 根据要求
27790-3205016X150C不锈钢50M1619179291381504 根据要求
27790-3205016X200C不锈钢50M1619229291382004 根据要求
27790-3206010X50C不锈钢60M10228232145507 根据要求
27790-3206012X50C不锈钢60M12228232146507 根据要求
27790-3206012X100C不锈钢60M1222132321461007 根据要求
27790-3206016X75C不锈钢60M162210833138757 根据要求
27790-3206016X100C不锈钢60M1622133331381007 根据要求
27790-3206016X150C不锈钢60M1622183331381507 根据要求
27790-3206016X200C不锈钢60M1622233331382007 根据要求
27790-3208016X75C不锈钢80M1625110351387510 根据要求
27790-3208016X100C不锈钢80M16251353513810010 根据要求
27790-3208016X125C不锈钢80M16251603513812510 根据要求
27790-3208016X150C不锈钢80M16251853513815010 根据要求
27790-3208016X175C不锈钢80M16252103513817510 根据要求
27790-3208020X75C不锈钢80M20251133817107510 根据要求
27790-3208020X200C不锈钢80M202523838171020010 根据要求
27790-3210020X150C不锈钢100M203019343171015015 根据要求
27790-3212020X100C不锈钢120M203214343171010030 根据要求
27790-3212020X150C不锈钢120M203219444171015030 根据要求
27790-3212020X200C不锈钢120M203224444171020030 根据要求
27790-3212024X100C不锈钢120M243214545201010030 根据要求
27790-3212024X150C不锈钢120M243219545201015030 根据要求
27790-3212024X200C不锈钢120M243224545201020030 根据要求
27790-3212030X100C不锈钢120M303214747261010030 根据要求
27790-3212030X150C不锈钢120M303219747261015030 根据要求
27790-3212030X200C不锈钢120M303224747261020030 根据要求

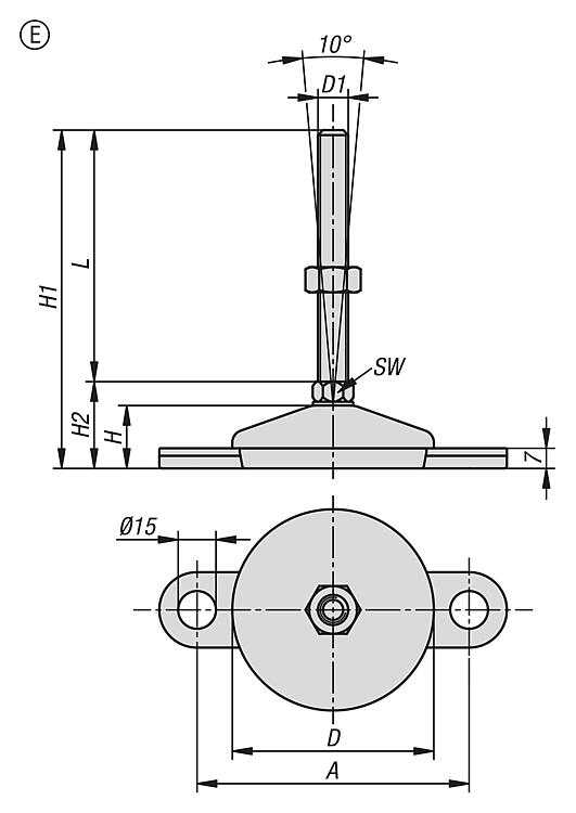
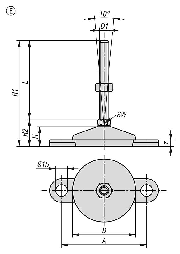
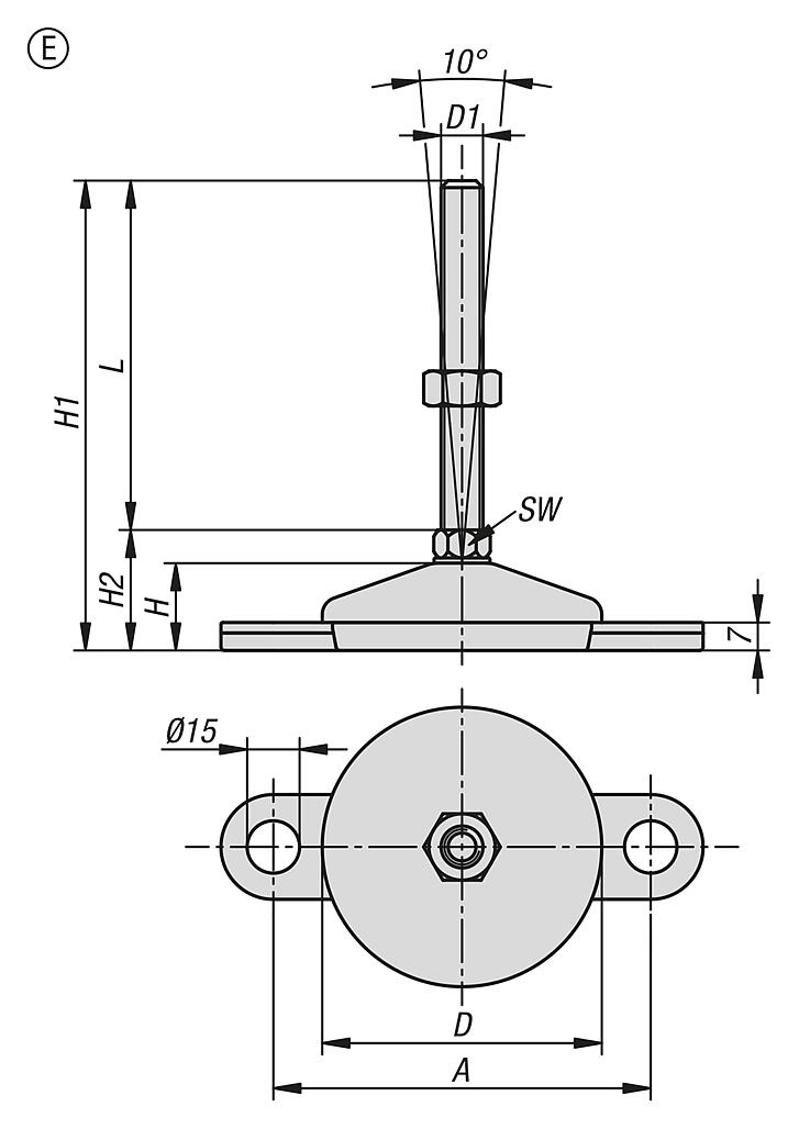
钢制或不锈钢制调节脚
E 型

更多信息

图纸

钢制或不锈钢制调节脚
E 型

商品选择/筛选

订货号类型主体
材料
D

D1HH1H2SWL负载能力
max. kN
(静态负载)
CAD配件价格订购
27790-5206010X100E不锈钢60M102213232141007 根据要求
27790-5206010X125E不锈钢60M102215732141257 根据要求
27790-5206010X50E不锈钢60M1022823214507 根据要求
27790-5206010X75E不锈钢60M10221073214757 根据要求
27790-5206012X100E不锈钢60M122213232141007 根据要求
27790-5206012X125E不锈钢60M122215732141257 根据要求
27790-5206012X50E不锈钢60M1222823214507 根据要求
27790-5206012X75E不锈钢60M12221073214757 根据要求
27790-5206014X100E不锈钢60M142213232141007 根据要求
27790-5206014X125E不锈钢60M142215732141257 根据要求
27790-5206014X150E不锈钢60M142218232141507 根据要求
27790-5206014X175E不锈钢60M142220732141757 根据要求
27790-5206014X75E不锈钢60M14221073214757 根据要求
27790-5206016X100E不锈钢60M162213535131007 根据要求
27790-5206016X125E不锈钢60M162216035131257 根据要求
27790-5206016X150E不锈钢60M162218535131507 根据要求
27790-5206016X175E不锈钢60M162221035131757 根据要求
27790-5206016X200E不锈钢60M162223535132007 根据要求
27790-5206016X75E不锈钢60M16221103513757 根据要求
27790-5206020X100E不锈钢60M202213535171007 根据要求
27790-5206020X125E不锈钢60M202216035171257 根据要求
27790-5206020X150E不锈钢60M202218535171507 根据要求
27790-5206020X175E不锈钢60M202221035171757 根据要求
27790-5206020X200E不锈钢60M202223535172007 根据要求
27790-5206020X225E不锈钢60M202226035172257 根据要求
27790-5206020X250E不锈钢60M202228535172507 根据要求
27790-5206020X75E不锈钢60M20221103517757 根据要求
27790-5208010X100E不锈钢80M1025135351410010 根据要求
27790-5208010X125E不锈钢80M1025160351412510 根据要求
27790-5208010X50E不锈钢80M10258535145010 根据要求
27790-5208010X75E不锈钢80M102511035147510 根据要求
27790-5208012X100E不锈钢80M1225135351410010 根据要求
27790-5208012X125E不锈钢80M1225160351412510 根据要求
27790-5208012X50E不锈钢80M12258535145010 根据要求
27790-5208012X75E不锈钢80M122511035147510 根据要求
27790-5208014X100E不锈钢80M1425135351410010 根据要求
27790-5208014X125E不锈钢80M1425160351412510 根据要求
27790-5208014X150E不锈钢80M1425185351415010 根据要求
27790-5208014X175E不锈钢80M1425210351417510 根据要求
27790-5208014X75E不锈钢80M142511035147510 根据要求
27790-5208016X100E不锈钢80M1625138381310010 根据要求
27790-5208016X125E不锈钢80M1625163381312510 根据要求
27790-5208016X150E不锈钢80M1625188381315010 根据要求
27790-5208016X175E不锈钢80M1625213381317510 根据要求
27790-5208016X200E不锈钢80M1625238381320010 根据要求
27790-5208016X75E不锈钢80M162511338137510 根据要求
27790-5208020X100E不锈钢80M2025138381710010 根据要求
27790-5208020X125E不锈钢80M2025163381712510 根据要求
27790-5208020X150E不锈钢80M2025188381715010 根据要求
27790-5208020X175E不锈钢80M2025213381717510 根据要求
27790-5208020X200E不锈钢80M2025238381720010 根据要求
27790-5208020X225E不锈钢80M2025263381722510 根据要求
27790-5208020X250E不锈钢80M2025288381725010 根据要求
27790-5208020X75E不锈钢80M202511338177510 根据要求
27790-5208024X100E不锈钢80M2425140402010010 根据要求
27790-5208024X125E不锈钢80M2425165402012510 根据要求
27790-5208024X150E不锈钢80M2425190402015010 根据要求
27790-5208024X175E不锈钢80M2425215402017510 根据要求
27790-5208024X200E不锈钢80M2425240402020010 根据要求
27790-5208024X225E不锈钢80M2425265402022510 根据要求
27790-5208024X250E不锈钢80M2425290402025010 根据要求
27790-5208024X75E不锈钢80M242511540207510 根据要求
我的 norelemE-Mail密码
购物车
商品数量: 0
总数: 0.00  
点击购物车
欢迎扫描二维码
咨询诺瑞朗官方客服微信
中国
苏ICP备20011289号-1  苏公网安备32058502011222 网页地图 打印 推荐 Top
Copyright © 2025 norelem. 保留所有权利。 电话 +49 71 45/206-44 至 45 · 传真 +49 71 45/206-83