norelem 使用 Cookies 以优化设计和持续改进网页。您通过继续使用网页,同意使用 Cookies。在我们的数据保护声明中可以找到有关 Cookies 主题的详细信息。同意
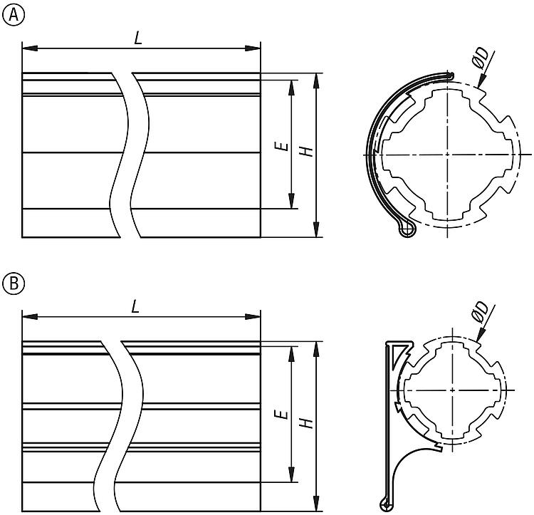
铭牌载体 Ø30 I 型自贴型,不干胶
10910-02

铭牌载体 Ø30 I 型自贴型,不干胶

返回

在线配置器

产品搜索铭牌载体 Ø30 I 型自贴型,不干胶
您可以使用产品搜索快速、有针对性地找到您所需的产品。
请在下方红色标记的下拉菜单中按步骤选择所需参数。

随后可直接将商品放入购物车并订购。
下载此处为收集信息的 PDF:

查找 CAD 数据?请直接在产品列表中查找。
 Datasheet 10910-02 铭牌载体 Ø30 I 型自贴型,不干胶 205 kB

请您选择所需参数

类型
CAD配件价格订购
 根据要求
 根据要求

图纸

铭牌载体 Ø30 I 型自贴型,不干胶
我的 norelemE-Mail密码
购物车
商品数量: 0
总数: 0.00  
点击购物车
欢迎扫描二维码
咨询诺瑞朗官方客服微信
中国
苏ICP备20011289号-1  苏公网安备32058502011222 网页地图 打印 推荐 Top
Copyright © 2025 norelem. 保留所有权利。 电话 +49 71 45/206-44 至 45 · 传真 +49 71 45/206-83