norelem 使用 Cookies 以优化设计和持续改进网页。您通过继续使用网页,同意使用 Cookies。在我们的数据保护声明中可以找到有关 Cookies 主题的详细信息。同意
鲍登电缆分配器 用于配有遥控装置的锁紧柱塞
03096-50

鲍登电缆分配器 用于配有遥控装置的锁紧柱塞

返回

商品描述/产品说明

产品说明产品描述:鲍登电缆分配器可用于组合三根鲍登电缆。例如,只需一个控制机构即可操作两个锁紧柱塞。由于采用了可逆的插入式选项,一个锁紧柱塞也可由两个控制机构操作。您只需拉动两个控制机构中之一,即可啮合锁紧柱塞。

两个沉头螺钉固定孔可以灵活安装。由于外壳宽度和固定孔位置,可以使用 M8 型槽螺母顺利安装在 40 mm 的铝制型材上。
材料:外壳和滑块均为热塑性塑料。
黄铜调节螺丝和螺纹接线柱。
不锈钢六角螺母和外壳螺丝。
订购须知:带远程控制功能的锁紧柱塞和控制机构必须另行订购。
控制机构和电缆分配器之间的鲍登线必须另行订购。
提示:安装鲍登索时,请注意以下事项:
索裸端的长度可因敷设角度、曲率半径这些因素而发生变化。因此支座(索套)的长度必须根据鲍登索的敷设情况借助随附的调节螺丝进行调节。同时通过调节螺丝调节鲍登索系统的预紧力。
敷设时需特别注意,切勿低于最小曲率半径,本例为 R = 65 mm。半径太紧可导致磨损增加,增加摩擦。
安装时也需避免短时间的低于最小曲率半径,否则可导致索套损坏。此外,索套仅为吸收压应力之用。过度拉紧可撑大内部螺旋线导致永久性损坏。
装配:打开外壳,用沉头螺钉将下部安装到预定位置。引导鲍登电缆穿过调节螺丝,并将其钩到线缆分配器的滑块上。为此,可选择使用随附的螺纹接线柱。使用调节螺丝调节鲍登电缆间隙。安装外壳盖,并用随附的螺钉固定。铺设和固定电缆后,必须对鲍登电缆间隙进行最后调整。供货范围外壳线缆分配器,滑块。
3 个调节螺丝 M6 x 34 mm。
6 个六角螺母 M6。
2 个螺纹接线柱 Ø5 x 7 mm。
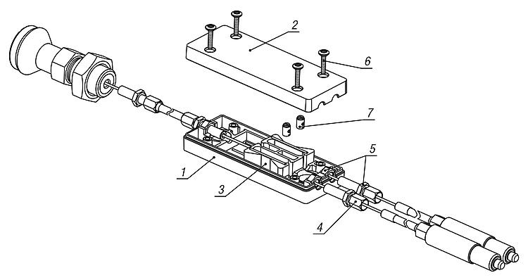
图纸提示:
1) 外壳下部
2) 外壳上部
3) 滑块
4) 调节螺丝
5) 锁紧螺母
6) 螺纹成型螺钉
7) 螺纹接线柱
特点:
RoHS
下载此处为收集信息的 PDF:

查找 CAD 数据?请直接在产品列表中查找。
 Datasheet 03096-50 鲍登电缆分配器 用于配有遥控装置的锁紧柱塞 474 kB

图纸

鲍登电缆分配器 用于配有遥控装置的锁紧柱塞
鲍登电缆分配器 用于配有遥控装置的锁紧柱塞

商品选择/筛选

订货号ABB1B2D

D1D2HH1LL1SW1SW2行程
S
CAD配件价格订购
03096-50-306240101774020146,637201011011,581024 根据要求
我的 norelemE-Mail密码
购物车
商品数量: 0
总数: 0.00  
点击购物车
欢迎扫描二维码
咨询诺瑞朗官方客服微信
中国
苏ICP备20011289号-1  苏公网安备32058502011222 网页地图 打印 推荐 Top
Copyright © 2025 norelem. 保留所有权利。 电话 +49 71 45/206-44 至 45 · 传真 +49 71 45/206-83